.
Site categories
1/ Help
:

SETS (Seafarer Evaluation Training System) Test Online for Seamen on EO6 – Operate Alternators and Generators

Join Our Telegram (Seaman Community)

Welcome to the website where you can pass online the SETS test on the subject «EO6 – Operate Alternators and Generators». Practice like this will help you as a marine specialist improve your knowledge with the help of online studying and appraisal practice. SETS based on practical information and marine specialists experience.

SETS tests developed for evaluating seaman basic knowledge by company “Naval Education Services” is an evaluating online-tool, used for revealing any professional preparation needed in specific fields of knowledge, defined by STCW Section A-V/1-2.

SETS tests have proven themselves as good tools for the selection and recruitment process, as well as advancing the level of knowledge of the current officers and crew.

Current test contains SETS questions in area «Operate Alternators and Generators». Those questions can be used for competence verification specialist capable of preventing accidental situations related with transporting safety, or also for self-examination.

«Operate Alternators and Generators» subject includes theoretical and practical information about advanced training for work on any type of vessel. This comprehensive assessment evaluates a candidate’s knowledge and competency in operating marine alternators and generators. The test requires a thorough understanding of different generator types, their construction and their specific applications across various vessel power systems. A significant portion focuses on safe start-up, parallel operation, load sharing and shutdown procedures for multiple generator sets. Candidates must demonstrate the ability to diagnose and respond to common faults, such as voltage or frequency fluctuations and implement corrective actions. Practical components of the exam assess skills in synchronizing generators manually and using automatic systems, as well as managing load transfer. The assessment includes scenarios on managing generator operation during emergency conditions and blackout recovery procedures. Knowledge of routine maintenance schedules, critical parameter monitoring and interpreting alarm systems is rigorously examined. Success in this test verifies the advanced operational proficiency needed to ensure a reliable and stable electrical power supply on board any vessel.

On this site SETS on the subject «Operate Alternators and Generators» contains 170 questions you need to answer with no possibility to go back to previous question. Therefore, we recommend carefully reading each question and making decision with no hurry. In case you have some difficulty answering, you have also possibility to request a hint.

Choose the regime, in which you want to pass SETS test:

Training - SETS test
Training

Exam - SETS test
Exam

Wild Mode
* Some questions may have more than 1 correct answer.

“SETS test” finished! Your result:
Correct answers:

Use the search below to find question.

Amount of questions: 170.

Right answers marked with this sign .

How is the direction of rotation changed in an asynchronous motor?
By switching all three connections on the motor terminal.
By switching two of the three connections on the motor terminal.
The direction of rotation cannot be changed.
By reversing the frequency.
A current clamp meter is clipped around a cable supplying a balanced three phase motor working at full load. The motor is rated to consume 100 A. What will the meter show?
100 Amps.
33,3 Amps.
0 Amps.
110 Amps.
The ship’s insulation meter indicates a low resistance in the electrical distribution system, which of these is the most likely cause.
The armature of a switched off AC motor has short circuited.
The TV aerial in the mess room has short circuited.
A connection box has been filled with salt water.
The emergency generator which is currently on stand-by has been splashed with salt water.
What type of equipment is this symbol showing?

A DC series motor

A DC series motor.
An AC shunt motor.
A DC shunt motor.
A DC combined shunt and series motor.
What type of equipment is represented by this symbol?

A shunt motor

A DC series motor.
A DC combined shunt and series motor.
A compound motor.
A shunt motor.
What is the purpose of a “Y/Delta” starter?
To start either a D or an Y connected motor.
To regulate large AC motors.
To reduce the starting current in large AC motors.
To reduce the start time for an AC motor.
What will happen when push-button 2 is pressed?

Electrical scheme

The relay coil A will activate as long at the button is pressed.
The switch T will cause the coil to de-activate.
The bulb L will give a pulsating light.
The relay coil A will activate and remain activated even after the button 2 has been released.
What is the purpose of a Tacho generator?
To measure impedance.
To measure revolutions per minute (RPM).
To measure the direction of shaft rotation.
To measure the relationship between impedance and frequency.
Two generators are running in parallel. Generator one is delivering 300 Amps more than the second generator. What is the best course of action?
Adjust the excitation of the two generators to bring them level.
Adjust the speed of one generator.
Replace the AVR of the generator which has the highest current output.
Adjust the speed of both generators.
What would be the correct setting of the current relay for a three phase induction motor?
At the rated current.
At 5-15 % over the rated current.
At 200 % of the rated current.
At 10 % below the rated current.
A motor controlled by thyristors is to be tested. What precautions would you take?
Remove all printed circuit cards from the control system and megger test.
Test the motor in the manual manner using a megger.
Disconnect all cables to the motor.
Use an “AVO” meter instead of a “Megger” for the test.
An electrical three phase motor connected to a pump repeatedly trips on the “over current” relay, What action would you take?
Increase the current setting on the “over current” relay.
Replace the “over current” relay.
Stop the motor and check the electrical and mechanical function.
Cool down the motor with a portable electric fan.
When two generators are being manually synchronized, when should the circuit breaker be closed?
When the synchroscope indicator is rotating slowly anti-clockwise and at 11 o’clock position.
When the synchroscope indicator is rotating slow and at 3 o’clock position.
When the synchroscope indicator is rotating slowly clockwise and at 11 o’clock position.
When the synchroscope indicator is rotating fast and at 12 o’clock position.
A six pole 50 Hz three phase induction motor has a full load at 950 rpm. What will the speed of the motor be at half load?
1 900 rpm.
475 rpm.
1 000 rpm.
975 rpm.
The torque developed by a three phase induction motor is dependent on which of the following?
Its speed, frequency and number of poles.
Its voltage, current and impedance.
Its synchronous speed, rotor speed and frequency.
Its rotor emf, current and power factor.
Why should a stationary alternator not be connected to live bus bars?
Because the alternator is likely to run as a motor.
Because the bus bars will be short circuited.
Because the alternator will decrease the bus bar voltage.
Because the voltage of other alternators may fluctuate.
Before starting any maintenance on an electrical motor what should you do?
Switch off the main switch for the motor and remove the fuses.
Inform the duty engineer what you are working on.
Hang a sign on the main switchboard to indicate that the motor should not be started.
All of these.
Complete the sentence. A series-wound generator has the field windings in series with its:
Armature.
Brushes.
Commutator.
Field poles.
Sparking and grooving of the commutator in a DC motor may be caused by:
Current overload.
The wrong types of brushes.
The strength of the field.
Any of these.
The voltage in a 60 Hz AC generator is adjusted by:
The number of poles.
The speed of the engine of the generator.
The magnetic field strength.
The number of series conductors.
DC generators are rated in:
KwA.
HP.
KVA.
KW.
AC generators are rated in:
KVA.
KwA.
Kw.
HP.
What is the function of the voltage regulator fitted to AC generators operating in parallel?
To cut in generators automatically as they are needed.
To divide the KVA load equally between all connected generators.
To cut out generators not needed because of reduction in load.
To divide the reactive current equally between the generators.
The failure of an AC generator to pick up voltage may be caused by:
A tripped bus circuit breaker.
Excessive prime mover speed.
Failure of the exciter.
The generator’s rotating speed is 10 % below rated.
What is the first step when removing a generator from parallel operation with other generators?
Trip off the generator from the switchboard.
Remove the load from the generator to be stopped.
Switch off all connected loads.
Increase the cycles of the generator(s) which remain on the line.
What units are used to measure back EMF?
Volts.
Ohms.
Ampere.
Farads.
An earth fault on an electrical motor can be defined as an electrical connection between its wiring and its:
Circuit breaker.
Shunt field.
Metal frame work.
Fuse.
What is the purpose of the reverse power relay connected to an AC diesel generator?
To prevent main circuit overload.
To prevent over speeding.
To maintain good load sharing.
To prevent the generator being run as a motor.
What type of instrument can be used to locate an earthed field coil in a synchronous motor?
A voltmeter.
A frequency meter.
A wheatstone bridge.
An ohmeter.
What is the purpose of the parts circled in red?

Electrical engine

To assist the motor cooling.
Ventilation slots.
To assist induction currents.
To dispense with the cooling fan.
What is the purpose of the part circled in red?

Electrical engine

To access the windings.
To show the markings of the motor.
The air cooling inlet.
To house the terminals.
What is the purpose of the component number 5?

Electrical engine

To ensure smooth speed pick-up.
Motor cooling.
To absorb vibration.
To balance the motor.
What is component number 2?

Electrical engine

The permanent magnet.
The starter winding.
The stator winding.
The rotor winding.
What is the function of component number 6?

Electrical engine

To ensure correct balancing of the rotor.
To seal the motor internals.
To provide ventilation.
To locate the bearing.
For what type of load would a star/delta starter be employed?
A centrifugal pump.
A small compressor.
An air start compressor.
For very heavy loads composed of resistors.
What can happen if only one generator is connected to the mains and several large fans are started at the same time?
The lights may be a dimmed a little.
The exhaust temperature of the auxiliary engine will raise.
The generator may trip on overload.
Nothing special.
Why is synchronization required when one alternator is to be paralelled with another?
If not, the electrical net voltage may be out of phase after the generators have been connected.
Two generators which are not synchronized cannot be connected.
If two unsynchronized generators are connected, both the diesel prime mover and the generator can be damaged.
The overall insulation resistance can go down if no synchronization is carried out.
Can the speed of an asynchronous motor be regulated?
No, because the windings are not designed for that.
Yes, if a thyristor regulator is used.
Yes, using resistors in series with the stator winding.
No, because speed can only be regulated by adjusting the voltage of the rotor winding.
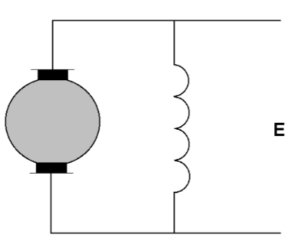
In these circuits current I1 and I2 are the same and all resistors R have the same value. In which circuit will the voltage be greater?

Electrical scheme

Circuit 1.
Circuit 2.
They have the same voltage.
Voltage will remain the same bu the current will vary.
What are items F indicating in this starting box drawing?

Electrical scheme

The phase terminals.
The fuses.
The front switch.
The front connectors.
What do items C represent in this starter diagram?

Electrical scheme

Contacts.
Relays.
Overloads.
Transformers.
What could item D represent in this electric starting diagram?

Electrical scheme

A pressostat.
A thermostat.
A level switch.
Any of the these.
When will the left hand lamp “L” illuminate? (Assume there is no defect in the installation).

Electrical scheme

When the engine is stopped.
When the engine is running.
When the main breaker is switched on.
When an overload/trip occurs.
What are items “E” in this starting circuit diagram?

Electrical scheme

A low voltage relay.
A short-circuit trip.
An overload relay / stop button.
A reverse current trip.
What are the items marked “PM” in this electric starter diagram?

Electrical scheme

Start position switches.
Start push buttons.
Stop push buttons.
Stop position switches.
What are the items “PP” indicated in this electric starting diagram?

Electrical scheme

Start relays.
Stop relays.
Start push buttons.
Stop position switches.
What does item “C” indicate in this electrical starting circuit?

Electrical scheme

The main contactor.
The auxiliary contactor.
A thermal relay.
The overload.
What does item “RT” represent in this schematic electrical starting diagram?

Electrical scheme

The time relay.
The overload relay.
The measuring relay.
The signalling relay.
What are the electric power suppliers on board this ship?

Electrical scheme

440 Volt and 220 Volt.
Electric motors and lighting circuits.
2 Main Diesels, 1 Emergency Diesel, 1 Turboalternator.
4 x alternators, 2 x transformers.
What is the meaning of item “CP” in this ship’s electric plant diagram?

Electrical scheme

Control panel.
Switch panel.
Main switchboard.
Control room.
What does item “CE” stands for in this ship’s electric plant drawing?

Electrical scheme

Control equipment power.
Central emergency station.
Common energy lighting distributor.
Emergency Switchboard.
Where is the shore power supply line to be connected to supply this ship’s electric plant?

Electrical scheme

On CP.
On CE.
On TT.
On T.
What are the items “CD” shown in this ship’s electric plant diagram?

Electrical scheme

Distribution panels.
Transformers.
Control desks.
Starting boxes.
What possibilities exist to supply power via direct connection to the Emergency Switchboard.

Electrical scheme

1) Supply by main diesel engines. 2) Supply by emergency diesel.
1) Supply by main switchboard. 2) Supply by emergency diesel.
1) Supply by shore power. 2) Supply by main switchboard.
1) Supply by shore power. 2) Supply by main switchboard.
What are items “T” shown in this ships electric plant schematic diagram?

Electrical scheme

Terminal boxes.
Transit line connector units.
Transformers.
Thyristor converters.
The Main as well as the Emergency switchboard are panels where the electric power is:

Electrical scheme

Generated as distributed.
Fed into and distributed to the motors via starting boxes.
Monitored and supplied via distributors.
Fed into, monitored and supplied to the consumers.
In which part of a large alternator is the electric power produced?
In the excitator.
In the sliprings.
In the rotor.
In the stator.
How is the voltage output of an alternator controlled?
By the alternator speed.
By the excitation current in the rotor.
By the excitation current in the stator.
By the resistance bridge in the main switchboard.
How many sliprings with carbon brushes are fitted on the rotor of a separately excited three-phase alternator?
Two.
Four.
Three.
Six.
If an alternator runs at 900 RPM and delivers AC current at 60 Hz, how many pole pairs has this alternator got?
Two.
Four.
Six.
Eight.
The principle of an automatic voltage regulator (AVR) is to produce an excitation current proportional to:
The speed of the alternator.
The output current of the alternator.
The output voltage of the alternator.
The output voltage and the output current of the alternator.
When parallel running alternators, what effects the reactive power of each alternator (kVAR)?
The power throttle of the driving units.
The number of pole pairs of each paralleled alternator.
The excitation current.
The temperature of the windings due to load distribution.
Name the three conditions which must prevail to parallel one alternator with another?
Same current, same type of alternator, same frequency.
Same type alternator, same frequency, frequency in phase.
Voltage equal, frequency equal, voltage in phase.
Voltage equal, current equal, frequency equal.
Which of the following safety devices fitted on the main breaker will trip the alternator if a major cabled line to the distributors should fail and the insulation break through?
The undervoltage relay.
The short circuit protection.
The reverse current trip.
The high/low frequency trip.
If the governor of the driving machine of an alternator malfunctions, which safety device will trip the main switch breaker?
The overload trip.
The reverse current trip.
The undervoltage/overvoltage trip.
The high/low frequency trip.
A breakdown in insulation between a motor winding and the motor frame is called:
An insulation breakdown.
An earth.
A winding breakdown.
A short circuit.
The breakdown in insulation between one or more windings or one or more coils inside an electric motor is called:
An earth.
A winding breakdown.
A short circuit.
An insulation breakdown.
If open circuit and interruption of current continuity occur in the windings of an electric motor it is called:
An earth fault.
A winding breakdown.
An insulation breakdown.
A short circuit.
What happens to the terminal voltage of an alternator producing 440 Volt when it supplies a lagging power factor load, example induction motors?
The terminal voltage will fluctuate around 440 Volt.
The terminal voltage will be exactly 440 Volt.
The terminal voltage will drop below 440 Volt.
The terminal voltage goes above 440 Volt.
Which are the two requirements to make electricity generation possible?
Presence of magnetic flux, relative motion between conductor and flux.
Current to induce flux, rotary movement.
Power to induce magnetic flux, power to rotate.
Current to induce flux, conductor motion cutting flux.
What happens to the characteristics of a 3 phase inductor motor if the applied voltage is slightly reduced?
Current and speed decrease, torque remains constant.
Current and torque decrease, speed remains constant.
Speed and torque decrease, current remains constant.
Speed decreases, current and torque remain constant.
How can the direction of a three phase induction motor can be reversed?
Change the position of the entry cable on all terminals RST.
Change the position of the entry cable on two terminals.
Change the capacitor connection to another line.
Reverse the polarity of the armature.
Arc chutes in circuit breakers are efficient devices for quenching arcs in air because they:
Extinguish the arc and prevent carbon formation.
Isolate the breaker segments so the arc does not blow over.
Control the temperature and molecular structure of the arc.
Confine the arc, control its movement and provide rapid cooling.
What information would you find on the name plate of any electric motor?
Voltage, current, kWatt, frequency, phases, speed, impedance.
Maker, voltage, full load current, power, frequency, phases, speed RPM.
Maker, voltage, horsepower, phases, BIL rating, polarity.
Voltage, current, horsepower, phases and polarity, speed.
What information would you find on the name plate of any industrial transformer?
Power, current, horsepower, ampereage.
Power, voltage, transformation rate, impedance.
Polarity marking, kVA, impedance, voltages, maker.
kVAR rating, voltage, impedance, BIL rating, polarity.
Three motors with full load currents of 15, 40 and 52 Amps each are fed by an unidentified feeder. What is the minimum size of the motor feeder current carrying capacity?
Approx 134 Amps.
Approx 175 Amps.
Approx 235 Amps.
Approx 350 Amps.
A split-phase motor is an induction motor where the magnetic fields are produced by _____ that causes the motor to rotate.
Two permanent magnets.
The shunt and the series windings.
The main and the auxiliary windings.
The three stator windings.
How many watts are there in one horsepower?
720 Watts.
746 Watts.
760 Watts.
860 Watts.
At what percentage of the motor name plate rating can a thermal overload relay be safely set for continuously rated motors with service factor 1,15?
115 %.
140 %.
165 %.
180 %.
What should be the minimum current carrying capacity of branch circuit conductors supplying a single motor?
110 % of the full motor name plate rating.
125 % of the full laoad current name plate rating.
140 % of the full motor name plate rating.
200 % of the full motor name plate rating.
What happens to the terminal voltage of a generator when it supplies a leading power factor load?
It fluctuates.
It remains steady.
It rises.
It falls.
In a Star-connected 3-phase motor:
The line voltage equal to the phase voltage.
The line current is equal to the Phase current.
The phase voltage is higher than the line voltage.
The phase current higher than the line current.
The phase to phase voltage of a Star connected alternator is 254,34 Volt. What is the equivalent line to line voltage?
254,34 Volt.
230 Volt.
147 Volt.
440 Volt.
It is said sometimes that alternators are operating as a load, i. e. as a motor. What are the circumstances for this to occur?
Where parallel operation with deck generator or outside power supply occurs.
Where two generators are running in parallel.
Where three generators are running in parallel.
When the alternator in question has lost prime mover input.
Which is the best way to give an electric motor a complete winding and insulation test?
Megger test each phase separately to earth.
Megger test each phase to phase separately.
Conduct drop (mini-Volt) test on each phase.
All of these.
Give the reason why shore power and ship’s power should never be run in parallel?
Ship’s supply is in STAR, shore supply is in DELTA.
The shore frequency is rigid, the ship’s frequency is not.
No common earth is available.
Voltage drop from shore is different from the ship.
When an electric motor is operated at a higher frequency, it will run ____ and it may be operating ____.
faster ……… in overload.
slower ……… at too high a voltage.
faster ……… at overspeed.
slower ……… with too high a current.
Typically, how many times full load current are motor fuses rated in order to withstand the large starting current?
2-3 times.
5-7 times.
3-5 times.
7-9 times.
If a fault has occurred (shorted, earthed) in an electric motor, you should:
Not replace the fuses if they are not blown.
Replace one fuse if only one is found blown.
Replace two fuses if only two are found blown.
Replace all three fuses, blown or not.
What is the advantage of a fuse over a circuit breaker with regard to short circuit protection?
It is less dangerous since there are no arcs.
It cannot get stuck, no mechanical parts.
The broken fuse is easier to locate.
Its very high speed breaking operation.
For an overload of 25 % of the full rated current how long compared to tripping a circuit breaker would a fuse take to blow?
Very much longer.
Longer.
Lesser.
No difference.
For instantaneous operation of preference overload tripping, at what percentage of the total rated current is the device usually set?
125 %.
120 %.
115 %.
110 %.
How would you initiate a test, if found necessary, to find out if an alternator preference system is working?
By lowering the generator frequency.
By raising the generator frequency.
By raising the alternator voltage.
By lowering the alternator voltage.
What are the functions of the Under Voltage Release Unit on the generator circuit breaker?
It trips the alternator by under voltage.
It disallows breaker to be put on load by under voltage.
It prevents breaker operation in the absence of voltage.
All of these.
If a total short circuit occurs on a 3 phase alternator and the short-circuit trip fails to operate, what back-up safety device will activate?
The preferential trip.
The low frequency trip.
The overspeed trip.
The under voltage trip.
A generator’s Reverse Power protection relay is fitted between:
The breaker connecting bars.
The breaker and the consumers.
The generator and the consumers.
The generator and the bus bars.
How many seconds time delay is considered normal before a generator’s Reverse Trip Relay operates?
1-2 seconds.
3-5 seconds.
5-7 seconds.
7-8 seconds.
How can you monitor the correct instant for synchronising alternators should your synchronising system (synchronoscope or lamps) be defective?
By fitting a voltmeter over one phase.
By fitting lamps over the three phases.
By fitting lamps crossed over two phases.
By fitting two voltmeters crossed over two phases.
When taking over the engine room watch, what should you check in the first place concerning the auxiliary diesels and electric power supply?
That the load, Hertz and Voltage are normal, any other power requirements are in Chief Engineer’s standing orders, number of of generators on load.
That the voltage, the kVA, the kVAR, the amperage and the excitation load are acceptable.
That the diesels are exactly sharing 50 % of the total load if two are running in parallel or 1/3 of the load with three in parallel.
That none of the diesels is running at more than 70 % of the load, if so, an additional diesel to be put in parallel.
When two diesel generator sets are running in parallel during your engine room watch, what should you periodically check?
That both diesels are running at the same speed.
That both diesels have the same voltage and the same frequency.
That both diesels have the same load in kWatt, same reactive load in kVAR, same amperage.
That both diesels have exactly a 50 % share of the active load in kWatt.
When taking over the engine room watch, what should you verify on the electrical main switch board?
The alternator on load, voltage, amperage, power supply, frequency.
The voltage and amperage delivered to the power consumers, the condition of the transformers, the non-essential consumers.
The setting of the non-essential consumer trip system, the setting of the overload system, the actual power as percentage of total capacity available.
Power Generation, power distribution inclusive secondary circuit, any unusual power consumer switched on/off, earth faults main and secondary systems.
When you make a visit to the emergency diesel generator during your engine room watch, what should you look out for?
That the voltage and the frequency displayed on the emergency switch board is the same as on the main switch board.
That the steam heater or electrical heater in the emergency diesel room is switched on.
That the battery charger is not accidentally kept in ON position, that the door of the generator room is always closed behind you.
Radiator fresh water level, oil level in sump tank, preheating temperature of cylinders, charging level of batteries, diesel in stand-by mode.
When an automatic power supply system is provided with an auxiliary diesel stand-by system, and the power supply trips at time ZERO, which of the following is a feasible sequence of activities?
Time zero +10 sec: the stand-by diesel starts. +20 sec: the stand-by diesel runs. +40 sec: the power is restored.
Time zero: the stand-by diesel starts. +7 sec: the stand-by diesel runs, +8 sec: the power is restored.
Time zero +5 sec: the stand-by diesel starts. +10 sec: the stand-by diesel runs. +25 sec: the power is restored.
Time zero +30 sec: he stand-by diesel starts. +45 sec: the stand-by diesel runs. +60 sec : the power is restored.
The best way of testing the “stand-by” function of the emergency diesel alternator is by:
Switching on the “test run” button on the emergency diesel switchboard.
Starting the emergency diesel manually from the spot and check for any leakages or deficiencies.
Causing a total black-out on the ship, for example in drydock or when time is available in port.
By switching off the emergency switch board supply breaker on the main switch board.
In a shunt generator the armature current is 100 Amps and the field current 5 Amps. What is the load current of the generator?
110 Amps.
105 Amps.
100 Amps.
95 Amps.
Why are alternator poles fabricated in laminated form?
For ease of manufacture.
Prevent build up of unwanted eddy currents.
Prevent distortion due to temperature variation.
Makes adjustment of stator weight easier.
Before starting any maintenance on an electrical motor what should you do?
Switch off the main switch and remove fuses for the motor.
Inform the duty engineer not to switch on the motor.
Hang a sign on the main switchboard to indicate that the motor should not be started.
All of these.
If the insulation fails on a major distribution cable, which alternator breaker trip will operate?
The overload trip.
The short circuit protection.
The reverse current trip.
The high/low frequency trip.
What is the purpose of the preference load tripping system?
Disconnect essential equipment before a short circuit can cause damage.
Re-connect essential equipment after a blackout.
To disconnect non-essential equipment in case of generator overload.
To trip the generator before the overload damages the engine.
In the event of total immersion of an electric motor in sea water or oils, what corrective action should you take to make the motor operational again?
Wash with tetrachloride, heat to 80° C and change bearings.
Wash with fresh water, wipe dry and re-varnish windings.
Clean with air, wash with fresh water and heat by lamp.
Wash with tetrachloride, wipe dry and re-varnish windings.
How is the direction of a three-phase induction motor reversed?
Change the position of the entry cable on all terminals RST.
Change the position of the entry cable on two terminals.
Change the capacitor connection to another line.
Reverse the polarity of the armature.
In extreme circumstances what is the allowable max & min voltage tolerance?
90-110 %.
85-120 %.
75-125 %.
70-130 %.
Line to line voltage of a Delta connected 3 phase alternator is found to be 440 Volt. What is the phase voltage?
440 Volt.
220 Volt.
254,33 Volt.
311,13 Volt.
How will you find out if an electric motor has developed an earth fault?
By carrying out a Megger test.
By carrying out a Drop test (mini-volt test).
By carrying out Continuity test (one Ohm range on AVO meter).
By carrying out a Phase balance test.
What determines the speed in a squirrel cage AC motor?
The supply current and Voltage.
The supply current cycles/second.
The number of poles built into the motor.
The supply current cycles/second and the number of poles built into the motor.
The line-to-line current of a Star connected motor is measured at 28 Amps. What is the phase current?
28,0 Amps.
22,72 Amps.
16,18 Amps.
48,44 Amps.
Which area of the DC generator requires the most maintenance?
Switchboard breaker.
Commutator and brushes.
Bearings.
Main field windings.
How many seconds time delay is considered normal before a generator’s Reverse Trip Relay operates?
1-3 seconds.
3-5 seconds.
5-7 seconds.
7-8 seconds.
Where is a generator’s Reverse Power protection relay fitted?
Between the breaker connecting bars.
Between the breaker and the consumers.
Between the generator and the consumers.
Between the generator and the bus bars.
The failure of an AC generator to pick up voltage may be caused by:
A tripped bus circuit breaker.
Excessive prime mover speed.
Failure of the exciter generator.
The generator’s rotating speed is 10 % below rated.
How many slip rings with carbon brushes are fitted on the rotor of a three-phase alternator?
Two.
Four.
Three.
Six.
What is required to generate 50 Hertz using a slow speed prime mover?
Greater excitation current.
Reduced number of poles.
Increased number of poles.
Gearbox to increase the generator speed.
What could cause sparking and grooving of the commutator in a DC motor?
Current overload.
Wrong types of brushes.
The strength of the field.
Any of the other options.
What are ideal conditions for taking Megger test readings of an alternator?
Hot after stopping.
Cooled down to hand-warm.
Cooled down to ambient temperature.
Running.
When a DC generator is short circuited, how is the output voltage affected?
Increases to max.
Falls to zero.
Remains constant.
Drops slightly.
The principle of an automatic voltage regulator (AVR) is to produce an excitation current proportional to what?
The speed of the alternator.
The output current of the alternator.
The output voltage of the alternator.
The output voltage and the output current of the alternator.
What determines the output voltage of an AC alternator?
Number of poles.
Strength of magnetic field.
RPM of the prime mover.
Number of rotor windings.
What are ideal conditions for taking Megger test readings of a motor or alternator?
Hot after stopping.
Cooled down to hand-warm.
Cooled down to ambient temperature.
Running.
With large load change what maintains steady voltage?
Automatic voltage regulator.
Automatic voltage regulator & flywheel.
Flywheel & governor.
Governor & automatic voltage regulator.
What units is the output of DC generators rated in?
KwA.
HP.
KVA.
KW.
When would you undertake resistance tests on an AC motor?
When the motor has reached its normal operating temperature.
When the motor has cooled down after use.
When the motor has been warmed up 5 °C above normal operating temperature.
When the motor has been carefully cleaned.
When synchronising a generator what does clockwise movement of the synchronising dial indicate?
Both generators are running at synchronous speed.
The cycles are the same on the bus bars and incoming generator.
Voltage is the same on both generators.
The incoming generator is running faster than the generator on load.
What is the main disadvantage with main shaft driven alternators?
Limited power output.
Engine speed variation.
Only available at sea.
Low speed limits voltage output.
What method should be used for achieving “reduced voltage starting” for large AC motors?
Star-Delta motor starter.
Auto transformer.
Line resistance starter.
Any of these options.
Why are interpoles fitted to DC generators?
To enable the same size generator to carry more load.
To prevent shaft magnetism.
To counter field distortion.
To prevent burning of the brushes.
In an alternator what effect does increasing the excitation have?
Increases the voltage produced in the conductor.
Increases the cycles/second of the current.
Increases the amperage produced.
Decreases the voltage produced.
In the event of total immersion of an electric motor in sea water what corrective action should you take to make the motor operational again?
Wash with tetrachloride, heat to 80 °C and change bearings.
Wash with fresh water, wipe dry and re-varnish windings.
Clean with air, wash with fresh water and heat by lamp.
Wash with tetrachloride, wipe dry and re-varnish windings.
What is the result if a motor runs at a frequency higher than its designed operating frequency?
It will run faster and be overloaded.
It will run slower and at too high a voltage.
It will run faster and overspeed.
It will run slower with too high a current.
In an alternator, what controls the generated Voltage?
Generator speed.
Number of poles.
Excitation current.
Size of the stator windings.
An unidentified feeder supplies three motors with full load currents of 15, 40 and 52 Amps each. What is the minimum size of the motor feeder in “AMPACITY“?
120 Amps.
175 Amps.
235 Amps.
350 Amps.
In DC generators what effect can be caused by “armature reaction”?
Voltage variation.
Inability of the generator to carry full load.
Arcing at the brushes.
Breakdown of the mica insulation.
A 20 Amp motor operates from a 240 V insulated system. The cable impedance is 0,01 Ohm. What current will flow in case of an earth fault?
0 Amps.
2 400 Amps.
240 Amps.
20 Amps.
What is the purpose of thermistors fitted to motor windings?
Prevent over-speeding.
Protect from overheating.
Short circuit protection.
Prevent high starting current.
The commutator of a DC generator is examined and is found to have a smooth appearance and a dark chocolate colour. What action would you take?
Clean the commutator with emery cloth until the surface is bright and burnished copper.
Change the brushes.
Change the brush springs.
None, this is hoe it should appear.
What determines cycles per second in an AC alternator?
The generator speed.
The number of poles.
The number of conductors.
The generator speed and number of poles.
The kWatt indicator indicates 300 kWatt and the kVAR indicator shows 200 kVAR. What is the Power Factor?
0,766.
0,799.
0,832.
0,864.
What will be the most likely equipment to be disconnected by the preferential trip?
Galley.
General Service pump.
Steering pumps.
Seawater circulating pumps.
What prevents a stationary alternator from being connected to live bus-bars?
No volt trip.
Low cycle trip.
Reverse power trip.
Overload trip.
Which is the best way to give an electric motor a complete winding and insulation test?
Megger test each phase separately to earth.
Megger test each phase to phase separately.
Conduct drop (mini-Volt) test on each phase.
All of these.
How would you initiate a test, if found necessary, to find out if an alternator preference system is working?
By lowering the generator frequency.
By raising the generator frequency.
By raising the alternator voltage.
By lowering the alternator voltage.
How would you test the insulation on an AC motor?
By carrying out a Megger test.
By carrying out a Drop test (mini-volt test).
By carrying out a Continuity test (one Ohm range on AVO meter).
By carrying out a Phase balance test.
What can cause etched or burned bands on the contact faces of brushes in a DC motor?
Copper embedded in the brushes.
Copper drag on the commutator.
High mica segments.
Brushes improperly positioned.
What would be the correct setting of the current relay for a three phase induction motor?
At the rated current.
At 5-15 % over the rated current.
At 33-50 % of the rated current.
At 100 % of the rated current.
In a DC generator, where is the current generated?
In the armature windings.
In the field windings.
In the commutator.
In the shunt windings.
For instantaneous operation of preference overload tripping, at what percentage of the total rated current is the device usually set?
125 %.
120 %.
115 %.
110 %.
The phase current in a Delta connected alternator is found to be 127 A. What is the line current?
73,32 Amps.
127 Amps.
153,52 Amps.
219,97 Amps.
If a cable length 100 m, dia. 1,25 mm has a resistance of 30 Ohm, what length cable of same material with dia. 0,75 mm has a resistance of 25 Ohm?
15 metres.
20 metres.
25 metres.
30 metres.
How is the power output of an alternator controlled?
By the alternator speed.
By the excitation current in the rotor.
By the excitation current in the stator.
By the resistance bridge in the main switchboard.
How is the excitation current transmitted to the rotor?
Generated from within the rotor.
Via a commutator and brushes.
Via slip rings and brushes.
Via the tacho generator.
How many times full load current are motor fuses rated in order to withstand the large starting current?
2-3 times.
5-7 times.
3-5 times.
7-9 times.
If the governor of the driving machine of an alternator malfunctions, which safety device will trip the main breaker?
The overload trip.
The reverse current trip.
The under voltage trip.
The high/low frequency trip.
What will happen when an earth fault occurs on one line of an insulated distribution system?
The line will short circuit with the earth and the line fuse trips.
The system will be in overload and both line fuses trip.
No fuses will trip, the system is isolated from the earth.
The opposite line fuse will trip due to overload.
How much higher than full load current is motor starting current when starting direct on-line?
2 to 3 times.
5 to 7 times.
9 to 12 times.
12 to 15 times.
What units measure counter electromotive force or back EMF?
Volts.
Ohms.
Ampere.
Farads.
Which is true in a Star-connected 3-phase motor?
The line voltage is equal to the phase voltage.
The line current is equal to the phase current.
The phase voltage is higher than the line voltage.
The phase current is higher than the line current.
Which of the following groups of motors are all DC motors?
Series and induction.
Synchronous and compound.
Induction and synchronous.
Shunt, series and compound.
When a DC generator is short circuited, what limits the short circuit current?
There is no limit.
The generator’s internal resistance (ER).
When the cables start melting.
The mechanical size of the switch.
A DC series motor is used to operate a pump driven with a belt, what happens if the belt breaks?
The motor will stop.
The motor will over speed and run out of control.
The motor will slow down.
The motor will continue to run at its original speed.
In a “shunt” DC motor how are the pole windings connected?
In series with the armature.
In parallel with the armature.
Both parallel and in series.
Separately from the armature output.
In a series wound generator what is the connection between field and armature currents?
Series connected.
Shunt connected.
No connection.
Parallel connection.

🤝 Support Our Work

To continue the project, we need your help!
700
130
🚀 Boosty ❤️ Patreon
⭐ Buy Premium 📄 Buy PDF-files with tests
👥 We are supported:
Vitaliy, Gennadiy, Reggae Denz, Elvin Cmi, Paul Jack, Pana
and 26 others
There are also transfers to the card • Thanks to everyone!

Did you find mistake? Highlight and press CTRL+Enter

Verified by
Vladimir Filatov
Chief Officer
About

Senior Mate with 12+ years of experience in the international merchant marine.

  • Development and implementation of navigation and on-board safety plans.
  • Supervising the work of the crew and assisting the captain in managing the vessel.
  • Participation in training of junior crew, ensuring compliance with safety standards.

All materials have been checked by our marine expert.

Personal data is not disclosed for security and contract confidentiality purposes.

December, 17, 2025 502 0
5/5 - (1 vote)
Social Telegram Vk Facebook OK Instagram

Add a comment