Морская среда диктует особые требования к оборудованию, и судовые вентиляторы не являются исключением. Они играют критически важную роль в обеспечении комфортных и Обеспечение безопасности экипажа на танкере-газовозебезопасных условий для экипажа и пассажиров, а также в поддержании оптимального функционирования различных систем судна. От вентиляции машинных отделений, где необходимо отводить избыточное тепло и продукты сгорания, до обеспечения свежего воздуха в жилых помещениях и грузовых отсеках – везде требуются надёжные и эффективные вентиляционные решения.
В данном материале мы подробно рассмотрим принципы действия судовых вентиляторов, их основные типы и классификации, а также коснемся основ их расчета, что является ключевым для правильного подбора оборудования. Особое внимание будет уделено критериям выбора вентиляторов, исходя из специфики их применения на судне. Понимание этих аспектов позволит не только эффективно проектировать системы вентиляции судна, но и грамотно эксплуатировать их, обеспечивая долговечность и надёжность работы в условиях морских путешествий.
Принцип действия, классификация и основы расчета судовых вентиляторов
Вентиляторами называют механизмы, предназначенные для перемещения газов и повышения их давления.
Судовые вентиляторы используются для:
- искусственной вентиляции жилых и служебных помещений;
- создания тяги в котельных установках;
- понижения температуры в машинно-котельных отделениях;
- удаления вредных, взрывчатых и огнеопасных газов из бункеров и грузовых трюмов.
По назначению различают судовые вентиляторы:
- вдувные,
- вытяжные,
- циркуляционные.
Так, котельные вентиляторы, которые нагнетают (вдувают) воздух в топки котлов, называются вдувными, а вентиляторы, отсасывающие выпускные газы из котла, называются вытяжными.
По принципу действия делятся на:
- центробежные судовые вентиляторы;
- и осевые судовые вентиляторы.
В зависимости от создаваемого полного давления различают судовые вентиляторы:
- низконапорные – до 1 100 Па (110 мм вод. ст.);
- средненапорные – от 1 100 до 2 500 Па (110-250 мм вод. ст.);
- высоконапорные – более 2 500 Па (250 мм вод. ст.).
Судовые вентиляторы приводятся в движение электродвигателями и Судовые паровые турбиныпаровыми турбинами.
Принцип действия центробежного вентилятора весьма сходен с принципом действия водяного центробежного насоса. Отличия заключаются в следующем:
1 Вследствие резкого изменения параметров перемещаемых газов, в зависимости от температуры и давления, производительность вентилятора измеряется кубическими метрами стандартного воздуха в час. Стандартным называется воздух, имеющий давление 105 Па (750 мм рт. ст.), температуру 20 °С и относительную влажность 50 % при удельном весе 1,2 Н/м3.
На практике через вентилятор проходит воздух, отличный от стандартного (например, воздух машинного отделения). Поэтому расчет производительности вентилятора производится по формуле:
где:
- Qс – производительность вентилятора по стандартному воздуху, м3/ч;
- Q – производительность вентилятора по воздуху данного состояния, м3/ч;
- p – давление столба воздуха данного состояния, Па;
- t – температура, замеренная в месте установки вентилятора, °С.
2 Приращение полной энергии 1 кг газа, проходящего через вентилятор, называется полным напором вентилятора. Напор измеряется миллиметрами водяного столба. Связь между давлением и напором выразится равенством:
где:
- ∆p – полное давление вентилятора, Па;
- γ – удельный вес газа, Н/м3;
- H – полный напор вентилятора, мм вод. ст.
Развиваемый вентилятором напор не зависит от объемного веса перекачиваемой среды. Развиваемое давление прямо пропорционально объемному весу перекачиваемой среды.
Полный напор вентилятора представляет собой сумму статического Hст и динамического Hдин напоров:
В свою очередь статический напор состоит из двух слагаемых:
- напора всасывания Hв;
- и напора нагнетания Hн.
Динамический напор Hдин зависит от скорости газа в нагнетательном патрубке вентилятора и может быть определен по формуле:
где:
- c – скорость газа, м/с;
- g – ускорение свободного падения, м/с2.
Таким образом, полный напор, создаваемый вентилятором, выражается суммой трех слагаемых:
Вентилятор называется вдувным, или нагнетательным, если он всасывает газ (воздух) непосредственно из атмосферы, когда Hв = 0 и его полный напор равен:
Вентилятор называется вытяжным, или всасывающим, если его нагнетательный патрубок открыт в атмосферу, когда Hн = 0 и его полный напор равен:
Что такое циркуляционный вентилятор?
Циркуляционный (или безнапорный) вентилятор – это устройство, которое устанавливается в помещении без трубопроводов и не создает статического давления. Его основная функция – просто перемещать воздух внутри помещения. Для такого вентилятора полный напор равен:
3 Коэффициент быстроходности ns вентилятора представляет собой частоту вращения рабочего колеса вентилятора, подобного данному, который при производительности Qс = 1 м3/с и перемещении стандартного воздуха развивает напор H = 30 мм вод. ст. и без учета потерь потребляет мощность 0,4 л. с.:
где:
- Qс – производительность вентилятора, м3/с;
- H – напор, мм вод. ст.;
- n – частота вращения рабочего колеса вентилятора в минуту;
- γст – удельный вес стандартного воздуха, γст = 1,2 Н/м3.
Коэффициент быстроходности равен:
- ns = 100-200 – у тихоходных вентиляторов;
- ns = 200-600 – у вентиляторов средней тихоходности;
- ns = 600-1 200 – у быстроходных вентиляторов.
Мощность, Вт, потребляемую вентилятором, можно определить по формуле:
где:
- Qс – производительность вентилятора, м3/с;
- ∆p – полное давление вентилятора, Па;
- η – общий КПД вентилятора.
Обычно КПД центробежных вентиляторов находится в пределах 0,45-0,70.
Рекомендуется к прочтению: Системы общесудовой вентиляции и кондиционирования воздуха
Конструктивные особенности судовых центробежных вентиляторов приведены на рис. 1.

Воздух засасывается через отверстие 1 в центральной части кожуха и попадает на лопасти 2, находящиеся на ободе колеса 3. Лопасти 2 рабочего колеса, вращаясь, отбрасывают воздух в кольцевой кожух 4, имеющий форму спирали, откуда он попадает в диффузор 5.
Из диффузора воздух по Трубопроводы, арматура и устройство судовых системтрубопроводу поступает к месту назначения.
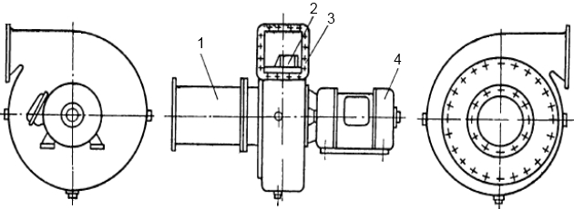
На рис. 2 представлен общий вид судового центробежного вентилятора серии ЦСУ.

1 – всасывающий патрубок; 2 – колесо; 3 – диффузор; 4 – электродвигатель
В таблице 1 приведены технические данные электровентиляторов ЦСУ.

Рассмотрим особенности осевых вентиляторов для морских судов. Применяют осевые вентиляторы на судне, которые отличаются от центробежных тем, что колесо А осевого вентилятора сообщает перемещаемому воздуху движение вдоль оси колеса (рис. 3).

Такие вентиляторы применяются для удаления и Системы воздуха и газоотвода на судах морского флотанагнетания воздуха в вентиляционных установках большой производительности.
На рис. 4 показан общий вид судового осевого одноступенчатого вентилятора типа ОСО.

1 – корпус; 2 – откидная крышка; 3 – колесо
В таблице 2 приведены технические характеристики судовых вентиляторов типа ОСО.

Выбор судовых вентиляторов
В данном пункте рассмотрим критерии выбора вентилятора для судовой вентиляции. При выборе вентилятора для какого-либо помещения его производительность определяют в зависимости от количества обменов воздуха в час, которое должно быть обеспечено вдувной или вытяжной вентиляцией в данном помещении.
Читайте также: Рефрижерация, кондиционирование воздуха и вентиляция
Например, по данным М. Г. Хетагурова и других источников, рекомендуется число обменов, приведенное в таблице 3.
| Таблица 3. Кратность обменов воздуха в различных судовых помещениях | ||
|---|---|---|
| Помещения | Кратность обменов воздуха в час вентиляции | |
| вдувной | вытяжной | |
| Каюты пассажиров и экипажа | 10-15 | – |
| Общественные помещения (салоны, рестораны и т. п.) | 15-20 | 10-15 |
| Камбузы | 5-10 | 40-60 |
| Провизионные кладовые без охлаждения | 5-10 | 10-15 |
| Машинно-котельные отделения | 30 | 35 |
| Помещения сепараторов топлива и масла | – | 30 |
| Механические кладовые | 15 | – |
| Электротехнические кладовые | 15 | – |
| Грузовые насосные помещения | – | 35 |
По данным таблицы и объему Vп помещения, для которого подбирают вентиляторы, вычисляют его часовую производительность, м3/ч,
Особенно важное значение приобретает вентиляция грузовых помещений судов с горизонтальным способом погрузки, предназначенных для перевозки техники, а также производственно-технических помещений морских промысловых судов.
В первом случае производительность вентиляции режима погрузочно-разгрузочных работ определяется расчетом исходя из условия разбавления до допустимых концентраций вредных примесей, выделяющихся при работе двигателей внутреннего сгорания.
Определение необходимого количества воздуха для Вентиляция и отопление на судах морского флотасистемы вентиляции во втором случае производится по тепловыделениям и влаговыделениям в помещениях, а также по предельно допустимым нормам содержания вредных газов в воздухе помещений с учетом основных физиологических показателей (потребление кислорода и выделение углекислого газа человеком и др.). При этом учитывают количество воздуха, требуемого для поглощения тепла, избыточно выделяемого двигателями и другими тепловыделяющими механизмами и установками.
Искусственную вентиляцию в машинно-котельных отделениях (МКО) судна нужно рассчитывать с учетом средств естественной вентиляции (раструбы, кожухи дымоходов, машинные шахты и т. п.). Следует также иметь в виду, что двигатели внутреннего сгорания сами в значительной степени разрежают давление в помещении при всасывании воздуха в цилиндры. Расчеты тепловыделений в МКО необходимо выполнять для летнего и зимнего режимов, а также для режима герметизации МКО.
Производительность вентиляции камбуза и прачечной определяется из условий ассимиляции теплопритоков наружным воздухом при установившейся температуре в камбузе на 8 °С выше расчетной наружной.
