В морской и речной технике, где надежность, эффективность и маневренность играют ключевую роль, применение передовых технологий является залогом успешной эксплуатации судов. Одной из таких важнейших технологий, обеспечивающих плавную передачу мощности, защиту механизмов от перегрузок, и оптимизацию работы двигателей, являются гидродинамические передачи. Эти устройства, использующие энергию потока жидкости для передачи крутящего момента, нашли широкое применение в судостроении благодаря своим уникальным характеристикам.
Данный материал посвящен всестороннему обзору гидродинамических передач и основных типов устройств, применяемых на судах. Мы рассмотрим принципы действия, конструктивные особенности и сферы применения гидродинамических муфт и гидродинамических трансформаторов, которые являются ключевыми элементами в судовых Судовые газотурбинные и атомные силовые установкисиловых установках. Особое внимание будет уделено анализу преимуществ использования гидродинамических передач на судах, таких как снижение вибрации, повышение комфорта экипажа, защита двигателей от пиковых нагрузок, а также улучшение топливной экономичности и общего КПД энергетической установки.
Что такое гидродинамическая передача?
Гидродинамическая передача – это устройство, передающее движение посредством жидкости.
Различают следующие судовые передачи:
- Гидродинамические муфты (турбомуфты), которые, передавая движение от ведущего вала к ведомому, не изменяют крутящего момента и на расчетном режиме незначительно (на 2-3 %) снижают частоту вращения.
- Гидродинамические трансформаторы (турботрансформаторы), которые, передавая движение от ведущего вала к ведомому, изменяют крутящий момент и частоту вращения.
Гидродинамические муфты
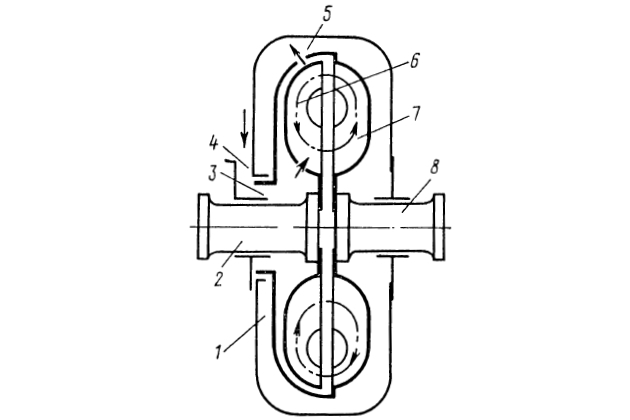
Устройство и принцип работы гидродинамических муфт показаны на рис. 1.

Рассмотрим применение гидромуфт на морских судах и их расчетные параметры. Насосное колесо 7, закрепленное на ведущем валу 8, соединено с чашей 1, охватывающей турбинное колесо 6, связанное с ведомым валом 2. Насосное и турбинное колеса – центробежного типа. Жидкость подается в турбомуфту специальным Основы гидравлики и насосы судовых системпитательным насосом по каналу 4 сначала в камеру наполнения 3 и из нее через отверстия в стенке турбинного колеса в рабочую полость турбомуфты.
На периферии чаши имеются отверстия 5, через которые жидкость непрерывно вытекает из рабочей полости. Непрерывная смена жидкости в муфте необходима для поддержания постоянной температуры жидкости, которая во время циркуляции в рабочей полости муфты нагревается теплотой трения.
Передача энергии от ведущего вала к ведомому осуществляется жидкостью, циркулирующей в рабочей полости муфты.
Движение жидкости в турбомуфте и передача энергии будет происходить только в том случае, если насосное колесо вращается быстрее турбинного колеса. В насосном колесе турбомуфты механическая энергия двигателя преобразуется в энергию потока жидкости. Из насосного колеса жидкость поступает непосредственно в турбинное колесо, в котором энергия жидкости преобразуется в механическую энергию приводимой машины. Из турбинного колеса жидкость снова направляется в насосное колесо.
Частоту вращения ведомого вала турбомуфты можно регулировать изменением количества жидкости, движущейся в круге циркуляции, посредством неполного заполнения или перекрытием каналов турбомуфты. Если жидкость выпустить из турбомуфты, то валы ее разъединятся.
На расчетном режиме турбомуфта работает с передаточным отношением i = 0,95-0,98 и имеет КПД ηi = 0,95-0,98.
Типы гидродинамических муфт судового назначения разделяются:
- по форме лопастей рабочих колес – на нормальные муфты, колеса которых имеют плоские радиальные лопасти, и специальные муфты, колеса которых имеют лопасти двоякой кривизны;
- по способу изменения частоты вращения ведомого вала – на муфты с регулируемым заполнением круга циркуляции жидкостью и на муфты с регулируемым перекрытием каналов круга циркуляции;
- по числу параллельно соединенных муфт – на однополостные и двухполостные.
Лопасти насосного и турбинного колес нормальной турбомуфты имеют одинаковую конструкцию, но число их в колесах обычно разное. Специальные и двухполостные турбомуфты применяют в тех случаях, когда требуется получить минимальный наружный диаметр гидропередачи.
Рекомендуется к прочтению: Насосы и системы трубопроводов
При установившемся движении роторов турбомуфты алгебраическая сумма всех внешних моментов вращения, действующих на рассматриваемую систему, по закону равенства действия и противодействия равна нулю:
где:
- M1, M2 – моменты соответственно на ведущем и ведомом валах;
- Mс – момент от сил трения на наружной поверхности, в сальниках и подшипниках турбомуфты.
Общий КПД турбомуфты равен отношению мощностей на ведомом N2 и ведущем N1 валах:
Внутренний КПД турбомуфты равен передаточному отношению:
где:
- Nн, Nт – мощность соответственно на насосном и турбинном колесах;
- Mн, Mт – моменты взаимодействия жидкости соответственно с насосным и турбинным колесами;
- ω1, ω2 – угловые скорости соответственно ведущего и ведомого валов.
Энергия от ведущего ротора к ведомому в турбомуфте передается не только путем воздействия жидкости на лопасти турбины, но и благодаря увлечению турбинного колеса насосным вследствие жидкостного трения вращающихся поверхностей.
Преимущества использования гидродинамических муфт в судовых передачах включают значительное снижение ударных нагрузок на двигатель и редуктор, обеспечивая тем самым плавный старт и переключение скоростей. Это способствует увеличению срока службы всего пропульсивного комплекса судна, минимизируя износ и сокращая расходы на обслуживание. Кроме того, гидродинамические муфты в судовых передачах эффективно демпфируют крутильные колебания, что повышает комфорт для экипажа и пассажиров за счет снижения вибрации и шума.
Гидродинамические трансформаторы
Устройство судового гидротрансформатора изображено на рис. 2.

а – прямого хода; б – обратного хода; в – многоступенчатого
Гидротрансформатор состоит из:
- насосного колеса 3, закрепленного на ведущем валу 1;
- турбинного колеса 4, связанного с ведомым валом 2;
- направляющего аппарата 5, жестко соединенного с корпусом.
При вращении ведущего вала насосное колесо подает жидкость в неподвижный направляющий аппарат, под действием лопастей которого происходит увеличение момента количества движения жидкости Mн. а. Из направляющего аппарата жидкость поступает в турбинное колесо, в котором энергия жидкости преобразуется в механическую энергию вращения ведомого вала.
Будет интересно: Судовые насосы и их эксплуатационные характеристики
Момент на ведомом валу гидротрансформатора M2 будет больше момента на ведущем валу M1, так как:
Угловая скорость ведомого вала ω2 = N2/M2 будет меньше угловой скорости ведущего вала ω1 = N1/M1, так как M2>M1, N2 = ηN1<N1.
Гидротрансформаторы проектируют с передаточным отношением на расчетном режиме до
. Их КПД лежит в пределах η = 0,8-0,9.
Гидродинамические трансформаторы разделяются:
- по расположению направляющего аппарата – на турботрансформаторы прямого хода, в которых направляющий аппарат расположен перед насосным колесом (рис. 2, а) и оба вала передачи вращаются в одну сторону, и на турботрансформаторы обратного хода, в которых направляющий аппарат установлен за насосным колесом (рис. 2, б);
- по числу ступеней турбинного колеса – на одноступенчатые и многоступенчатые (рис. 2, в);
- по направлению вращения ведомого вала – на нереверсивные и реверсивные, в которых валы могут вращаться как в одну сторону, так и в противоположные стороны.
Многоступенчатые турботрансформаторы применяют обычно при передаточных отношениях i меньше 0,5. В многоступенчатых турботрансформаторах между ступенями турбины устанавливают направляющие аппараты. Все ступени турбины соединены между собой и передают момент на ведомый вал передачи.
Изменение направления вращения ведомого вала реверсивного турботрансформатора осуществляется с помощью подвижных направляющих аппаратов прямого и обратного хода или параллельным соединением трансформаторов прямого и обратного хода. В последнем случае для изменения направления вращения ведомого вала жидкость выпускается из одного трансформатора и одновременно заполняется жидкостью второй трансформатор. Реверс осуществляется за 15-25 с.
Регулирование частоты вращения ведомого вала турботрансформатора производится изменением степени наполнения жидкостью круга циркуляции и механическим воздействием на поток жидкости в круге циркуляции путем перекрытия каналов турбинного колеса цилиндрической заслонкой или поворотом лопастей насосного колеса. Наиболее экономичный метод регулирования частоты вращения ведомого вала турботрансформатора – метод поворота лопастей насосного колеса.
Уравнение равновесия турботрансформатора, представляющего собой систему, состоящую из двух вращающихся роторов и неподвижного корпуса с направляющими аппаратами, имеет вид:
где:
- M1, M2 – моменты соответственно на ведущем и ведомом валах;
- Mн. а – момент на направляющем аппарате;
- Mс – момент от сил трения в подшипниках и сальниках.
Общий КПД турботрансформатора:
где:
- K = M2/M1 – коэффициент трансформации момента.
Исключая из формулы 4 момент Mс получаем:
где:
- Mн – момент на насосном колесе; Mн = M1 – Mс1;
- Mт – момент на турбинном колесе; Mт = M2 + Mс2, Mс = Mс1 + Mс2.
Внутренний КПД турботрансформатора:
Показатели работы турботрансформатора определяют для средней струйки жидкости круга циркуляции по уравнениям Виды лопастных насосов – устройство и принципы работы на суднелопастных насосов.
Применение гидродинамических передач на судах
На рис. 3 показана схема передачи движения от вала двигателя 5 к валу гребного винта 4 с помощью гидродинамического трансформатора.

Двигатель приводит во вращение рабочее колесо насоса 1, которое сообщает жидкости энергию и направляет поток жидкости через неподвижный направляющий аппарат 3 в гидравлическую турбину 2. В последней, жидкость приводит во вращение рабочее колесо турбины и связанный с рабочим колесом Руль и гребной винт суднагребной винт судна. Из турбины жидкость снова возвращается в насос.
В приведенной на рис. 3 схеме гидродинамический трансформатор разделен на две самостоятельные части:
- насос,
- и турбину с направляющим аппаратом на входе.
Насос и турбина соединены трубопроводами. Такая схема турботрансформатора обладает рядом существенных недостатков и применяется в особых случаях. Как правило, насос, гидротурбину и направляющий аппарат турботрансформатора располагают в одном корпусе так, чтобы путь движения жидкости был наиболее коротким. Схема таких турботрансформаторов показана на рис. 2.
Гидродинамические передачи находят применение на судах, так как позволяют осуществлять:
- эластичное соединение валов, вследствие чего толчки, удары и вибрация ведомого вала не передаются на ведущий вал и при вращении ведущего вала возможна полная остановка ведомого вала;
- быстрое соединение и разъединение валов (10-15 с);
- плавное регулирование частоты вращения ведомого вала;
- уменьшение вибрации и шума, создаваемых передачей;
- автоматическое регулирование режима работы двигателя в зависимости от режима работы приводимой машины, называемое саморегулированием гидродинамической передачи;
- быстрое и плавное реверсирование ведомого вала (15-25 с);
- определенное уменьшение или увеличение частоты вращения ведомого вала, по сравнению с частотой вращения ведущего вала.
Основные недостатки гидродинамических передач следующие:
- сравнительно малая экономичность турботрансформаторов, наибольший КПД которых лежит в пределах η = 0,8-0,9;
- значительные габариты при больших передаваемых мощностях и малой частоте вращения ведущего вала;
- нагрев жидкости теплотой, возникающей от трения при движении жидкости в каналах передачи; вследствие этого явления необходима постоянная смена жидкости.
Основными показателями работы гидродинамических передач служат:
- частота вращения n1 и n2;
- моменты M1 и M2;
- мощности N1 и N2 на ведущем и ведомом валах передачи;
- КПД η;
- коэффициент трансформации момента k = M2/M1;
- передаточное отношение i = n2/n1;
- расход жидкости Q в круге циркуляции;
- напоры насосного и турбинного колес.
В качестве рабочей жидкости в гидродинамических передачах применяют минеральные масла вязкостью 10-30 сСт или воду. При использовании воды турбопередача получается меньших размеров по сравнению с турбопередачами, работающими на масле.
Гидродинамические передачи получили применение на судах с комбинированными установками и на Особенности работы судовых дизельных двигателейдизельных судах. У первых паровая машина соединена непосредственно с гребным валом, а паровая турбина передает энергию на гребной вал через турбомуфту и зубчатый редуктор. На малых ходах и на заднем ходу судна работает одна паровая машина. Турбина автоматически подключается и отключается при достижении гребным валом определенной частоты вращения.
На дизельных судах турбомуфту устанавливают между двигателем и зубчатой передачей для смягчения ударов в зубьях редуктора от неравномерности вращения дизеля и для сглаживания толчков и ударов со стороны гребного винта. Применение турбомуфты позволяет присоединить несколько дизелей к одному гребному валу.
На судах применяют гидрозубчатые передачи, схема одной из которых представлена на рис. 4.

Зубчатый редуктор 3 через турботрансформатор и турбомуфту соединен с валом 5. В этой реверсивной передаче с приводом от газовой турбины турботрансформатор заднего хода 4 (η = 0,66) и турбомуфта переднего хода 2 (η = 0,96) связаны с фрикционной муфтой 1. При маневрировании и прохождении узкостей передний и задний ход судна осуществляется заполнением маслом соответственно турбомуфты переднего хода или турботрансформатора заднего хода. Для продолжительной работы на переднем Ходовые испытания судна и прием механизмов, систем и судовых устройств после ремонтаходу судна включают фрикционную муфту.
Гидродинамические передачи широко применяются также в автомобилях, тепловозах, кранах, некоторых лебедках и в ряде других машин, в которых двигателями служат дизели, газовые турбины и электродвигатели переменного тока.
