Системы сепарации судов – это комплекс оборудования, предназначенный для очистки различных жидкостей, используемых или образующихся на судне, от нежелательных примесей (воды, механических частиц, нефтепродуктов и т. д.), в котором ключевыми устройствами являются – судовые сепараторы. В данном материале мы рассмотрим, как сепаратор топлива и сепаратор масла работают в судовых системах. Эффективная и бесперебойная работа судовых двигателей и вспомогательного оборудования напрямую зависит от качества используемых топлива и смазочных материалов. Морская среда, особенности хранения и подачи, а также высокие требования к надежности делают процесс очистки этих жидкостей критически важным.
А также рассмотрим назначение сепараторов и принцип действия. Вы узнаете, как центробежные силы и тонкая фильтрация позволяют сепараторам эффективно справляться с загрязнениями, предотвращая износ оборудования, повышая топливную эффективность и продлевая срок службы двигателей. Далее определим не менее важное – критерии выбора сепараторов для комплектации топливных и масляных систем. Мы обсудим ключевые параметры, которые необходимо учитывать при подборе оборудования, чтобы обеспечить оптимальную производительность и надежность в соответствии с конкретными требованиями судна и его эксплуатационными условиями. Понимание этих аспектов поможет обеспечить долговечность и эффективность работы судового оборудования.
Назначение и принцип действия сепараторов
Подготовка топлива и регенерация масла в судовых условиях имеют чрезвычайно важное значение для безаварийной и экономически целесообразной эксплуатации судна. Эффективность Техническая эффективность и надёжность судовых системсудовых систем топливоподготовки и маслоочистки во многом определяется эффективностью работы основного механизма этих систем – сепаратора.
В основе работы всех сепараторов топлива и масла, получивших распространение в судовых установках, лежит метод разделения при помощи центробежных сил эмульсий или суспензий за счет разности плотностей их компонентов. Указанный метод называется центрифугированием и осуществляется в центрифугах.
Процесс центрифугирования аналогичен процессу отстоя и отличается от него лишь природой и величиной действующих сил. При отстое на единицу объема частицы с плотностью ρч, погруженной в жидкость с плотностью ρж, действует вызывающая осаждение частицы сила:
где:
- g – ускорение свободного падения, м/с2.
Под действием этой силы (ρч > ρж) частица стремится опуститься на дно отстойника.
Если поместить такую систему в центробежное поле, то движущая сила Pц, при той же разности плотностей частицы и жидкости, будет:
где:
- aц = Rω2 – ускорение центробежной силы, м/с2;
- R – радиус вращения частицы, м;
- ω – угловая скорость, 1/с.
Отношение:
показывает относительное возрастание движущей силы, которая стремится переместить частицу в жидкости в направлении действия центробежной силы. Формула 3, являющаяся числом Фруда, часто называют фактором разделения. В качестве примера, в табл. 1 приведены ориентировочные значения числа Fr для различных систем.
| Таблица 1. Значения фактора разделения Fr для различных систем | |
|---|---|
| Система | |
| На поверхности земли | 0,0035 |
| На периферии колеса автомобиля | 1 500-2 000 |
| Шнековая центрифуга | 2 000-4 000 |
| Тарельчатая центрифуга | 3 000-8 000 |
| Трубчатая центрифуга | 12 000-60 000 |
| Ультрацентрифуга (лабораторная) | 200 000-300 000 |
| Центрифуга Сведберга | 900 000 |
В зависимости от величины Fr центрифуги условно разделяют на:
- нормальные центрифуги, у которых Fr < 3 500;
- и сверхцентрифуги, у которых Fr > 3 500.
По конструкции ротора центрифуги, применяемые для Фильтрация и фильтрационные установки очистки топлива на судахочистки топлив и масел, можно разделить на центрифуги с тарельчатым и трубчатым барабаном, которые обычно имеют фактор разделения в пределах Fr = 4 000-12 000 и, таким образом, относятся к классу сверхцентрифуг. В зависимости от технологического назначения такие центрифуги могут работать:
- как осветлители (кларификаторы) – при разделении суспензий (очистка топлива и масла от механических примесей);
- или как очистители (пурификаторы) – при разделении эмульсий (отделение от топлива и масла, грязи и воды).
Что такое сепаратор?
Сепаратор – это сверхцентрифуга (трубчатая или тарельчатая), которая используется в судовых установках для очистки топлива и масла. Процесс, происходящий в сепараторе, называется сепарированием.
Наибольшее распространение на судах морского флота получили тарельчатые сепараторы.
Независимо от типа тарельчатого сепаратора, основными его узлами являются:
- барабан;
- механизм (под этим названием принято понимать станину с помещенной в ней червячно-винтовой парой);
- сборник (топлива или масла);
- насос;
- фрикционная муфта;
- электродвигатель;
- подъемник барабана;
- измерительная, регулирующая и пусковая аппаратура.
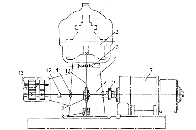
Общей для всех судовых тарельчатых сепараторов является и принципиально одинаковая кинематическая схема. На рис. 1 представлена в качестве примера кинематическая схема сепаратора СЦ-1,5.

От электродвигателя 7 через центробежную фрикционную муфту 6 вращение передается на горизонтальный вал 5 сепаратора, закрепленный в станине 4 на шариковых подшипниках 11. Затем через червячно-винтовую передачу 9 вращение передается на вертикальный вал 10, верхней опорой которого служит радиальный шарикоподшипник и шесть пружинных амортизаторов 3. Нижней опорой 8 Вертикальные и горизонтальные валы сепараторов фирмы Вестфалиявертикального вала служит радиально-сферический подшипник, радиальный подшипник и пята с шариком и пружиной подпятника. На верхнюю часть вертикального вала насажен барабан 2, вращающийся с большой скоростью. От горизонтального вала 5 через эластичную муфту 12 вращение передается на шестеренный насос 13. Все упомянутые детали и узлы смонтированы в станине, накрытой сборником 1.
Судовые сепараторы различных заводов-изготовителей и зарубежных фирм, имея одинаковую кинематическую схему, могут значительно отличаться по конструктивному выполнению отдельных узлов и, естественно, по внешнему исполнению.
Работа барабана тарельчатого сепаратора происходит следующим образом (рис. 2).

Жидкость непрерывно подается во вращающийся барабан 4 через центральный канал 3, поступает к периферии барабана, протекает по каналам между тарелками 1 и отводится через кольцевое отверстие 2 в верхней части барабана. В процессе этого движения жидкость захватывается стенками и тарелками барабана, придающими ей вращательное движение, и под действием центробежной силы располагается на стенках барабана кольцевым слоем с внутренней параболоидальной поверхностью.
Рекомендуется к прочтению: Сепараторы, деаэраторы, фильтры – технические характеристики
Принцип действия центробежного сепаратора масла на судне основан на том, что центробежные силы в тарельчатых сепараторах обычно превышают в 4 000-8 000 раз силу тяжести. В результате отклонение формы поверхности слоя от цилиндрической составляет доли процента, и этим отклонением при практических расчетах пренебрегают.
За время прохождения жидкости через барабан взвеси, находящиеся в ней, под воздействием центробежных сил осаждаются на стенках и тарелках барабана.
Характерной особенностью тарельчатых сепараторов является исполнение их:
- со сплошным барабаном (несаморазгружающиеся);
- и с барабаном, имеющим разгрузочные пазы (саморазгружающиеся).
В первом случае для удаления шлама вручную сепаратор необходимо остановить, а у саморазгружающихся сепараторов очистка барабана от шлама осуществляется без остановки сепаратора. В последнем случае разгрузочные пазы барабана при Эксплуатация сепаратора Westfalia, сбои в работе и ликвидация неисправностейработе сепаратора перекрываются запирающим поршнем. По мере накопления шлама запирающий поршень отводится вниз, разгрузочные пазы открываются, и скопившийся шлам под действием центробежных сил выбрасывается из барабана. Затем запирающий поршень возвращается в верхнее положение.
Дистанционное управление движением поршня осуществляется специальной гидравлической системой.
На рис. 3 представлен общий вид саморазгружающегося сепаратора СЛ5.

В табл. 2 приведены основные характеристики некоторых сепараторов, получивших наибольшее распространение в российских судовых энергетических установках.
| Таблица 2. Основные характеристики российских тарельчатых сепараторов | ||||||||||
|---|---|---|---|---|---|---|---|---|---|---|
| Характеристики | Типы сепараторов | |||||||||
| несаморазгружающихся | саморазгружающихся | |||||||||
| СЦ-1,5 | СЦ-3 | СЦС-3 | ||||||||
| Частота вращения барабана, об/мин | 7 150 | 4 740 | 6 000 | 8 490 | 7 400 | 6 200 | 5 670 | 5 040 | 4 032 | |
| Радиус тарелки, м: | максимальный | 0,085 | 0,117 | 0,130 | 0,069 | 0,0845 | 0,100 | 0,127 | 0,139 | 0,168 |
| минимальный | 0,0325 | 0,050 | 0,050 | 0,032 | 0,04 | 0,05 | 0,0642 | 0,0575 | 0,0642 | |
| Число тарелок | 40 | 56 | 90 | 75 | 95 | 106 | 126 | 119 | 149 | |
| Угол наклона образующей тарелки, °C | 50 | 50 | 50 | 50 | 50 | 50 | 45 | 50 | 50 | |
| Индекс производительности Σ, м2 | 3 305 | 5 255 | 18 698 | 4 485 | 7 830 | 9 940 | 16 960 | 21 065 | 30 250 | |
| Номинальная производительность, л/ч | 1 950 | 3 100 | 11 000 | 2 620 | 4 580 | 5 810 | 9 920 | 12 320 | 17 690 | |
| Примечания. 1. Второе обозначение у сепараторов СЛ1-СЛ6 соответствует индексам аналогичных сепараторов шведской фирмы «Альфа-Лаваль». 2. Номинальная производительность определена при вязкости сепарируемой жидкости 2 °ВУ. | ||||||||||
Выбор сепараторов для комплектации топливных и масляных систем
В данном пункте рассмотрим, как выбрать сепаратор топлива для морского судна и какие параметры при этом стоит учитывать. Практика показывает, что чем менее сложен механизм, тем надежнее он работает и соответственно требует меньше внимания. Исходя из этих соображений, для установки на судне следовало бы предпочесть самые простые по конструкции и чрезвычайно надежные в работе обычные несаморазгружающиеся сепараторы со сплошным барабаном.
Однако из-за ограниченного объема грязевой камеры возникает необходимость в частых разборках и чистках барабана при Технология сепарирования топлива и масласепарировании жидкостей с высоким содержанием осаждающихся частиц, что снижает производительность сепаратора. Но и саморазгружающиеся сепараторы, более сложные по конструкции, нецелесообразно применять в том диапазоне, где могут работать обычные сепараторы со сплошным барабаном. С этой точки зрения при двухступенчатой очистке топлива пурификатор, где выделяется 70-80 % шлама, нередко устанавливают саморазгружающегося типа, а кларификатор – обычного.
Определив, как показано выше, тип сепаратора исходя из свойств жидкости, предназначенной для очистки, переходят к оценке необходимой производительности и числа сепараторов. Может возникнуть необходимость в установке на одном судне сепараторов различных типов и размеров в зависимости от их назначения. Так, обычно разделяют сепараторы для:
- тяжелого топлива главных двигателей энергетической установки;
- дизельного топлива вспомогательных двигателей;
- смазочного масла.
Производительность сепаратора для топлива, л/ч:
где:
- N – мощность главного двигателя, л. с.;
- gе – удельный расход топлива, г/л. с.·ч;
- t – время работы сепаратора, ч;
- γ – удельный вес топлива, г/см3.
В практике принято устанавливать сепаратор такой производительности, чтобы продолжительность его работы составляла 8-20 ч в сутки (в зависимости от сорта топлива).
Зависимости, приведенные на рис. 4, позволяют произвести ориентировочную оценку производительности топливных сепараторов для Основные элементы топливной аппаратуры судовых дизелейсудовых дизелей.

При расчете производительности сепараторов для смазочного масла исходят из следующих соображений. Оценивают количество непрерывно циркулирующего в системе масла для целей смазки и охлаждения. По данным некоторых зарубежных фирм, это количество составляет 0,5-5 л/л. с. в зависимости от типа двигателя. Тогда необходимая производительность сепаратора Qм, л/ч, может быть определена по формуле:
где:
- Nэ – эффективная мощность двигателя, л. с.;
- gм – удельный объем масла в системе, л/л. с.;
- t – время работы сепаратора, ч;
- k – количество очисток масла в сутки, рекомендуется принимать k = 1,5-2,5.
После того как определена часовая производительность сепараторной станции (топливной или масляной), приступают к выбору марок сепараторов и их числа, руководствуясь данными, приведенными в табл. 2 выше.
Читайте также: Судовые сепараторы фирмы Альфа-Лаваль
При выборе сепараторной станции следует предусмотреть соответствующий резерв, который может быть получен следующим путем:
- установкой большего числа сепараторов, чем это необходимо по заданной производительности;
- выбором сравнительно короткого периода работы в течение суток; в этом случае при выходе из строя одного сепаратора остальные сепараторы (если они имеются) смогут обеспечить необходимую суточную производительность путем увеличения времени своей работы;
- выбором заниженной по сравнению с нормальной производительности сепараторов; в случае поломки одного из них остальные за счет повышения своей производительности обеспечат необходимую суточную производительность без увеличения числа часов работы и снижения качества очистки.
Пример расчета сепараторной станции.
Судно имеет главный двигатель – дизельную установку 9ДКРН 74/160 мощностью 11 250 э. л. с.:
- удельный расход топлива 170 г/л. с·ч;
- топливо – ДТ-1 (ГОСТ 1667-51);
- мощность вспомогательных дизелей – 2 000 л. с.;
- топливо – ДЛ (ДС) ГОСТ (4749-49);
- удельный расход топлива вспомогательных дизелей – 170 г/л. с·ч.
Сепараторы тяжелого топлива. Расход тяжелого топлива в сутки:
Принимаем время работы сепараторов тяжелого топлива 20 ч в сутки. Тогда производительность сепаратора с учетом плотности топлива ДТ-1 ρ = 0,90 будет:
Такую производительность обеспечивает один саморазгружающийся сепаратор СЛ2 (см. табл. 2 выше).
Сепаратор дизельного топлива. Расход дизельного топлива в сутки:
Сепарация Основные характеристики дизельного топлива, влияющие на его качестводизельного топлива на судах длится 8 ч в сутки. Производительность сепаратора с учетом плотности топлива ρ = 0,87 будет:
Такую производительность обеспечивает один сепаратор СЦ-1,5.
Сепараторы смазочного масла. Удельный объем масла в циркуляционной системе установки принятого типа составляет gм = 4 л/э. л. с.
Принимаем, что все масло в системе должно быть дважды очищено в течение суток (k = 2), тогда производительность сепаратора при 24-часовой работе будет:
Такую производительность с учетом резерва и времени на очистку могут обеспечить два сепаратора СЦ-3 или СЛ1.
