В практике судового машиностроения винтовые насосы занимают особое место среди объемных насосных агрегатов, применяемых на морских судах. Эти насосы широко используются для перекачки вязких и чувствительных к сдвигу сред – тяжелых и дизельных топлив, Эксплуатационные свойства смазочных материаловсмазочных масел, нефтепродуктов и различных технологических жидкостей. Конструктивная простота и ключевые характеристики винтовых насосов, такие как высокая равномерность подачи и низкий уровень пульсаций, делают их надежным элементом судовых энергетических и вспомогательных систем.
В условиях длительной непрерывной эксплуатации, характерной для морского флота, винтовые насосы отличаются стабильностью рабочих параметров и повышенной износостойкостью. Особое значение имеет их способность обеспечивать самовсасывание и сохранять работоспособность при изменении вязкости перекачиваемой среды. Вместе с тем эффективная эксплуатация таких насосов невозможна без понимания их геометрии, принципов профилирования винтов и взаимосвязи между теоретической и действительной подачей. В данном материале рассматриваются основные конструктивные и расчетные особенности судовых винтовых насосов, их характеристики и типовые исполнения, с которыми судовой механик сталкивается в повседневной практике эксплуатации и обслуживания.
Общие сведения
Что такое винтовой насос?
Винтовой насос – это насос, у которого энергия перекачиваемой жидкости увеличивается в результате давления на нее непрерывно вращающихся винтовых поверхностей.
Промышленное развитие винтовых насосов началось с 1920-х годов XX века и во многих странах эти насосы изготовляются разных типов. Широкое распространение винтовых насосов объясняется их положительными свойствами, которые удовлетворяют требованиям различных отраслей техники:
- судостроения,
- самолетостроения,
- тепло- и гидроэнергетики,
- химической промышленности и т. д.
Винтовые насосы можно разделить:
- по числу винтов – на одновинтовые и многовинтовые (до пяти винтов);
- по зазору между нарезкой винтов – на герметичные и негерметичные;
- по форме профиля нарезки винтов – на насосы с циклоидальным, эвольвентно-циклоидальным и специальным профилями;
- по числу подводов на насосы с односторонним и двусторонним подводом жидкости.
На Преимущества внутреннего водного транспорта, логистика и правовые особенностисудах внутреннего плавания находят применение только трехвинтовые насосы с циклоидальным зацеплением. На трехвинтовые насосы имеется ГОСТ 20883-83. Этот стандарт охватывает насосы с подачей 0,45-400 м3/ч и давлением до 25 МПа. Трехвинтовые насосы относятся к классу герметичных и выполняются с односторонним и двусторонним подводом жидкости.
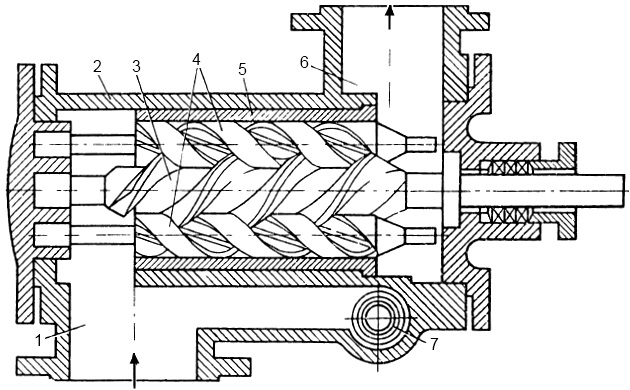
На рис. 1 представлена конструкция трехвинтового насоса судовых систем.

У трехвинтового насоса с односторонним подводом жидкости средний винт 3 является ведущим, а 2 боковых 4 – ведомыми. Нарезанные части винтов заключены в обойму (втулку) 5, вставленную в корпус 2. В обойме винты вращаются, как в подшипниках с небольшими зазорами. Корпус насоса имеет приемную камеру 1 с приемным патрубком и напорную камеру 6 с напорным патрубком. Эти камеры соединены предохранительно-перепускным клапаном 7.
Ведущий винт по сравнению с ведомыми более массивен, так как он несет основную нагрузку в рабочем процессе. Геометрические соотношения нарезок винтов выбраны так, что обеспечивается не только герметичность рабочих органов, но и отсутствие передачи крутящего момента с ведущего винта на ведомые. Последние не производят полезной работы, а служат только в качестве уплотнений, препятствующих перетеканию жидкости из напорной камеры в приемную, и в процессе нормальной работы вращаются не в результате взаимодействия с ведущим винтом, а благодаря давлению перекачиваемой жидкости, которая перемещается в насосе только вдоль оси винтов.
Рассматривая вопрос о том, для каких сред используются винтовые насосы на морских судах, важно отметить агрегаты с циклоидальным зацеплением. Они применяются в смазочных системах, системах регулирования и гидроприводах для перекачивания вязких жидкостей, таких как масла и гидравлические смеси. Они отличаются:
- равномерной подачей жидкости;
- высокой экономичностью (КПД η = 0,6-0,8);
- незначительным изменением подачи с увеличением давления;
- высокой частотой вращения;
- малыми габаритными размерами и массой.
Самовсасывающая способность судовых винтовых насосов является их важным преимуществом, обеспечивающим стабильную работу всасывающей линии. При этом допускаемая вакуумметрическая высота всасывания напрямую зависит от рода перекачиваемой жидкости: например, при работе на масле она составляет 5-6 м. Однако стоит учитывать и существенный недостаток этих агрегатов – сложный профиль нарезки и малые зазоры между винтами (0,05-0,15 мм), а также между винтами и втулкой (0,1-0,15 мм), что значительно усложняет их производство.
Геометрия винтов насоса
У винтовых насосов с циклоидальным зацеплением ведущий винт имеет специальную двухзаходную выпуклую нарезку с постоянным шагом, профиль которой в сечении, нормальном к оси винта, очерчен циклоидальными кривыми и ограничен дугами окружностей наружного и внутреннего диаметров винта. Ведомые винты идентичны, имеют также специальную двухзаходную вогнутую нарезку с постоянным шагом, равным шагу нарезки ведущего винта. Профиль ведомых винтов в сечении, нормальном к оси винта, очерчен циклоидальными кривыми и радиальными фасками и ограничен дугами окружностей наружного и внутреннего диаметров винта.
Направление нарезки на ведущем и ведомых винтах противоположное, т. е. если ведущий винт имеет правую нарезку, то ведомый – левую и наоборот. Передаточное отношение между ведущими и ведомыми винтами равно единице.
Сечение каждого винта насоса плоскостью, нормальной к его оси, представляет собой шестерню, которую называют образующей шестерней. Совместную работу винтов можно рассматривать как совместную работу бесконечно большого числа образующих шестерен, имеющих бесконечно малую толщину. Каждая пара таких шестерен, естественно, должна подчиняться основным законам зацепления зубчатых колес.
При любых абсолютных размерах ведущего и ведомых винтов трехвинтового насоса геометрические размеры их нарезки выполняются всегда соответственно подобными между собой, причем за исходную величину принимается диаметр начальной окружности dн винтов (образующих шестерен), который является также наружным диаметром ведомого винта (ведомой образующей шестерни). Подобие геометрических размеров облегчает расчет и нормализацию, как самих насосов, так и инструментов для изготовления винтов.
Соотношения между отдельными размерами винтов принимаются следующими:
где:
- Dн – наружный диаметр ведущего винта;
- dн – наружный диаметр ведомого винта;
- Dв – внутренний диаметр нарезки ведущего винта;
- dв – внутренний диаметр нарезки ведомого винта;
- t – ход винтовой нарезки.
Для насосов с повышенными требованиями к всасывающей способности принимают винты с укороченным ходом:
При теоретическом зацеплении (рис. 2, а) в случае силовой передачи происходит быстрый износ кромок винтовых нарезок.

Более всего подвержены износу ведомые винты, которые хотя и могут быть теоретически разгружены от силового взаимодействия с ведущим винтом, но сделать это точно практически трудно. К ведомым винтам всегда должен быть приложен какой-то момент для преодоления сил трения, возникающих между винтами, с одной стороны, и втулкой (обоймой) и перекачиваемой жидкостью – с другой. Этот момент трения будет меняться в зависимости от развиваемого давления, вязкости жидкости и частоты вращения. Кроме того, удары между винтами при пуске насоса, когда перекачиваемая жидкость не успела еще заполнить насос, и другие случайные причины способны вызвать повреждение острых винтовых кромок.
Рекомендуется к прочтению: Лопастные насосы и их эксплуатация на судне
Чтобы предупредить износ, винты коррегируют путем притупления острой кромки у ведомых винтов и некоторого утолщения профиля ведущего винта. Обычно острую кромку притупляют радиальной фаской, ширина которой (рис. 2, б):
Центральный угол:
Расстояние между осями ведомого и ведущего винтов равно dн. Для обеспечения герметичности длина обоймы должна быть больше длины замкнутого между витками объема жидкости. При больших давлениях (свыше 100 МПа) она может превышать 6t.
Теоретическая и действительная подача
Общее выражение для секундной теоретической подачи трехвинтовых насосов с односторонним подводом жидкости:
а также формула теоретической подачи винтового насоса с двусторонним подводом жидкости:
где:
- F – площадь живого сечения проточной части, равная разности площади поперечного сечения обоймы и площади поперечного сечения всех винтов, не занятой перекачиваемой жидкостью, которая составляет .
При ходе нарезки винтов теоретическая подача, л/с, составит для насоса:
- с односторонним подводом жидкости:
- с двусторонним подводом жидкости:
Действительная Судовые насосы и их эксплуатационные характеристикиподача насоса:
где:
- η0 – объемный КПД насоса.
Значение объемных потерь существенно зависит от точности изготовления рабочих органов насоса, так как взаимное уплотнение винтов осуществляется по узкой ленточке. На значение подачи большое влияние оказывает степень эмульсации масла. В современных тщательно выполненных масляных винтовых насосах объемный КПД доходит до 0,96-0,98.
Если , то основной геометрический параметр для насоса:
- с односторонним подводом жидкости:
- с двусторонним подводом жидкости:
Полученные значения dн обычно округляют до значения, кратного трем, что удобно для изготовления, так как при этом наружные и внутренние диаметры и ход винтов получают также круглые размеры. Зная dн, находят по формуле 1 другие размеры винтов.
Основы профилирования винтов
Определив основные размеры винтов, приступают к их профилированию. В современной гидравлике профилирование винтов насоса может выполняться в плоскости нормальной оси или вдоль неё. В сечении плоскостью нормальной оси профили легко можно дать в полярных координатах. Однако, так как при изготовлении винтов и шаблонов оперирование с углами несравненно сложнее линейных измерений, профили винтов целесообразнее дать окончательно в прямоугольных координатах.
Из полярных в прямоугольные координаты профили винтов легко перевести, рассматривая их в плоскости сечения вдоль оси винтов.
Читайте также: Судовые шестеренные насосы – расчет параметров и эксплуатационные особенности
Координаты точек профиля нарезки определяют следующим образом (рис. 3):
- глубину нарезки, равную разности наружного Rн и внутреннего Rв радиусов винта, делят на k частей, равное числу заданных точек для построения профиля;

- вычисляют радиусы точек деления глубины нарезки:
где:
по выражениям:
находят углы:
- α1 и γ1, α2 и γ2, α3 и γ3, … . Формулы 2 и 3 получаются из треугольника O2fO1;
- определяют углы поворота β1, β2, β3, …, соответствующие радиусам R1, R2, R3, …, по формулам:
- координаты профиля нарезки в сечении плоскостью вдоль оси будут (рис. 4):

- абсциссы:
- ординаты, соответствующие этим абсциссам:
где:
- t – ход винтовой линии.
Аналогичным образом определяются координаты профиля и для ведомого винта.
Далее производят коррегирование зацепления (см. п. «Теоретическая и действительная подача»).
Характеристики
Рабочие характеристики винтового насоса представляют собой графические зависимости подачи Q, мощности N и КПД η от напора H или полного давления p при постоянных частоте вращения n и вязкости ν жидкости (рис. 5).

При n = const теоретическая подача насоса Qт не зависит от полного давления p, создаваемого насосом, и изображается прямой линией. Действительная подача Q уменьшается с увеличением давления p, так как возрастают утечки жидкости q0 из напорной камеры насоса в приемную. Разность ординат между прямой Qт и кривой Q выражает потери подачи при определенном давлении.
Теоретическая мощность Nт пропорциональна давлению p и изображается наклонной прямой, проходящей через начало координат. Разность ординат между кривой N и прямой Nт дает значение мощности Nтр, затрачиваемой на преодоление механических потерь. Полезная мощность насоса изображается линией Nп. Разность ординат между линиями Nт и Nп определяет потерю мощности, вызываемую утечками жидкости. Гидравлические потери в винтовом насосе невелики, поэтому их объединяют с механическими потерями и учитывают механическим КПД ηм. КПД насоса:
С изменением вязкости жидкости, давления и частоты вращения изменяются подача и Общие сведения о судовых насосах и расчетные параметрымощность насоса. Пересчет их может быть выполнен по формулам:
- при изменении вязкости:
- при изменении давления:
- при изменении частоты вращения:
Эти формулы широко применяются на практике.
Конструкции
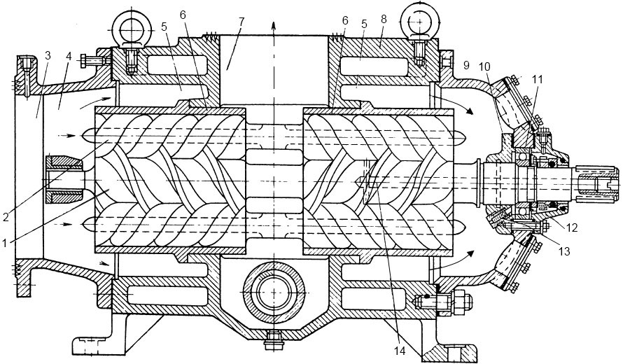
В качестве примера на рис. 6 приведен трехвинтовой насос ВС-200, спроектированный на подачу 200 м3/ч и давление 2,5 МПа при частоте вращения n = 1 450 об/мин.

Насос – горизонтальный с двусторонним подводом жидкости. Он установлен на плавучей нефтеперекачивающей станции проекта Р-62.
Насос имеет один ведущий винт 1 и 2 ведомых винта 2. Винты имеют по две нарезки противоположного направления. Всасывание жидкости происходит по концам, а нагнетание – в середине через патрубок 7. Такая конструкция обеспечивает полное уравновешивание осевой силы. Всасываемая насосом жидкость поступает к винтам 1 и 2 через приемный патрубок 3 и с противоположной стороны через внутренние каналы 5, сообщающиеся со всасывающей полостью насоса. Шариковый подшипник 11, установленный в крышке 9 корпуса 8, и подшипник скольжения 4, находящийся в центральной части перемычки приемного патрубка, служат опорами ведущего винта. На участках винтов с резьбой опорами служат бронзовые обоймы 6.
Будет интересно: Вихревые и струйные насосы – устройство и принцип работы на морских судах
Уплотнительные резиновые прокладки обеспечивают герметичность сопряжений деталей фланцев. Смазывание трущихся деталей производится перекачиваемой жидкостью; через отверстие 14 в теле ведущего винта она поступает к шариковому подшипнику. Предохранительный шариковый клапан 13 в случае превышения давления в плоскости между крышками сальника 10 и 12 перепускает жидкость во всасывающую полость. В насосе имеется предохранительный клапан для отвода перекачиваемой жидкости из нагнетательной полости во всасывающую. Для подогрева перекачиваемой жидкости при необходимости уменьшения ее вязкости насос имеет специальную рубашку, пар подводится в пространство между ней и корпусом.
О конструктивном устройстве трехвинтовых насосов с односторонним подводом жидкости дает представление рассмотренный ранее винтовой насос (см. рис. 1).
При эксплуатации винтовых насосов следует руководствоваться указаниями, приведенными в п. «Судовые шестеренные насосы – расчет параметров и эксплуатационные особенностиКонструкции и основы эксплуатации» для шестеренных насосов.
