Ответ на вопрос какое насосное оборудование выбрать для морского судна часто лежит в области изучения специализированных типов насосов. В многообразии насосного оборудования, выделяются два особых класса, принцип действия которых основан на гидродинамических эффектах – вихревые и струйные насосы морских судов. Вихревые насосы (или насосы с вихревым рабочим колесом) сочетают в себе черты центробежных и объемных машин. Устройство вихревых насосов уникально: позволяет достигать высоких напоров при относительно малых подачах, а также эффективно работать с жидкостями, содержащими значительное количество газа или пара. Это делает их незаменимыми во многих вспомогательных судовых системах.
В свою очередь, струйный насос (эжектор) принципиально отличается отсутствием движущихся механических частей. Его работа основана на передаче энергии от рабочего потока (жидкости или пара) к перекачиваемой среде, что обеспечивает высокую надежность, простоту конструкции и возможность использования в условиях, где механические насосы неэффективны или небезопасны, например, для осушения или перекачки высоковязких жидкостей.
Данный материал посвящен подробному рассмотрению устройства, принципа действия, характеристик и особенностей эксплуатации вихревых и струйных насосов в специфических условиях морских судов. Мы изучим основы их расчета, рассмотрим ключевые конструктивные решения и определим их роль в повышении общей эксплуатационной эффективности и надежности судовых систем.
Общее устройство, принцип действия и характеристики вихревых насосов
При малой подаче и большом напоре применяют вихревые насосы. Устройство вихревых насосов такого, что жидкость перемещается по периферии рабочего колеса в тангенциальном направлении.
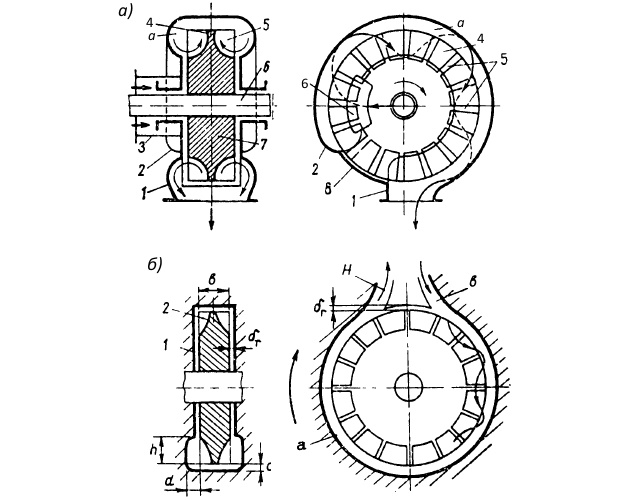
В корпусе 2 вихревого насоса (рис. 1, а) размещается рабочее колесо 7, жестко закрепленное на валу 6.

Колесо представляет собой диск с выфрезерованными или отлитыми заодно с ним с обоих торцов радиальными лопатками 5, разделенными перегородкой 4. Корпус насоса снабжен всасывающим 3 и нагнетательным 1 патрубками. Стенки его прилегают к торцовым поверхностям рабочего колеса с малыми осевыми зазорами δr (не более 0,2-0,3 мм). Периферийная часть колеса, на которой находятся лопатки, размещается в кольцевом канале а, образованном корпусом насоса. Канал заканчивается нагнетательным патрубком. Для входа жидкости в межлопаточные каналы в стенке корпуса сделано окно δ, расположенное в самом начале кольцевого канала. Начало этого канала и напорный патрубок отделены уплотняющей перемычкой 8, причем радиальный зазор δr в области ее допускается приблизительно 0,2 мм.
Жидкость поступает в насос через всасывающий патрубок 3 и далее через окно δ направляется к основаниям радиальных лопаток. При вращении рабочего колеса в межлопаточных каналах ей сообщается механическая энергия. Выходит жидкость из насоса через нагнетательный патрубок.
Предлагается к прочтению: Виды струйных насосов и принцип действия на судне
В кольцевом канале жидкость движется по винтовым траекториям и через некоторое расстояние опять попадает в межлопаточное пространство, где снова получает приращение механической энергии. Таким образом, в корпусе работающего насоса образуется своеобразное парное кольцевое вихревое движение, от которого он и получил название вихревого. Многократность приращения энергии частиц жидкости приводит к тому, что вихревой насос при прочих равных условиях создает напор значительно больший, чем центробежный.
Рассмотренный насос имеет закрытый канал и является самовсасывающим. Особенности конструкции вихревого насоса с открытым колесом представлены на рис. 1, б. В корпусе 1 с боковым кольцевым каналом а постоянного сечения вращается рабочее колесо 2, представляющее собой диск с лопатками. Всасывающее B и напорное H отверстия разделены перемычкой, которая примыкает к торцам и наружной цилиндрической поверхности лопаток и образует зазоры – осевой δт и радиальный δr. Насосы с открытым каналом имеют меньшие габаритные размеры по сравнению с насосами с закрытым каналом при тех же параметрах. Кроме того, они обладают свойствами реверсивности потока при перемене направления вращения ротора.
Судовые вихревые насосы применяются при малых значениях ns, обычно не более 40. Коэффициент полезного действия этих насосов не превышает 50 %, что ограничивает область их использования. Важными преимуществами вихревых насосов являются:
- простота конструкции;
- малые габаритные размеры и масса.
На судах их широко используют в Судовые системы бытового водоснабжениясистемах водоснабжения.
В тех случаях, когда от насоса требуется самовсасывание, применяют вихревые насосы с закрытым каналом.
Характеристики вихревых насосов имеют большую крутизну (рис. 2).

На рисунке показаны сравнительные характеристики:
- H – Q;
- N – Q;
- η – Q,
вихревого и центробежного насосов, построенные по результатам испытаний вихревого насоса с диаметром колеса 100 мм и центробежного – с диаметром колеса 150 мм при одной и той же частоте вращения (1 750 об/мин).
Использование вихревых насосов для обслуживания систем с пологими характеристиками неэкономично, так как при малых расходах жидкости в системе придется часть напора дросселировать в регулирующих клапанах. При работе насосов с крутой характеристикой N – Q требуется установка двигателя мощности большей, чем необходимо для расчетной подачи, так как двигатель, рассчитанный на эту подачу, при малых расходах жидкости в системе будет работать с перегрузкой, которая может оказаться недопустимой. В случае возможной работы насоса при малых подачах на нагнетательном трубопроводе устанавливают предохранительно-перепускной клапан, служащий для предупреждения перегрузки двигателя. Иногда такой клапан устанавливают на самом насосе.
Для повышения качества характеристик и экономичности, а также для улучшения всасывающей способности строят центробежно-вихревые насосы, первой ступенью которых является рабочее колесо Судовые центробежные насосы — конструкция, характеристики и основы эксплуатациицентробежного насоса, а второй – вихревого.
Основы расчета вихревых насосов
В связи со сложностью и недостаточной изученностью рабочего процесса вихревых насосов наиболее надежным методом расчета их является пересчет с модели на натуру.
При выборе модели по заданному напору, подаче и частоте вращения вала определяется коэффициент быстроходности натурного вихревого насоса. Из существующих моделей насосов выбирается та, для которой значение вычисленного коэффициента быстроходности соответствует оптимальному или близкому к нему режиму работы.
Учитывая, что вихревые насосы по абсолютным размерам и параметрам сравнительно мало отличаются один от другого (подача насосов 1-40 м3/ч), и наружные диаметры колес изменяются в пределах 80-200 мм), в первом приближении можно принять объемные, гидравлические и механические КПД одинаковыми у модельного и натурного насосов. В этом случае можно воспользоваться формулами подобия для подачи, напора и мощности «Конструкция и рабочие характеристики судовых центробежных насосовУравнение подобия для насосов», «Конструкция и рабочие характеристики судовых центробежных насосовОпределение напора насоса» и «Конструкция и рабочие характеристики судовых центробежных насосовОпределение мощности насоса», представив их в виде:
где:
- – отношение линейных размеров натурного и модельного насосов.
Степень точности расчетных и экспериментальных характеристик зависит от значения коэффициента масштабного пересчета λ (при λ, близких к единице, степень точности выше) и отношения частот вращения.
Известно, что торцовые и радиальные зазоры между рабочим колесом и корпусом оказывают большое влияние на напор насоса. Для повышения напора вихревого насоса зазоры делают минимальными. Следовательно, они не поддаются законам моделирования. Число лопаток рабочего колеса также не учитывается при модельном пересчете.
Экспериментальные исследования показали, что при пересчете вихревых насосов с 1 450 на 2 900 об/мин в расчет характеристик необходимо вводить поправочные коэффициенты.
При отсутствии подходящей модели ориентировочный расчет вихревого насоса проводится на основании обобщенных опытных данных. Для расчета насоса должны быть заданы подача Q и напор H. Частота вращения n рабочего колеса обычно принимается равной 1 450-2 900 об/мин.
Исходя из заданного напора и принятой частоты вращения решают вопрос, каким должен быть насос – одноступенчатым или многоступенчатым. Обычно считают, что в одной ступени при частоте вращения n = 2 900 об/мин можно получить напор до 200-250 м, а при n = 1 450 об/мин – 80-100 м. Судовые насосы, как правило, выполняют одноступенчатыми.
Из уравнения:
где:
- ψ – коэффициент напора, можно определить окружную скорость u2 на внешнем диаметре колеса:
Значение коэффициента напора находится в пределах 2,5-5,0 и зависит от:
- коэффициента быстроходности;
- формы лопастей, их числа;
- соотношений между размерами лопастей и канала.
По скорости u2 и частоте вращения n находят внешний диаметр колеса:
Средняя скорость в боковом канале:
где:
- Ф – коэффициент расхода, обычно принимается равным 0,5.
Тогда площадь fб к сечения бокового канала:
Канал может иметь форму:
- полукруглую,
- грушевидную,
- прямоугольную.
Наилучшие результаты по КПД и напору дает насос с полукруглой формой сечения канала, однако Основные характеристики судовых насосов и системхарактеристики насоса получаются при этом очень крутыми. С эксплуатационной точки зрения предпочтительной является прямоугольная форма сечения канала, так как в этом случае напор и мощность с уменьшением подачи возрастают не так сильно, как при полукруглом сечении. Канал с прямоугольной формой сечения обеспечивает большой коэффициент напора ψ и лучшую всасывающую способность, чем с грушевидной формой.
При прямоугольном сечении канала со скругленными краями (см. рис. 1, б) высота лопатки может быть определена по формуле:
где:
- kу – коэффициент, учитывающий уменьшение площади из-за закругления углов.
Определяется отношение h/D2, обычно h/D2 = 0,1‐0,2. Для размеров b, d и c характерны следующие соотношения:
Число лопастей колеса выбирается от 24 до 60.
Конструкции и особенности эксплуатации вихревых насосов
Российская промышленность выпускает вихревые насосы общего назначения на параметры, указанные в ГОСТ 10392-80.
На рис. 3, а показано устройство вихревого насоса типа ВК.

а – вихревой; б – центробежно-вихревой
Он состоит из корпуса 6 и крышки 7, в которых вращается рабочее колесо 1, консольно-насаженное на вал 3. Корпус крепится к опорному кронштейну 4. В насосе применен сальник 5 с мягкой набивкой. Шариковые подшипники смазываются машинным маслом, которое заливается в кронштейн. Вал насоса соединяется с валом электродвигателя при помощи эластичной муфты (не показана).
В тех случаях, когда от насоса требуется самовсасывание, он снабжается колпаком 2, благодаря которому в нагнетательной камере насоса при пуске воздух отделяется от воды. По стенкам колпака вода стекает в насос, а воздух уходит в трубопровод, в результате чего во всасывающей полости насоса и во Трубопроводы, арматура и устройство судовых системвсасывающем трубопроводе создается требуемое разрежение, способствующее заполнению трубопровода перекачиваемой водой.
Одна из конструкций центробежно-вихревого насоса (рис. 3, б) состоит из двух последовательно включенных колес – центробежного 6 и вихревого 5, насаженных на общий вал 1. Жидкость подводится к центробежному колесу, как указано стрелкой, по каналу в корпусе 3. Поток жидкости выбрасывается центробежным колесом в специальный отвод и поступает далее по каналу корпуса во входное отверстие вихревого колеса. Последнее подает жидкость через канал а в нагнетательный трубопровод.
Опорой вала со стороны приводного двигателя являются 2 однорядных шарикоподшипника 9, воспринимающие также осевую нагрузку. Эти подшипники монтируются в приливе 8 и фиксируются в осевом направлении крышкой 2. Другой конец вала поддерживается шарикоподшипником, установленным в крышке 4 корпуса. Смазка подшипников консистентная, удерживаемая от растекания по валу войлочными кольцами.
Уплотнение вала со стороны двигателя достигается резиновым кольцом 7 и системой прижимных втулок и пружины. Кроме того, в полость уплотнения по каналу в подводится вода под давлением от центробежного колеса. Таким образом, обеспечивается водяное уплотнение. Аналогично выполнено уплотнение вала на стороне вихревого колеса. Жидкость, проникающая сквозь уплотнения, отводится через отверстие б в трюм или в сливной трубопровод.
Читайте также: Классификация судовых насосов и принципы работы
Перед пуском вихревого насоса необходимо осмотреть его и проверить наличие масла в кронштейне (см. рис. 3, а). Открыть клапаны на всасывающем и напорном трубопроводах и залить водой насос и всасывающий трубопровод. При наличии у насоса колпака заливки всасывающего трубопровода не требуется, однако насос должен быть залит.
Подготовив насос, запускают электродвигатель, предварительно выполнив все подготовительные операции.
Во время работы насоса не должно наблюдаться вибраций и сотрясений. Наличие этих явлений указывает на плохую центровку насоса с электродвигателем. Необходимо следить за показаниями контрольно-измерительных приборов, работой сальника и температурой подшипников.
Так как у вихревых насосов при уменьшении подачи резко возрастают напор и потребляемая мощность, что может привести к перегрузке двигателя или повреждению трубопровода, необходимо внимательно следить за работой предохранительно-перепускного клапана.
Для остановки насоса следует остановить электродвигатель, а затем закрыть клапаны на напорном и всасывающем трубопроводах. Вихревой насос, работающий на пневмоцистерну, включается и выключается автоматически при помощи реле. Пуск, обслуживание во время работы и остановку центробежно-вихревых насосов проводят в основном так же, как и вихревых насосов.
Струйные насосы
В данном пункте рассмотрим устройство струйного насоса и его рабочие параметры. Область применения Судовые струйные насосы — виды и эксплуатационные параметрыструйных насосов на морских судах является достаточно широкой, хотя на судах внутреннего плавания применяются водоструйные насосы (эжекторы).
Что такое эжектор?
Эжектор – это специализированное гидравлическое устройство, которое является одним из наиболее важных и надежных элементов судового оборудования для работы с жидкостями и газами. Они используются в качестве осушительных и водоотливных средств.
Среди судовых насосов водоструйные эжекторы наиболее просты как в конструктивном, так и в эксплуатационном отношении. Они обладают высокой способностью к сухому всасыванию. Существенным недостатком эжекторов является их низкий КПД.
Работа водоструйного эжектора основана на принципе непосредственной передачи энергии от струи рабочей воды всасываемому потоку жидкости.
Перекачиваемая вода поступает в эжектор (рис. 4, а) через патрубок 1.

а – устройство; б, в – характеристики
Рабочая вода подается под давлением в сужающееся сопло (насадку) 2. При ее истечении из сопла с большой скоростью в камере смешения 3 создается разрежение, необходимое для подсасывания перекачиваемой жидкости. Далее жидкость проходит через цилиндрическое горло 4 и диффузор 5 в нагнетательный трубопровод (не показан). В диффузоре скорость ее движения уменьшается, а давление повышается.
Эжектор является динамическим насосом трения, в котором перекачиваемая вода перемещается потоком рабочей воды. На судах рабочей водой для эжекторов является вода, подводимая из пожарной магистрали.
Отношение количества Gвс всасываемой эжектором воды к количеству Gр рабочей воды называется коэффициентом всасывания (эжекции) q. У эжекторов в зависимости от рабочих параметров (давления рабочей среды, нагнетания, высоты всасывания) коэффициент всасывания составляет 1,4-3,0.
Рекомендуется к прочтению: Поршневые насосы морских судов — классификация, устройство и принцип работы
Коэффициент всасывания в большой степени зависит от длины lсм пути смешения, т. е. от расстояния между выходным сечением сопла и входным сечением в диффузор (см. рис. 4, а). Изменение этого расстояния в ту или иную сторону от оптимального значения снижает коэффициент всасывания. При этом под оптимальным значением lсм понимается такое его значение, когда при заданных:
- давлении рабочей воды;
- давлении нагнетания и всасывания,
эжектор имеет наибольший коэффициент всасывания.
Наличие горла (цилиндрической части камеры смешения) повышает эффективность работы эжектора. Эжектор с горлом работает более устойчиво, т. е. работает без срыва при повышении давления нагнетания. При срыве рабочая струя вместо диффузора поступает во всасывающий трубопровод.
Экономичность работы водоструйного насоса, как и насосов других типов, характеризуется КПД. У водоотливного эжектора КПД представляет собой отношение работы, затраченной на подъем жидкости, к энергии рабочей струи. Полезная работа эжектора в единицу времени:
где:
- Hнг – напор в выходном сечении диффузора, м;
- Hвс – высота всасывания, м (разряжение определяется с помощью вакуумметра, установленного в месте соединения приемной камеры со всасывающим трубопроводом).
Затраченная энергия рабочей струи:
где:
- Hр – напор рабочей воды перед соплом, м.
КПД эжектора выразится уравнением:
или
Значение КПД находится в пределах 0,2-0,3. Количество Gвс воды, всасываемой эжектором, зависит от Hр, Hвс, Hнг и некоторых других факторов.
На рис. 4, б показана характеристика водоструйного эжектора, представляющая собой зависимость производительности Gвс от высоты всасывания Hвс при давлении рабочей воды перед соплом 0,7 МПа и напоре Hнг = 6 м. Из рисунка видно, что с увеличением высоты всасывания Hвс количество всасываемой эжектором воды Gвс уменьшается.
На рис. 4, в показаны характеристики того же эжектора, выражающие зависимость подачи Gвс от высоты нагнетания Hнг при давлении рабочей воды перед соплом 0,8 МПа и Hвс = 2,5; 3; 4; 5; 6; 7 м. Эжектор без снижения подачи может развивать напор до 12 м.
Будет интересно: Осевые насосы — устройство и принцип работы на судах
Рассмотрим теперь основы эксплуатации водоструйных эжекторов. При подготовке эжектора к действию следует открыть запорные клапаны у всасывающего патрубка и на трубопроводе рабочей жидкости. Клапан на отливном трубопроводе должен быть открыт.
При пуске эжектора необходимо убедиться в том, что давление рабочей воды достаточно для обеспечения нормальной его работы. Во время работы эжектора поддерживают необходимое давление рабочей жидкости и не допускают увеличения противодавления выше указанного в инструкции по эксплуатации.
При обслуживании переносных эжекторов не должно быть заломов на приемных и отливных шлангах. При выключении эжектора закрывают клапаны:
- на трубопроводе рабочей жидкости;
- на всасывающем и отливном трубопроводах.
При эксплуатации водоструйных эжекторов могут возникнуть различные неполадки. Основные причины, снижающие эффективность действия эжекторов, следующие:
- нарушение центровки сопла по отношению к оси камеры смешения (в этом случае эжектор резко снижает подачу);
- изменение расстояния lсм (см. рис. 4, а) между соплом и входом в диффузор в ту или иную сторону (значительное изменение может привести к тому, что эжектор прекратит всасывание);
- засорение приемной сетки всасывающего трубопровода;
- нарушение воздухонепроницаемости всасывающего трубопровода и тех частей эжектора, которые находятся под разрежением;
- неправильная установка эжектора на судне при заданной общей высоте подъема воды (эжектор следует устанавливать ближе к уровню всасывания, чтобы подъем воды происходил за счет нагнетания, а не за счет всасывания).
