Насосы объемного типа на судне обеспечивают надежную подачу рабочих жидкостей при высоких давлениях и в широком диапазоне режимов эксплуатации. Пластинчатые и роторно-поршневые насосы широко применяются на морских судах в системах гидроприводов, смазки, топливоподачи и управления механизмами. Их конструкция отличается сравнительной компактностью, высоким КПД и стабильностью характеристик при изменении нагрузки. В то же время особенности кинематики и рабочих процессов таких насосов требуют от обслуживающего персонала глубокого понимания принципов их работы.
Радиально- и аксиально-поршневые насосы, как разновидности роторно-поршневых машин, позволяют реализовать высокие давления и точное регулирование подачи. Правильный выбор типа насоса напрямую влияет на надежность и экономичность судовых систем. Не менее важным фактором является грамотная эксплуатация и своевременное техническое обслуживание, определяющие ресурс агрегатов в условиях морской службы. В данном материале рассмотрены конструкция, эксплуатационные особенности и рабочие характеристики судовых насосов.
Общие сведения
На судах все чаще применяют механизмы с гидроприводом. Ответственными элементами гидроприводов являются насосы, от эффективности действия которых зависят надежность и экономичность работы гидропривода в целом.
В гидроприводах применяют насосы различных типов:
- пластинчатые,
- роторно-поршневые,
- шестеренные,
- винтовые.
Все эти судовые насосы являются роторными, действующими, как и все насосы объемного типа, по принципу вытеснения.
Что такое роторный насос?
Роторный насос – это объемный насос, в котором перемещение жидкости происходит путем ее вытеснения из рабочих камер, образующихся между вращающимися рабочими органами (роторами) и неподвижным корпусом (статором).
Роторные насосы и их эксплуатация на суднеРоторные насосы применяют в:
- различных типах гидравлических рулевых машин;
- гидравлических лебедках различного назначения;
- гидрофицированных якорно-швартовных механизмах;
- люковых закрытиях и т. д.
Роторно-поршневые насосы выполняют:
- радиальными,
- аксиальными.
В мощных гидроприводах наиболее распространены аксиально-поршневые насосы, так как они имеют меньшие габаритные размеры и массу, чем радиально-поршневые. Аксиально-поршневые насосы, как правило, имеют торцовое распределение и отличаются типами кинематических схем. Как показывает мировая практика, рабочее давление у новейших насосов этого типа достигает 35-40 МПа. Однако аксиально-поршневые насосы с таким давлением требуют высокого уровня производства и эксплуатации, поэтому применяются, прежде всего, в точных (следящих) гидросистемах или в ответственных узлах, влияющих на живучесть машины в целом. Объемные насосы для судовых гидросистем, включая аксиально-поршневые, пластинчатые и шестеренные конструкции, находят широкое применение и в гидроприводах судов внутреннего плавания.
В гидроприводах в качестве рабочих жидкостей применяют в основном минеральные масла. Марка масла, на котором должен эксплуатироваться насос, и диапазон рабочих температур масла указывают в технической документации на насос. Обычно применяют минеральные масла марок:
- АМГ-10,
- АУ,
- МВП,
- индустриальное 20,
- веретенное АУ.
При длительной работе масло в той или иной мере изменяет первоначальные физико-химические качества, что приводит к необходимости его периодической замены. Продолжительность эксплуатации масла в гидроприводах до замены определяется:
- степенью его загрязненности;
- изменением вязкости;
- содержанием воды;
- кислотным числом и другими физико-химическими параметрами.
Наиболее важным показателем является наличие в масле загрязнений. Хорошая Фильтрация и фильтрационные установки очистки топлива на судахфильтрация масла на всех стадиях его использования в гидроприводах наряду с тщательной промывкой самой гидравлической системы перед заправкой ее свежим маслом может существенно продлить срок службы масла и эксплуатацию гидропривода.
Пластинчатые насосы
Эти насосы бывают однократного и многократного действия. На судах внутреннего плавания применяют пластинчатые насосы однократного и двукратного (двойного) действия. В насосах однократного действия за один оборот вала происходит один полный цикл работы, включающий в себя процессы всасывания и нагнетания. В насосах двукратного действия за один оборот вала происходят 2 полных цикла работы, т. е. 2 процесса всасывания и 2 процесса нагнетания.
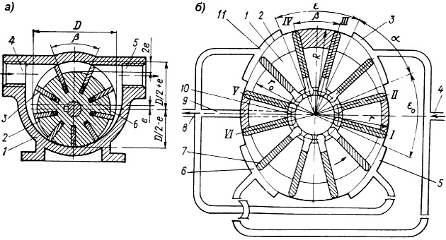
На рис. 1 приведена конструкция пластинчатого насоса.

а – однократного действия; б – двукратного действия
Ротор 2 пластинчатого насоса однократного действия (рис. 1, а) представляет собой барабан с пазами, в которые входят пластины 3. Ротор эксцентрично установлен в корпусе (статоре) 1. При вращении его пластины прижимаются своими наружными торцами к внутренней поверхности корпуса насоса пружинами 6 и центробежной силой. Объем полости, заключенной между соседними пластинами, поверхностью ротора и стенкой корпуса, при движении в районе камеры всасывания 4 увеличивается, вследствие чего происходит всасывание жидкости. Наоборот, при движении в районе камеры нагнетания 5 объем этой полости уменьшается и происходит вытеснение жидкости в Трубопроводы, арматура и устройство судовых системнапорный трубопровод.
Максимальный эксцентриситет в пластинчатых насосах однократного действия:
где:
- D – диаметр расточки корпуса.
Число пластин составляет 6-12. Через β на рис. 1 обозначен угол между пластинами. Насосы однократного действия могут быть регулируемыми и нерегулируемыми. Недостаток этих насосов заключается в большой радиальной нагрузке на вал ротора, поэтому их применяют для сравнительно небольших давлений (до 4-5 МПа).
Для высоких давлений (14 МПа и выше) применяют нерегулируемые пластинчатые насосы двукратного действия, которые являются уравновешенными. Ротор 1 такого насоса (рис. 1, б) имеет пазы с лопатками 7. При вращении ротора лопатки под действием центробежной силы своими наружными кромками упираются во внутреннюю поверхность корпуса (статора) 2. Следуя за очертанием этой поверхности, они совершают возвратно-поступательное перемещение. Для надежного контакта торцов лопаток с корпусом в роторе предусмотрена кольцевая выточка 10, которая каналом 9 сообщается с нагнетательной полостью. Внутренняя полость статора на различных участках очерчена по-разному. В пределах угла ε0 радиус очертания внутренней поверхности постоянный и равен r. В пределах угла α радиус поверхности статора увеличивается от минимального значения r до максимального R.
Насос работает следующим образом. Объем, заключенный между ротором, статором и двумя лопатками I и II, при вращении ротора против часовой стрелки увеличивается и заполняется через окно 3, сообщающееся с всасывающим трубопроводом 4. После поворота ротора на угол α + ε этот объем начнет уменьшаться. Заполняющая его жидкость вытесняется в окно 11, которое сообщается с напорным трубопроводом 8. В нижней части насоса процессы всасывания и нагнетания повторяются. Здесь жидкость поступает в рассматриваемый объем через окно 6, а вытесняется через окно 5. В результате за один оборот каждое межлопастное пространство дважды всасывает и нагнетает жидкость.
Цифрами І-VI обозначены смежные лопатки, а через r0 – соответствующий радиус внутренней поверхности статора.
Рекомендуется к прочтению: Судовые насосы и их эксплуатационные характеристики
В пластинчатых насосах зазор между пластинами (лопатками) и пазами ротора составляет 0,01-0,03 мм.
Российская промышленность выпускает пластинчатые насосы различных типоразмеров. Среди них 12 модификаций насосов Г12-2, рассчитанных на подачу 5-200 л/мин при рабочем давлении 6,3 МПа, и 12 модификаций насосов БГ12-2, рассчитанных на ту же подачу при рабочем давлении 12,5 МПа.
Роторно-поршневые насосы
Различают роторные радиально-поршневые насосы с радиальным расположением цилиндров относительно оси вращения ротора и аксиально-поршневые насосы с аксиальным расположением цилиндров относительно оси вращения цилиндрового блока. В первых насосах движение поршней (плунжеров) происходит в одной плоскости, во вторых – в пространстве, что во многом определяет особенности работы роторно-поршневых насосов на судне, включая характер распределения нагрузок, неравномерность подачи и требования к точности изготовления и условиям эксплуатации.
Радиально-поршневые насосы
В радиально-поршневых насосах (рис. 2) цилиндры располагают звездообразно, причем оси их находятся в общей плоскости и пересекаются в одной точке.

Ротор 4 насоса, представляющий собой блок из нескольких цилиндров, вращается в постоянном направлении. Вместе с блоком вращаются находящиеся внутри его цилиндров плунжеры 5 и шарнирно связанные с ними ползуны 6. Опорные части ползунов прижимаются под действием центробежной силы к внутренней поверхности окружающего их направляющего кольца 7 и скользят по этой поверхности. Направляющее кольцо при помощи цапф 8 подвешивается к неподвижно укрепленному корпусу 9 насоса так, что может смещаться вправо или влево внутри корпуса, не теряя с ним связи. Окруженная звездообразным ротором центральная неподвижная часть (цапфа) насоса имеет перемычку 1, отделяющую верхнюю 3 внутреннюю полость насоса от нижней 2.
В положении, показанном на рис. 2, а, когда центр направляющего кольца 7 совпадает с центром звездообразного ротора 4, вращение последнего не вызывает подачи жидкости, заполняющей внутренние полости насоса. Плунжеры 5 вращаются вместе с ротором, но никакого движения внутри его цилиндров не получают.
Сдвиг направляющего кольца вправо вызывает перемещение плунжеров в цилиндрах (рис. 2, б), в результате чего плунжеры, продолжая вращаться вместе с ротором, одновременно получают возвратно-поступательное движение внутри цилиндров.
При указанном направлении вращения ротора (против часовой стрелки) в нижнюю внутреннюю полость 2 жидкость будет всасываться, а в верхнюю полость 3 – нагнетаться. Если направляющее кольцо сместить влево, плунжеры также получат возвратно-поступательное движение в цилиндрах, но верхняя полость насоса окажется тогда всасывающей, а нижняя – нагнетательной. В присоединенных к этим полостям трубах направление движения жидкости изменится на обратное.
Изменяя смещение кольца, т. е. получаемый им эксцентриситет по отношению к ротору, можно увеличивать или уменьшать ход плунжеров в цилиндрах, что будет изменять подачу, развиваемую насосом. В схеме, показанной на рис. 2, плунжеры опираются на направляющее кольцо посредством ползунов (башмаков). Применяют также схемы, в которых плунжеры опираются на кольцо при помощи роликов. Цилиндры располагают в один или несколько рядов (5-13 цилиндров в каждом ряду). Уплотнение плунжеров цилиндров достигается путем обеспечения минимального диаметрального зазора (0,03-0,04 мм). Диаметральный зазор между цапфой и втулкой цилиндрового блока составляет обычно 0,04-0,06 мм.
Радиально-поршневые насосы имеют большой срок службы. Они находят применение в мощных гидроприводах Морские буксирные суда, классификация и видыморских судов. На судах внутреннего плавания эти насосы не используются.
Аксиально-поршневые насосы
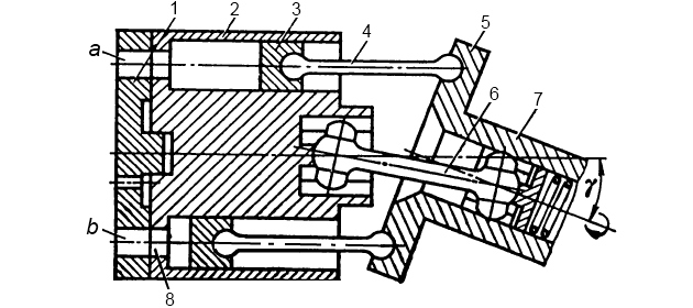
Типовая схема насоса данного типа показана на рис. 3.

Аксиально-поршневой насос с наклонным диском состоит из цилиндрового блока 2 с поршнями 3, связанными при помощи шатунов 4 с наклонным диском (шайбой) 5. Цилиндровый блок получает вращение от ведущего вала 7 с помощью кардана 6.
Распределение жидкости происходит через окна a и b золотника 1 и отверстия 8 в цилиндровом блоке. Если ведущий вал 7 и цилиндровый блок 2 расположить на одной оси (угол γ = 0), то подача насоса также будет равна нулю, так как поршни 3, вращаясь вместе с блоком, не будут иметь осевых перемещений относительно своих цилиндров.
При отклонении оси вала 7 от оси цилиндрового блока 2 на некоторый угол γ, как это показано на схеме, поршни 3 получат наряду с вращательным движением совместно с блоком еще возвратно-поступательное движение внутри цилиндров, поэтому насос будет давать подачу рабочей жидкости определенного направления. Например, для указанных на схеме направления вращения и угла γ верхнее окно a будет всасывающим, а нижнее b – нагнетательным. Если при неизменном направлении вращения отклонить ось вала 7 на угол γ в противоположном направлении от оси блока 2, то окно a станет нагнетательным, а b – всасывающим. Изменение направления вращения приводного вала также изменило бы направление потока рабочей жидкости, но этого никогда не делают, так как выгоднее иметь приводной электродвигатель постоянного направления вращения.
Читайте также: Судовые шестеренные насосы – расчет параметров и эксплуатационные особенности
Таким образом, изменяя размер и знак угла γ, регулируют значение и направление подачи насоса. Обычно наибольший угол γ составляет 30°, а количество цилиндров в блоке 7-9.
Поршень (плунжер) сажают в цилиндр с диаметральным зазором в пределах 0,01-0,02 мм, который обычно обеспечивают притиркой. Помещенный в смазанный вертикально расположенный цилиндр поршень должен медленно опускаться под действием собственного веса.
Одним из основных требований при обработке пары поршень-цилиндр является обеспечение цилиндричности их рабочих поверхностей; овальность и конусность их не должны превышать соответственно 0,002 и 0,005 мм.
При обработке необходимо выдержать параллельность опорных торцов цилиндрового блока и распределительного диска, а также их перпендикулярность осям вращения; отклонения в параллельности не должны превышать 0,005-0,01 мм; непрямолинейность этих поверхностей не должна превышать 0,005 мм. Выпуклость поверхностей недопустима; вогнутость – не более 0,005-0,01 мм.
Обслуживание насосов
Гидронасос должен работать на определенном сорте рабочей жидкости (масле), так как от физико-химических свойств этой жидкости во многом зависит работоспособность насоса.
Масло следует заливать в насос (гидросистему) через заливной фильтр, обеспечивающий надежную фильтрацию масла. Перед заливкой масло проверяют на соответствие государственному стандарту или техническим условиям. При заливке масла должен быть обеспечен выход воздуха из насоса (гидросистемы) через соответствующие отверстия, закрываемые пробками.
Во время Судовые центробежные насосы – конструкция, характеристики и основы эксплуатацииэксплуатации насоса необходимо поддерживать требуемую чистоту рабочего масла путем своевременной очистки фильтров, спуска отстоя и замены отработавшего масла. Периодически следует производить анализ рабочего масла. Насос и всю гидросистему следует содержать в чистоте. Наиболее чувствительны к загрязнениям и к изменению температуры рабочего масла плунжерные насосы. Меньше всего сказывается изменение температуры масла на работе пластинчатых насосов. Практика показывает, что выход из строя гидронасосов в основном, плунжерных, как правило, объясняется нарушением требований по чистоте рабочей жидкости. Закрытая заправка баков гидросистем и периодический контроль чистоты рабочей жидкости в процессе эксплуатации значительно позволяет уменьшить число отказов насосов по причине загрязненности.
На работу насосов гидроприводов оказывает влияние также колебание температуры рабочего масла. Особенно чувствительны к колебаниям температуры масла насосы поршневой конструкции. При обслуживании насосов необходимо наблюдать за температурой рабочего масла и поддерживать его в пределах, указанных в инструкции по эксплуатации.
При подготовке к действию насос необходимо осмотреть снаружи и убедиться в его исправности. При обнаружении ослабления болтов, крепящих гидронасос в установке, их следует подтянуть. Если гидронасос и его трубопровод не полностью заполнены маслом, то масло следует добавить. Насос запускают лишь после того, как подготовлен к работе гидропривод в целом.
Во время работы насоса необходимо наблюдать за показаниями контрольно-измерительных приборов, которые должны соответствовать паспортным данным насоса. При подтекании масла из-под фланцев, мест разъемов крышек и подсоединений трубопроводов необходимо подтягивать крепежные детали. Нельзя допускать подсоса воздуха в гидросистему. При появлении ударов и стуков, свидетельствующих о ненормальной работе или поломке деталей насоса, его следует остановить и устранить причины неисправности. Пуск любого насоса без наличия в нем масла не допускается.
