Струйные насосы, на протяжении десятилетий занимавшие прочное место в судостроении и многих других отраслях, представляют собой удивительное воплощение принципов гидродинамики и термодинамики. Их уникальная конструкция, лишенная движущихся частей, обеспечивает непревзойденную надежность, простоту обслуживания и долговечность, что делает их незаменимыми для решения широкого круга задач на судах. От перекачки различных жидкостей и газов до создания вакуума и смешивания сред – струйные насосы демонстрируют свою эффективность в самых разных условиях.
В данном материале мы подробно рассмотрим принцип работы струйного насоса на судне, основные виды, такие как пароструйные и водоструйные насосы, а также углубимся в методы их расчета, что позволит понять ключевые параметры, влияющие на их производительность и эффективность.
Общие сведения о струйных насосах
Струйный насос представляет собой аппарат, в котором под действием струи жидкости или пара, движущейся по каналу специальной формы, достигается разность давлений во всасывающем и нагнетательном патрубках, благодаря чему обеспечивается возможность перекачивания жидкости или газа.
Различают струйные насосы с непрерывной подачей рабочей жидкости (пара) и с прерывистой.
В зависимости от вида рабочей жидкости судовые струйные насосы разделяются на:
- пароструйные,
- и водоструйные.
Пароструйные насосы применяют на судах как запасные питательные средства паровых котлов, воздушных отсасывающих насосов для удаления воздуха из конденсаторов и рефулерных насосов, а также как вентиляционные устройства при зачистке Цистерны, трубопроводы и электрооборудование судовнефтеналивных цистерн.
Водоструйные насосы используются в судовых условиях для осушения отсеков и в качестве золо- и шлакоудалительных средств, а также в качестве рефулерных на землесосных снарядах (гидроземлесосы).
Что такое инжектор?
Инжектор – это пароструйный насос, способный создать давление, превышающее котельное. Насосы, предназначенные для удаления (откачивания) жидкости, называются эжекторами.
Преимущества струйных насосов следующие:
- отсутствие движущихся частей (нет ни поршней, ни роторов);
- простота и компактность конструкции (малые масса и габариты);
- способность сухого всасывания;
- способность перекачивать загрязненную жидкость.
Чрезвычайно низкий КПД струйного насоса (иногда 3-4 %) и невозможность регулирования производительности – это основные недостатки данного типа насосов, ограничивающие область их применения.
Из-за указанных недостатков струйные насосы используют только на кратковременно действующих установках, где низкая экономичность окупается их простотой и надежностью действия.
Пароструйные насосы
Принцип работы пароструйного насоса (эжектора) ясно из схемы, приведенной на рис. 1.

Пароструйные эжекторы используют в качестве водоотливных средств на Появление первых пароходов и развитие их технологичностипаровых судах, особенно в небольших отсеках (форпиках, ахтерпиках). Основные данные пароструйных эжекторов приведены на рис. 2.

У паровых эжекторов отдельных конструкций подача пара регулируется путем введения иглы (штревеля) в сопло (паровой конус), а у простейших эжекторов – с помощью клапана на трубе, подводящей пар.
Инжекторы, как уже указывалось, используют в качестве дополнительных питательных средств паровых котлов. Их низкий КПД в данном случае компенсируется высоким термическим КПД, так как тепло, отдаваемое струей, идет на подогрев питательной воды. Температура последней после прохождения через инжектор повышается. Несмотря на это, нельзя считать инжекторы средством, пригодным для регулярного питания Ремонт паровых котлов и теплообменных аппаратовпаровых котлов, так как по сравнению со специальными питательными насосами и водонагревателями, использующими тепло отработавшего пара, инжекторы все же неэкономичны.
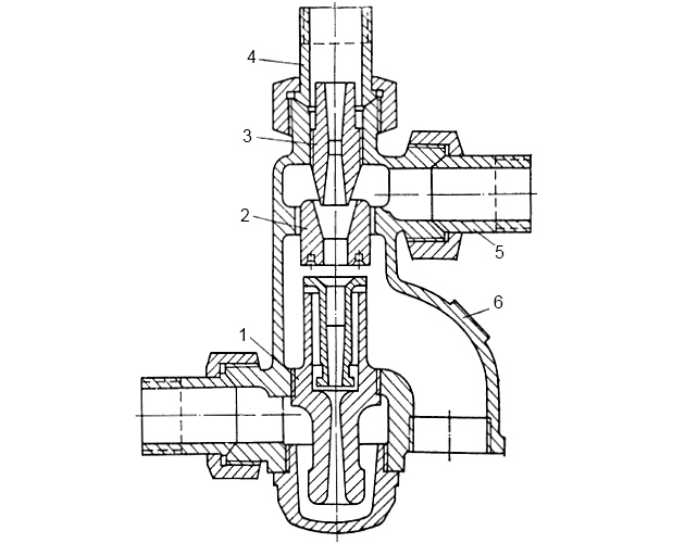
На рис. 3 показан самовсасывающий инжектор, особенностью которого является способность самовосстанавливать работу в случае кратковременного прекращения подачи воды из-за попадания воздуха во всасывающую водяную магистраль.

Инжектор имеет три конуса:
- паровой 3;
- смесительный 2;
- и нагнетательный 1,
которые монтируют в корпусе на резьбе.
Смесительный конус состоит из двух частей:
- верхней,
- и нижней.
Нижнюю часть, имеющую направляющие ребра по длине и под опорным буртом, вставляют по напряженной посадке в верхнюю расточенную часть нагнетательного конуса. Вертикальный зазор между частями смесительного конуса, составляющий обычно половину диаметра выходного отверстия верхней части, может быть изменен путем перемещения в резьбе нагнетательного конуса.
Зазор между паровым конусом и верхней частью смесительного конуса регулируют перемещением по резьбе самого парового конуса.
Свежий пар, подводимый по трубе 4, проходит через паровой конус и, вытекая из него с большой скоростью, отсасывает воздух из Ремонт трубопроводов и арматурыприемного трубопровода 5.
Паровоздушная смесь через зазор между частями смесительного конуса выходит в вестовую трубу 6 и из нее через невозвратный клапан (на рисунке не показан) удаляется в атмосферу.
По мере создаваемого в приемной трубе разрежения вода начинает подниматься, достигает смесительного конуса и через кольцевой зазор увлекается внутрь конуса. При этом вода встречается с быстро истекающей струей пара, что сопровождается передачей кинетической энергии пара воде и одновременной конденсацией рабочего пара.
Получив первоначальный толчок, вода протекает через зазор и попадает в сходящийся конус нижней части, где ее скорость увеличивается. Затем вода выбрасывается в нагнетательный конус, где ее кинетическая энергия превращается в статическое давление.
Струя воды, проходящая с большой скоростью через зазор между частями смесительного конуса, создает разрежение в вестовой трубе, вследствие чего невозвратный вестовой клапан садится в гнездо.
Рекомендуется к прочтению: Ротационные насосы – типы и особенности работы на судне
Нормальная работа пароструйных насосов может быть нарушена вследствие понижения давления пара, засорения или неправильной установки сопла, износа внутренней поверхности всех конусов или наличия накипи на их стенках, повышенного подпора подводимой воды, неплотностей вестового клапана и др. Таким образом, пароструйные насосы весьма чувствительны к качеству сборки и износу своих узлов.
Водоструйные насосы
Водоструйный эжектор показан на рис. 4.

Основные характеристики нормализованных водоструйных эжекторов приведены на рисунке 5.

Рассмотрим принцип работы водоструйного эжектора на судне. Эффективная работа эжектора зависит от соосности сопла, камеры смешения и диффузора, а также от разности давлений рабочей жидкости при входе в эжектор и жидкостной смеси на выходе из него.
Особенности эксплуатации водоструйных насосов на рыболовных судах. Способность эжектора перекачивать жидкость вместе с механическими примесями используется на Рыбопромысловый флотрыбопромысловых судах для его работы в качестве рыбонасоса или гидроэлеватора, обеспечивающего перегрузку рыбы из орудий лова на судно, с добывающих судов на перерабатывающие, а также для подачи рыбы к технологическому оборудованию. Эжекторный рыбонасос позволяет поднимать рыбу на высоту до 2,5 м от уровня моря.
Основными недостатками водоструйных рыбонасосных установок, ограничивающими их применение, является низкий КПД (не выше 10-15 %) и необходимость подачи рабочей жидкости центробежными насосами под значительным давлением и в большом количестве.
Что такое эрлифт?
Эрлифт – это пневматический подъемник, который работает на сжатом воздухе или техническом газе, предназначенный для подъема и перемещения жидкостей в рыбонасосных установках. Они характеризуются исключительной простотой устройства и обслуживания, надежностью, малым износом и возможностью поднимать жидкости с различными примесями и рыбой (пульпу).
На рис. 6 показана схема эрлифта.

Он состоит из подъемной трубы 6, к которой из компрессора 3 по трубе 5 подводится сжатый воздух. Поднимающаяся воздухо-жидкостная смесь при входе в бак 2 оформленной струей направляется в отбойный конус 1, где воздух отделяется, а жидкость отводится по трубе 4.
Будет интересно: Лопастные насосы и их эксплуатация на судне
Действие эрлифта основано на разнице уровней h1 и h2 в двух сообщающихся сосудах, наполненных жидкостными смесями с различным удельным весом γ1 и γ2.
Высота подъема определится из уравнения:
Увеличивая количество подаваемого по трубе 5 воздуха, тем самым уменьшают удельный вес γ2 смеси в подъемной трубе 6 и увеличивают высоту подъема h2.
Расчет струйного насоса
В данном пункте приведена методика расчета производительности струйного насоса на судне. Рассмотрим пример расчета водоструйного насоса для судна (эжектора), в связи с тем, что область применения Основные характеристики судовых насосов и системструйных насосов (особенно паровых) постепенно сокращается.
Если известны производительность Qн, которую должен иметь водоструйный насос, напор Hн, который он должен развивать, и высота всасывания Hвс, то расход рабочей жидкости Qр можно определить, зная коэффициент подсасывания, принимаемый обычно равным:
Напишем уравнение Бернулли для начального и конечного сечений смесительного конуса исходя из предположения, что давление в конце камеры смешения равно давлению во всасывающем патрубке насоса. Тогда:
где:
- hн – гидравлическое сопротивление диффузора;
- v2 – скорость смеси в горловине;
- vн – скорость смеси в нагнетательном патрубке.
Угол конусности диффузора берем в пределах 6-10°. Значение hн может быть найдено как произведение:
где:
формула Флингера, в которой:
- f1 и f2 – соответственно площади входного и выходного сечений конусов;
- δ – угол конусности.
Скорость v2 смеси в горловине может быть найдена из выражения:
которое является не чем иным, как формулой 2, решенным относительно v2.
Читайте также: Судовые поршневые насосы – параметры и конструктивные особенности
Значение скорости vн в напорном патрубке обычно принимают в пределах 2-2,5 м/с.
Диаметр горловины, м,
Поскольку расчет ведется с известными допущениями, определенный таким образом диаметр горловины следует увеличивать на 30-50 %.
Как следует из уравнения количества движения и принятого условия постоянства давления в камере смешения насоса, скорость жидкости, вытекающей из сопла, м/с, равна:
где:
- vв – скорость жидкости во всасывающем патрубке, значение которой обычно принимают в пределах 1,5-2 м/с;
- α – угол, под которым расположена ось всасывающего патрубка по отношению к оси сопла.
Диаметр сопла (в выходном сечении), м,
Пренебрегая скоростным напором рабочей жидкости перед соплом, можно принять, что скорость истечения из сопла, м/с, равна:
где:
- φ – коэффициент скорости, равный 0,95-0,97;
- Hр – напор рабочей жидкости.
Из формулы 7 может быть определен напор рабочей жидкости перед соплом:
Расстояние l от сопла до горловины расширительного конуса насоса может быть определено по эмпирической формуле:
Поскольку напор у входа в насос для рабочей жидкости составляет:
а на выходе из насоса уменьшается до:
то на работу водоструйного насоса затрачивается мощность:
Отсюда полезно используемая мощность будет:
КПД насоса – отношение полезно используемой мощности к затраченной:
Струйные насосы, как уже указывалось, имеют весьма низкий КПД, значение которого даже для насосов наиболее совершенных конструкций обычно не превышает 25 %, а чаще составляет 15-18 %.
