Надежное удержание судна на месте и его безопасная швартовка к причалу – ключевые аспекты обеспечения безопасности мореплавания и эффективной эксплуатации морского транспорта. В основе этих операций лежат якорно-швартовные устройства, представляющие собой комплекс сложных механизмов, спроектированных для работы в условиях высоких нагрузок и агрессивной морской среды. Эти системы не просто обеспечивают статическое положение судна, но и играют критически важную роль в маневрировании, предотвращении дрейфа, а также в обеспечении безопасности экипажа и сохранности самого судна и портовой инфраструктуры.
Представленный материал предлагает комплексный обзор основных типов и принципов работы якорных и швартовных механизмов, являющихся неотъемлемой частью любого морского судна. Мы рассмотрим конструктивные особенности и принцип действия таких устройств, как брашпили, различные виды якорных и швартовных шпилей, а также швартовные лебедки. Особое внимание будет уделено основам расчета этих механизмов, что позволит понять, как инженеры обеспечивают их надежность и эффективность. Понимание устройства и функционирования этих систем является фундаментальным для специалистов морской отрасли, обеспечивая не только безопасную эксплуатацию судов, но и их эффективное техническое обслуживание.
Основные сведения о якорно-швартовных механизмах
Конструкция судна должна обеспечивать не только его Влияние формы корпуса на мореходные качества судна: ключевые факторы и характеристикимореходные качества, но и надежную стоянку в разнообразных условиях.
Во время стоянки судно подвержено действию следующих сил:
- течения воды;
- ветра;
- инерции, возникающей при килевой или бортовой качке судна.
Следовательно, чтобы обеспечить надежную стоянку, необходимо иметь такую связь судна со средствами закрепления в грунте на дне акватории или на берегу, которая принимала бы на себя действие всех этих внешних сил. Указанная связь осуществляется:
- якорным устройством, обеспечивающим стоянку судна на якоре (якорях);
- швартовым устройством, которое обеспечивает неподвижное закрепление судна у причалов, плавучих сооружений, стенок шлюзов, у борта других судов и при постановке на бочки.
Якорные устройства включают:
- якоря;
- якорные канаты (цепи);
- клюзы;
- стопоры для закрепления якорных канатов;
- цепные ящики для хранения якорных канатов,
и якорные механизмы:
- брашпили,
- шпили,
- якорные лебедки.
Устройство и классификация швартовных устройств судов
К Буксирные и швартовные устройства буксирных судовшвартовным устройствам причисляют:
- швартовные канаты (стальные, растительные или синтетические);
- кнехты;
- киповые планки;
- стопоры тросовые и зажимные;
- вьюшки для уборки швартовных канатов;
- кранцы,
и швартовные механизмы:
- швартовные шпили;
- швартовные лебедки (автоматические и простые).
Итак, швартовные устройства – это комплексная система, состоящая из множества элементов, каждый из которых играет свою незаменимую роль в обеспечении надежной стоянки судна. Их устройство и классификация по типу материалов, назначению и принципу действия напрямую зависят от размеров и типа судна, а также от условий его эксплуатации.
Брашпили
Что такое брашпиль?
Брашпиль – это якорная машина, у которой ось вала цепного барабана (звездочки) расположена горизонтально. Большинство брашпилей снабжено швартовными турачками, что позволяет рассматривать брашпиль как якорно-швартовный механизм.
В качестве привода брашпилей используются паровые машины, гидро- и электродвигатели. Наиболее распространен электрический привод.
Конструкции электрических брашпилей унифицированы, а число их моделей ограничено типизированным рядом механизмов, основные характеристики которых приведены в табл. 1.
| Таблица 1. Основные характеристики типизированных брашпилей | |||||||||||||||
|---|---|---|---|---|---|---|---|---|---|---|---|---|---|---|---|
| Индекс | Расчетная глубина якорной стоянки | Калибр якорной цепи, мм | Тяговое усилие на звездочке, кH (тс) | Скорость выбирания цепи, м/мин | Номинальное тяговое усилие на турачке (тс) | Скорость выбирания швартовного каната, м/мин | Наибольший размер швартовного каната, мм | Масса, кг, не более | |||||||
| обыкновенной прочности | повышенной прочности | номинальное | при малой скорости, не менее | номинальная, не менее | малая, не более | номинальная, не более | малая, не более | наибольшая | стального (диаметр) | растительного (окружность) | синтетического (окружность) | ||||
| Б1 | 65 | 15 | – | 6,6 (0,675) | 3,53 (0,360) | 10 | 10 | 0,5 | 18 | Не устанавливается | Не устанавливается | 13,5 | 100 | 60 | 1 010 |
| 17 | – | 8,5 (0,87) | 4,5 (0,462) | ||||||||||||
| Б2 | 80 | 19 | – | 10,6 (1,08) | 5,65 (0,576) | 10 | 10 | 1,0 | 18 | 16,0 | 125 | 80 | 1 300 | ||
| 22 | – | 14,2 (1,45) | 7,5 (0,77) | ||||||||||||
| Б3 | 80 | 25 | – | 18,4 (1,88) | 9,8 (1,0) | 10 | 10 | 1,5 | 18 | 17,0 | 150 | 80 | 2 093 | ||
| 28 | – | 23,0 (2,35) | 12,2 (1,25) | ||||||||||||
| Б4 | 100 | 31 | – | 36,0 (3,65) | 15,0 (1,54) | 10 | 10 | 2,0 | 18 | 24-40 | 19,0 | 175 | 175 | 3 260 | |
| 34 | – | 43,0 (4,4) | 18,1 (1,85) | ||||||||||||
| Б5 | 100 | 37 | – | 51,0 (5,2) | 21,5 (2,2) | 10 | 10 | 3,0 | 18 | 24-40 | 22,5 | 200 | 115 | 4 880 | |
| 40 | – | 60,0 (6,1) | 25,0 (2,56) | ||||||||||||
| Б6 | 100 | 43 | – | 69,0 (7,0) | 29,4 (3,0) | 10 | 10 | 5,0 | 18 | 9 | 24-40 | 24,5 | 225 | 150 | 6 710 |
| 46 | – | 78,5 (8,0) | 33,5 (3,4) | ||||||||||||
| – | 37 | 59,0 (6,0) | 24,5 (2,5) | ||||||||||||
| – | 40 | 69,0 (7,0) | 29,4 (3,0) | ||||||||||||
| Б7 | 100 | 49 | – | 89,0 (9,1) | 37,3 (3,8) | 10 | 10 | 6,5 | 18 | 9 | 24-40 | 30,0 | 300 | 175 | 11 370 |
| 53 | – | 105,0 (10,7) | 44,0 (4,5) | ||||||||||||
| – | 43 | 79,0 (8,1) | 33,4 (3,4) | ||||||||||||
| – | 46 | 90,0 (9,2) | 38,2 (3,9) | ||||||||||||
| Б8 | 100 | 57 | – | 120,0 (18,3) | 51,0 (5,2) | 10 | 10 | 8,0 | 18 | 9 | 24-40 | 30,0 | 300 | 175 | 13 382 |
| 62 | – | 144,0 (14,6) | 61,0 (6,2) | ||||||||||||
| – | 49 | 103,0 (10,5) | 43,0 (4,4) | ||||||||||||
| – | 53 | 121,0 (12,3) | 51,0 (5,2) | ||||||||||||
| Б9 | 100 | – | 57 | 139,0 (14,2) | 59,0 (16,0) | 10 | 10 | 10,0 | 18 | 9 | 24-40 | 33,5 | 350 | 200 | 17 500 |
| – | 62 | 164,0 (16,8) | 70,0 (7,1) | ||||||||||||
| Б10 | 100 | – | 67 | 192,0 (19,6) | 81,5 (8,3) | 10 | 10 | 14,0 | 18 | 9 | 24-40 | 37,5 | 350 | – | 21 342 |
| – | 72 | 220,0 (22,7) | 93,5 (9,55) | ||||||||||||
| Б11 | 100 | – | 77 | 253,0 (25,9) | 103,5 (10,9) | 10 | 10 | 14,0 | 18 | 9 | 24-40 | 37,5 | 350 | – | 23 890 |
| – | 82 | 288,0 (29,4) | 121,0 (12,4) | ||||||||||||
Брашпили малых и средних моделей имеют один электродвигатель, а брашпили крупных моделей – два электродвигателя, допускающие совместную и раздельную работу.
У малых и средних моделей брашпилей применяют простую или глобоидную червячную и цилиндрическую грузовые передачи; у крупных моделей – систему зубчатых передач, связывающую электродвигатель с грузовым валом.
Цепные звездочки всех брашпилей отливают за одно целое со шкивами ленточных тормозов и устанавливают на грузовых валах. Соединение и разобщение цепных звездочек с грузовым валом осуществляется с помощью кулачковых муфт с ручным простым или рычажно-винтовым приводом.
Рекомендуется к прочтению: Судовой якорь и его применение при швартовке
Турачки брашпилей малых и средних моделей устанавливают на консолях грузовых валов, у крупных моделей – на консолях промежуточных валов.
Ленточные тормоза цепных звездочек имеют стальные ленты, облицованные с внутренней стороны асбестовыми тормозными обкладками. Конструкция ленточных тормозов исключает возможность искрообразования при их работе. Ручные приводы ленточных тормозов – рычажно-винтовые с рукоятками, расположенными непосредственно у тормозов.
На рис. 1 изображен брашпиль Б10 (см. табл. 1).

Турачки 1 насажены на промежуточный вал 10, выходящий из редуктора 6. На грузовом валу 9 свободно сидят цепные звездочки 4, которые соединяются с грузовым валом кулачковыми муфтами с помощью маховиков 2. Ленточные тормоза 3 управляются маховиками 7. Ведущий вал редуктора соединен с двумя электродвигателями 8. На корпусе редуктора закреплены указатели 5 счетчиков длины вытравленной якорной цепи.
Все Якорные и швартовные механизмы современных морских судовякорные механизмы морских судов должны быть оборудованы дистанционным управлением из ходовой рубки. В этом случае пуск электродвигателя, управление включением (выключением) цепных звездочек, работой тормозов и отдачей якорей должны производиться с поста, расположенного в ходовой рубке. Для этого в обычную конструкцию брашпиля дополнительно включают привод затяжки и растормаживания ленточных тормозов, а также привод включения (выключения) кулачковых муфт звездочек. При дистанционном управлении брашпилем пост управления, расположенный непосредственно у брашпиля, сохраняется.
На крупнотоннажных судах большой ширины, где установка брашпиля затруднена, применяют так называемые брашпильные приставки к простым (рис. 2) или автоматическим швартовным лебедкам. Применение швартовных лебедок на крупных судах в таком качестве является эффективным решением, позволяющим оптимизировать использование судовых механизмов.

Такая конструкция позволяет использовать для привода цепной звездочки привод швартовной лебедки, не работающей во время якорной операции. В этих случаях брашпильная приставка представляет собой цепную звездочку с тормозом, вал которой опирается на подшипники стоек и соединен с редуктором швартовной лебедки.
Якорные и якорно-швартовные шпили
В данном пункте подробно рассмотрим особенности конструкции якорных и якорно-швартовных шпилей и их применение на морских судах.
Что такое шпиль?
Шпиль – это якорная машина, у которой ось вала цепной звездочки расположена вертикально. В силу особенностей своей конструкции шпили крупных моделей не имеют швартовных турачек и называются якорными шпилями. Шпили малых и средних моделей несут на своем грузовом валу, называемом баллером, швартовную турачку и называются якорно-швартовными. Способ торможения цепной звездочки и соединения ее с баллером аналогичен брашпилям.
Якорные и Брашпили и шпили: конструкции и принципы работыякорно-швартовые шпили в качестве привода могут иметь:
- паровую машину;
- гидро- или электродвигатель.
Наиболее распространенным является электрический привод.
Шпили с электрическим приводом в зависимости от расположения привода разделяются на три группы:
- однопалубные одинарные, головку и электропривод которых монтируют на одной фундаментной раме и при установке располагают на одной палубе;
- двухпалубные одинарные, головку и электропривод которых устанавливают на разных палубах и соединяют между собой с помощью баллера;
- двухпалубные соединенные, которые представляют собой механизм, состоящий из двух двухпалубных одинарных шпилей с самостоятельными электродвигателями и общим редуктором. Редуктор и электродвигатели монтируют на общей фундаментной раме и устанавливают ниже головки шпиля под палубой.
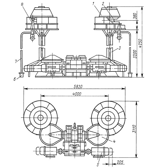
На рис. 3 изображен двухпалубный соединенный шпиль.

Две головки шпиля 1 (без турачек) имеют цепные звездочки 2, включение и отключение которых от баллеров 3 производится с помощью маховиков на колонках управления 8. Общий редуктор 4, расположенный на нижней палубе, передает вращение от электродвигателей 5 на тот или иной баллер. Смазка узлов головки шпиля осуществляется от пресс-масленок 6 через трубопроводы 7.
Якорно-швартовные шпили широко применяют на:
- катерах;
- ледокольных судах;
- транспортных судах,
т. е. на таких суднах, где ограничена площадь палубы бака или где требуется защитить привод от воздействия окружающей среды (разместить под палубой бака).
На строящихся Основы маневренности крупнотоннажных судовкрупнотоннажных судах, имеющих якорные цепи калибром 82 мм и более, в качестве якорно-швартовных механизмов устанавливают только якорные шпили или специальные якорные лебедки. Это вызвано еще и тем, что крупнотоннажные суда имеют, как правило, бульбообразную носовую оконечность или большую ширину, когда нельзя использовать брашпиль – механизм с фиксированным расстоянием между осями цепных звездочек в плане. Якорно-швартовные шпили также широко используют в качестве механизмов для обслуживания кормовых якорных устройств (там, где эти устройства предусмотрены).
Требования к установке дистанционного управления якорной операцией для якорно-швартовных шпилей такие же, как и для брашпилей.
Параметры якорно-швартовных шпилей для морских судов стандартизованы и одинаковы с параметрами брашпилей (см. табл. 1). Однако в силу особенностей своей конструкции шпили не могут быть ограничены небольшим типизированным рядом, поэтому их число значительно превышает число моделей брашпилей.
Этот недостаток производственного характера в какой-то мере компенсируется высокой межпроектной унификацией узлов и деталей шпилей (звездочки, тормоза, зубчатые передачи, муфты, указатели длины вытравленной цепи, валиковые и рычажные передачи и т. д.).
Швартовные шпили
На современных морских судах наибольшее распространение получили электрические швартовные шпили. Паровой привод сейчас уже не применяется, встречаются швартовные шпили с гидроприводом.
Параметры электрических швартовных шпилей стандартизованы. Количество их моделей ограничено типоразмерным рядом механизмов, основные характеристики которых приведены в табл. 2.
| Таблица 2. Основные характеристики швартовных шпилей | ||||||||
|---|---|---|---|---|---|---|---|---|
| Индекс | Номинальное тяговое усилие на швартовном барабане, кH (тс) | Скорость выбирания швартовного каната, м/мин | Расчетный размер швартовного каната (наибольший), мм | Масса с электродвигателем, кг, не более | ||||
| нагруженного | ненагруженного | стального (диаметр) | растительного (окружность) | синтетического (окружность) | ||||
| малая | номинальная | наибольшая | ||||||
| Ш1 | 4,9 (0,5) | Не предусматривается | ~15 | Не предусматривается | 13,5 | 100 | 60 | 392 |
| Ш2 | 9,8 (1,0) | ~15 | 15,0 | 125 | 75 | 570 | ||
| Ш3 | 19,6 (2,0) | ~15 | ~35 | 19,0 | 175 | 90 | 950 | |
| Ш4 | 29,4 (3,0) | ~6,5 | ~14 | ~30 | 22,5 | 200 | 110 | 1 300 |
| Ш5 | 49,0 (5,0) | ~6,5 | ~14 | ~30 | 24,5 | 225 | 150 | 2 210 |
| Ш6 | 78,4 (8,0) | ~6,0 | ~13 | ~28 | 30,0 | 300 | 175 | 3 020 |
| Ш6Д | 78,4 (8,0) | ~6,0 | ~13 | ~30 | 30,0 | 300 | 175 | 3 910 |
| Ш7Д | 98,1 (10,0) | ~6,0 | ~12 | ~25 | 33,5 | 350 | 200 | 5 550 |
Различают швартовные шпили двух типов.
Тип I Шпили однопалубные:
- с подпалубным расположением электродвигателя;
- с надпалубным расположением электродвигателя;
- с электродвигателем, встроенным в головку шпиля (безбаллерные).
Тип II Шпили двухпалубные:
- с расположением электродвигателя на палубе, находящейся ниже палубы, на которой установлена головка шпиля;
- с расположением электродвигателя на палубе, находящейся выше палубы, на которой установлена головка шпиля.
Наибольшее распространение получили безбаллерные шпили, имеющие следующие преимущества перед обычными шпилями:
- меньшие габариты благодаря расположению электродвигателя и редуктора в головке шпиля;
- повышенный КПД передаточного механизма вследствие применения исключительно цилиндрических зубчатых передач;
- меньшие затраты при монтаже шпиля на судне, поскольку его механизм сцентрован в цеховых условиях и доводочных работ не требует;
- постоянная готовность к работе, вследствие того, что передаточный механизм защищен от попадания грязи, влаги и от обмерзания.
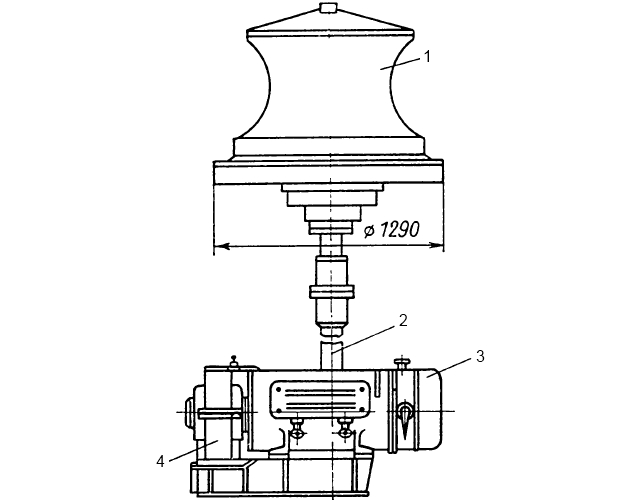
Безбаллерный шпиль (рис. 4) имеет цилиндрический редуктор 4, корпус которого 3 служит Установка и центровка фундаментной рамыфундаментной рамой, закрепляемой к палубе судна, вертикальный электродвигатель 1 (с концом вала, обращенным вниз, и с дисковым тормозом наверху), швартовный барабан 2, опирающийся на специальный стакан или погон, снабженный подшипником качения.

Примером конструкции швартовного шпиля типа II является одинарный двухпалубный шпиль, показанный на рис. 5.

Швартовный барабан 1 закреплен на баллере 2, соединенном с редуктором 4. С редуктором соединен также электродвигатель 3. Фундаментная рама с электродвигателем и редуктором установлена в подпалубном помещении.
Швартовные лебедки
Швартовные лебедки по принципу действия подразделяются на:
- простые,
- и автоматические,
а по роду привода – на:
- паровые,
- гидравлические,
- электрические.
Отличительная особенность автоматических швартовных лебедок – способность поддерживать натяжение швартовного каната перед барабаном лебедки в заранее установленных пределах. При увеличении нагрузки лебедка автоматически включается на режим травления, а при уменьшении нагрузки – на режим выбирания. Выбирание каната производится до тех пор, пока нагрузка не превысит пределы, установленные для данной лебедки. У некоторых лебедок длина вытравленного каната может быть не более установленной при помощи специального устройства. Это делается для предотвращения возможности «угона» судна от причала под действием ветра и Предупреждение столкновений судовстолкновения с другими судами, расположенными на акватории порта.
Простые швартовные устройства не имеют устройства для автоматического поддержания натяжения каната, и следовательно, непригодны для работы в тех условиях, когда его необходимо обеспечить.
Кроме традиционной компоновки узлов простых швартовных лебедок (барабан с многослойной навивкой, турачка и канатоукладчик) встречаются механизмы, конструкция которых подчинена местным условиям размещения на судне.
Общий вид автоматической швартовной лебедки с электроприводом ЛЭША2М показан на рис. 6.

Турачка сидит на грузовом валу, выходящем из редуктора. Швартовный барабан может быть заторможен ленточным тормозом при помощи маховика. Электродвигатель соединен с редуктором упругой муфтой, закрытой кожухом. Под открытой крышкой пульта управления находятся маховики, при помощи которых задается величина натяжения каната в автоматическом режиме и величина допустимого «угона», т. е. длины вытравленного каната.
Лебедка ЛЭША2М имеет следующие характеристики:
| Тяговое усилие (регулируемое), кH (тс) | 20-80 (2-8) | |
| Скорость ненагруженного каната, м/мин | 110 | |
| Скорость выбирания в автоматическом режиме, м/мин | 3,5 | |
| Номинальная скорость выбирания в ручном режиме, м/мин | 24 | |
| Диаметр каната на барабане, мм | 29 | |
| Длина каната (четыре слоя), м | 200 | |
| Размеры канатов, навиваемых на турачку, мм: | стальной (диаметр) | 30 |
| синтетический (окружность) | 175 | |
| Масса лебедки, кг | 6 000 | |
Несмотря на то, что применение автоматических швартовных лебедок обеспечивает высокую степень механизации и автоматизации швартовных операций, их нельзя рекомендовать к установке на судах всех типов и назначений по следующим причинам.
Автоматическая швартовная лебедка представляет собой довольно сложный и дорогостоящий механизм, требующий для размещения много места на палубе и квалифицированного ухода в эксплуатации. На судне нецелесообразно устанавливать менее двух, а иногда и четырех лебедок, поэтому делать это рекомендуется лишь на крупных Грузовые и грузопассажирские морские транспортные судагрузовых судах, где есть:
- мощная энергетическая установка;
- высококвалифицированный штат команды;
- достаточно места для установки лебедок.
К таким судам относятся:
- танкеры большой и средней грузоподъемности;
- контейнерные суда;
- рудовозы.
На указанных судах широко внедряют скоростные методы погрузки, разгрузки и сокращают стояночное время. Для них характерно и большое изменение осадки в процессе погрузки и разгрузки. Все это оправдывает применение автоматических швартовных лебедок. К тому же, эти суда снабжаются швартовными канатами большого диаметра, с которыми работать вручную, трудно.
Простые швартовные лебедки также облегчают труд швартовной команды, но их целесообразно устанавливать на судах, осадка которых резко не изменяется.
Основы расчета якорных и швартовных механизмов
В данном пункте предлагаем рассмотреть основы расчета якорных и швартовных механизмов. Этот материал предоставит ключевую информацию, необходимую для понимания принципов, лежащих в основе проектирования и выбора данных систем. Особое внимание будет уделено методикам, обеспечивающим надежный расчет якорных механизмов и точный расчет швартовных механизмов, что критически важно для безопасности и эффективности морских операций.
Для надежного удержания судна при Расчет параметров якорной стоянкиякорной стоянке на месте держащая сила якоря, зависящая от его конструкции и массы, должна соответствовать характеристике снабжения судна, определенной по Правилам Регистра РФ, а длина отданной (вытравленной) части якорной цепи L, м, должна быть не менее:
где:
- h – глубина в месте стоянки судна, м;
- R – сила, с которой течение и ветер воздействуют на судно, кг;
- q – масса 1 м якорной цепи данного калибра, кг.
Формула 1 выведена на основании общих свойств цепной линии, согласно которым ордината y любой точки линии, ордината наинизшей точки a и длина дуги s, измеренной между этими точками, связаны между собой зависимостью:
При снятии с якоря судно сначала подтягивается к нему с усилием Tус (в положение II на рис. 7).

Провисающий участок цепи при этом сохраняет свою первоначальную форму, так как в этот период натяжение остается постоянным. При дальнейшем подтягивании судна к якорю натяжение цепи будет увеличиваться (см. положение III), а затем произойдет отрыв якоря от грунта (положение IV) и его подъем.
В момент отрыва якоря от грунта тяговое усилие достигает своего наибольшего значения Tmax, кН, которое можно приближенно определить по выражению:
где:
- k – коэффициент, учитывающий влияние углов перегиба цепи и условий трения в клюзе; в расчетах обычно принимают k = 1,25-1,35;
- g – ускорение свободного падения, м/с2;
- Q – масса якоря, кг.
Сопротивление отрыву от грунта вычислить точно трудно, поэтому его приближенно считают равным удвоенной массе якоря, т. е. 2Q.
Еще более трудно оценивать усилия, возникающие в швартовных канатах. Однако, на основании опыта выработаны нормы снабжения судов швартовными канатами достаточной прочности. В связи с этим, при определении усилий Tшв, кН, развиваемых швартовными механизмами, принято делить разрывное усилие T0 каната на нормальный запас прочности n:
Если известны материал и диаметр каната, разрывное усилие швартовного каната может быть определено по действующим ГОСТам на стальные, растительные или синтетические канаты. Скорость выбирания швартовного каната принимают в пределах 9-24 м/мин.
Читайте также: Управление крупнотоннажными судами при постановке на якорь, швартовке к монобую
Если проектируемый механизм – только швартовный, расчетный момент Mшв, кН, определяют по формуле:
где:
- Dшв – диаметр швартовного барабана, м;
- d – диаметр швартовного каната, м.
Якорно-швартовные механизмы должны не только развивать момент Mшв, но и обеспечивать якорные операции, т. е. развивать момент на звездочке
, кН·м:
где:
- Dm0 – диаметр начальной окружности звездочки цепи.
Расчетный момент Mдв, кН·м, на приводном валу якорно-швартовного механизма:
где:
- Mmax – наибольший необходимый момент для выполнения якорных и швартовных операций;
- η – общий КПД механизма, учитывающий все потери от двигателя до тягового органа;
- i – передаточное число.
Расчет мощности электрических шпилей и брашпилей в принципе не отличается от расчета мощности Электрические и электрогидравлические рулевые машиныэлектрических рулевых машин.
Номинальная мощность электродвигателя электрического шпиля или брашпиля Nном, кВт, может быть определена по формуле:
где:
- i – передаточное число, принимают i = 105-250;
- nср – средняя частота вращения, об/мин, вала электродвигателя, соответствующая средней скорости выбирания якорной цепи;
- η – общий КПД механизма.
Для осуществления швартовных операций брашпили и шпили (а также грузовые, буксирные, промысловые и другие лебедки) снабжают фрикционными барабанами – турачками. При вращении турачки (рис. 8, а) один конец каната наматывается на нее, а другой сматывается, причем витки перемещаются вдоль барабана.

Для исключения чрезмерного перемещения витков каната турачки выполняют с небольшой конусностью или с параболической поверхностью (рис. 8, б). В этом случае витки каната все время смещаются в сторону меньшего диаметра турачки под действием осевой составляющей силы трения в месте контакта каната и турачки. Для этого нужно, чтобы угол конуса был больше угла трения, т. е.:
Сцепление витков каната с турачкой обеспечивается за счет силы трения от радиальной составляющей силы натяжения каната. Для того, чтобы канат не буксовал на турачке, необходимо обеспечить достаточное натяжение на сбегающем конце каната Sс для обеспечения нужного натяжения на набегающем конце Sн.
При этом крутящий момент на турачке определится из уравнения:
где:
- P = Sн – Sс – окружное усилие;
- D – расчетный диаметр обечайки турачки;
- e – основание натуральных логарифмов, e = 2,71828;
- μ – коэффициент сцепления каната с барабаном;
- α – угол обхвата, в данном случае α = 2πzк;
- zк – количество витков троса на барабане;
- k – коэффициент запаса, обычно назначаемый в пределах 1,2-1,5 в зависимости от условий работы и надежности обеспечения Smin.
Другими словами, на основании зависимости Эйлера для исключения пробуксовки каната на турачке должно соблюдаться условие:
Значение коэффициента сцепления μ в значительной мере зависит от материала барабана, а также от:
- степени смазки каната;
- скорости относительного скольжения;
- удельного давления в месте контакта каната с турачкой;
- рода свивки каната и др.
В табл. 3 приведены значения eμα зависимости от угла обхвата и коэффициента сцепления.
| Таблица 3. Значения коэффициента eμα | ||||
|---|---|---|---|---|
| Коэффициент сцепления μ | Угол обхвата α | |||
| 2π | 4π | 6π | 8π | |
| 0,15 | 2,6 | 6,6 | 17 | 43,4 |
| 0,20 | 3,5 | 12,4 | 43,4 | 152,4 |
Расчет фрикционного барабана лежит в основе расчета швартовных шпилей, имеющих в качестве барабана турачку с вертикальной осью. Расчет автоматической швартовной лебедки не отличается от расчета обычных лебедок.
