Несмотря на повсеместное внедрение центробежных систем, поршневые насосы остаются незаменимым узлом в составе судовых энергетических установок, особенно там, где требуется высокий напор при малых подачах и надежное самовсасывание. Эксплуатация этих агрегатов в суровых морских условиях требует от механика не только понимания их устройства, но и четкого знания динамических процессов, таких как степень неравномерности подачи и инерционные явления. Эффективное использование этого оборудования невозможно без детального анализа его рабочих параметров. Именно характеристики поршневых насосов определяют их преимущество в таких операциях, как осушение трюмов, перекачка вязких нефтепродуктов или обслуживание гидравлических приводов высокого давления.
Правильный расчет диаметров цилиндров и пропускной способности клапанов напрямую определяет эффективность работы осушительных, балластных и топливных систем судна. Практика показывает, что большинство поломок связано с некорректной настройкой воздушных колпаков или игнорированием характеристик всасывания. В данном материале мы перейдем от общих принципов действия к детальному анализу теории и инженерных расчетов, необходимых для грамотного проектирования и безопасной эксплуатации насосных установок.
Принцип действия, классификация и свойства
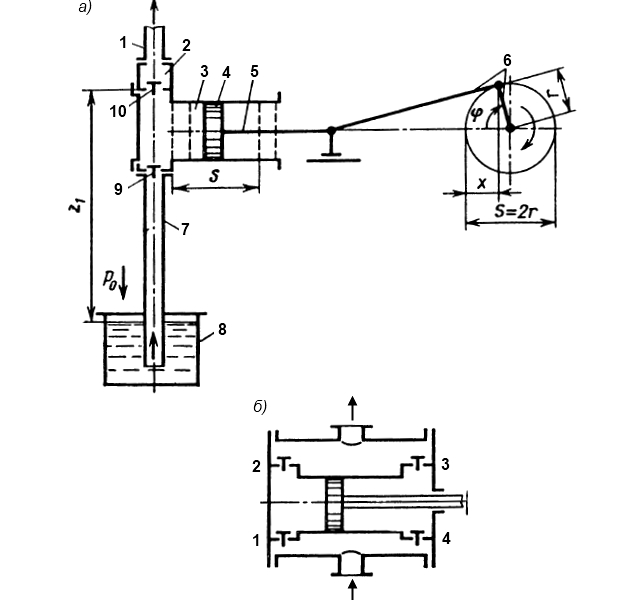
У Поршневые насосы морских судов – классификация, устройство и принцип работыпоршневого насоса подача осуществляется при помощи вытеснителя (поршня или плунжера), совершающего возвратно-поступательное движение в цилиндре. Простейший поршневой насос показан на рис. 1, а.

а – одностороннего действия; б – двустороннего действия
Рассмотрим принцип действия поршневого насоса на судне. В цилиндре 3 помещен поршень 4, плотно прилегающий своей боковой поверхностью к стенке цилиндра. Поршень получает движение от двигателя (не показан) при помощи кривошипно-шатунного механизма 6 и штока 5. К цилиндру прикреплена (или отлита заодно с ним) клапанная коробка 2, в которой размещены всасывающий 9 и напорный (нагнетательный) 10 клапаны. К клапанной коробке присоединены всасывающая 7 и напорная 1 трубы. Насос забирает жидкость из резервуара 8. Через z1 обозначена геометрическая высота всасывания поршневого насоса.
Клапаны насоса самодействующие и пропускают жидкость только в одном направлении – снизу вверх.
Что такое рабочая камера насоса?
Рабочая камера насоса – это пространство, заключенное между поршнем и клапанами. Расстояние между крайними положениями поршня называется его ходом:
где:
- r – радиус кривошипа.
Во время работы насоса поршень передвигается внутри цилиндра возвратно-поступательно на длину хода. Крайнее левое и крайнее правое положения поршня называют соответственно левой и правой мертвыми точками. У вертикальных насосов крайнее нижнее и крайнее верхнее положения поршня называют нижней и верхней мертвыми точками.
При движении поршня из крайнего левого положения вправо объем рабочей камеры увеличивается, и давление в ней понижается. Так как клапаны насоса самодействующие, то всасывающий клапан 9 откроется и жидкость по всасывающей трубе 7 под действием внешнего давления p0 устремится из резервуара 8 в рабочую камеру насоса. По достижении поршнем крайнего правого положения всасывание жидкости прекращается, и всасывающий клапан закроется. В дальнейшем поршень при движении справа налево будет давить на находящуюся в рабочей камере жидкость, и вытеснять ее через напорный клапан 10 в напорную трубу 1.
У насоса, изображенного на рис. 1, а, жидкость вытесняется при движении поршня только в одну сторону. Такие насосы называются насосами одностороннего (простого) действия. Если жидкость вытесняется при движении поршня в обе стороны, то такие насосы называются насосами двустороннего (двойного) действия (рис. 1, б). Всасывание и нагнетание у данного насоса совершаются при каждом ходе поршня. При ходе поршня влево всасывающий 4 и напорный 2 клапаны открыты. Через клапан 4 происходит всасывание жидкости в рабочую камеру, а через клапан 2 – вытеснение жидкости в напорную трубу. В это время клапаны 1 и 3 закрыты. При обратном ходе поршня через клапан 1 жидкость поступает в рабочую камеру, а через клапан 3 производится подача жидкости в напорную трубу; клапаны 4 и 2 закрыты.
Судовые поршневые насосы классифицируют по различным признакам.
По способу приведения в действие их можно разделить на:
- кривошипные (приводные),
- прямодействующие,
- ручные.
Приводные поршневые насосы действуют от отдельно расположенного двигателя. Поршень у этих насосов движется кривошипно-шатунным механизмом, приводимым в действие вращением его вала (см. рис. 1, а).
Что такое паровой прямодействующий насос?
Паровой прямодействующий насос – это особый тип насосного агрегата, в котором поршень цилиндра, перекачивающего жидкость, соединен общим штоком с поршнем цилиндра двигателя, и в качестве рабочего тела для двигателей используется пар. Они широко применялись на паровых судах. Паровые прямодействующие насосы на судах речного флота не применяются. Ручные насосы приводятся в действие вручную.
По устройству вытеснителя насосы делят на собственно поршневые или насосы с дисковым поршнем и плунжерные. В зависимости от расположения оси цилиндров различают насосы горизонтальные и вертикальные. На судах применяются главным образом вертикальные насосы, так как они занимают меньшую площадь, чем горизонтальные.
По числу цилиндров Судовые насосы и их эксплуатационные характеристикисудовые насосы разделяют на одно- и двухцилиндровые. Наибольшее распространение получили двухцилиндровые насосы двустороннего действия.
Теоретическая (геометрическая) часовая подача поршневого насоса может быть определена по формуле:
где:
- k – число рабочих камер в насосе;
- F – площадь поршня или плунжера;
- n – частота вращения вала насоса или число двойных ходов поршня (плунжера) в минуту.
Для одноцилиндровых насосов одностороннего действия k = 1 и двустороннего действия k = 2. Если насос двухцилиндровый двустороннего действия, то k = 4.
Действительная подача насоса:
где:
- η0 – объемный КПД или, как его часто называют, коэффициент подачи поршневого насоса.
При расчете поршневых насосов двустороннего действия иногда пользуются следующей формулой:
где:
- f – площадь сечения поршневого штока.
Эта формула, точнее формулы 2, так как она учитывает объем, занимаемый в цилиндре поршневым штоком, что имеет существенное значение при расчете малых насосов.
Коэффициент подачи η0 учитывает утечки жидкости, обусловленные неплотностями в клапанах, сальниках и уплотнениях поршня, а также несвоевременным закрытием клапанов. Попадание воздуха в рабочую камеру насоса (например, во время всасывающего хода через случайные неплотности всасывающего трубопровода или сальников) уменьшает коэффициент подачи.
Поршневые насосы обладают многими положительными свойствами, а именно:
- способностью к сухому всасыванию;
- возможностью достижения высоких давлений;
- пригодностью для перекачивания разнообразных жидкостей при различных температурах, высоким КПД.
К недостаткам поршневых насосов относятся:
- тихоходность, влекущая за собой большие размеры и массу насоса при большой подаче;
- относительная сложность конструкции;
- неравномерность подачи, для уменьшения которой в ряде случаев приходится устанавливать воздушные колпаки;
- неприспособленность без специальных устройств для регулирования подачи при постоянной частоте вращения привода.
Поршневые насосы нашли применение на танкерах для зачистки танков от остатков груза. Зачистные насосы речных танкеров выполняются электроприводными. Рассматриваемые насосы получили некоторое применение в судовых осушительных системах. Так, например, на туристском теплоходе «Владимир Ильич» постройки ГДР установлен кривошипный поршневой осушительный насос.
Плунжерные насосы специальной конструкции применяются в Судовые двигатели внутреннего сгораниядвигателях внутреннего сгорания для подачи топлива в их цилиндры (топливные насосы). Широкое применение на судах имеют ручные поршневые насосы. Они используются для перекачивания малых количеств воды и нефтепродуктов.
Графики подачи и степень неравномерности
В поршневом насосе жидкость поступает в цилиндр, следуя за движущимся поршнем, и им же вытесняется в напорный трубопровод. Характер движения поршня обусловлен кинематикой кривошипно-шатунного механизма. Ниже приведены методы расчета и графики подачи поршневого насоса одинарного и двойного действия
Известно, что если пренебречь влиянием конечной длины шатуна, то путь x, проходимый поршнем или плунжером (см. рис. 1, а), будет связан с углом φ поворота кривошипа зависимостью:
В свою очередь для скорости поршня можно написать:
где:
- – угловая скорость кривошипа.
Формула 4 показывает, что при данном положении кривошипа скорость поршня измеряется ординатой некоторой синусоиды. При φ = 0 и φ = 180° скорость u = 0, а при φ = 90° она достигает максимального значения:
Таким образом, за каждый оборот кривошипного вала скорость поршня дважды увеличивается от нуля до максимума и столько же раз снижается от максимума до нуля.
Ускорение поршня:
Из этой формулы следует, что ускорение поршня изменяется по закону косинусоиды и достигает максимального значения rω2 в мертвых точках. При φ = 90° и φ = 270° ускорение равно нулю.
Приведенные выше формулы для пути, скорости и ускорения поршня несколько изменяются, если учесть конечную длину шатуна. Однако при обычно встречающемся отношении радиуса кривошипа r к длине мотыля l, равном примерно 0,2 и даже меньше, поправка получается небольшой, и поэтому пользуются приближенными формулами.
Рекомендуется к прочтению: Вихревые и струйные насосы – устройство и принцип работы на морских судах
На практике часто приходится оперировать средней скоростью поршня. Выражение для этой скорости можно получить на основе простых соображений. За один оборот вала насоса поршень проходит путь 2S, м, за n оборотов в минуту – 2Sn, м/мин. Следовательно, средняя скорость, м/с:
Так как у насосов с кривошипно-шатунным механизмом скорость поршня непрерывно меняется, то, естественно, подача их является неравномерной.
Объем жидкости, подаваемой поршнем в каждый данный момент, равен скорости поршня, умноженной на его площадь, т. е.:
Из этого выражения видно, что поскольку площадь поршня остается постоянной, подача насоса изменяется по тому же закону, что и скорость поршня, т. е. по синусоиде.
Пользуясь формулой 6, можно построить графики подачи кривошипных насосов. На рис. 2, а показан такой график abc для одноцилиндрового насоса одностороннего действия.

При всасывающем ходе поршня поступление жидкости в Трубопроводы, арматура и устройство судовых системнапорный трубопровод не происходит, и подача насоса в течение этого хода равна нулю. На графике этот процесс изображается отрезком cf. Наибольшая ордината графика, где sin φ = 1, соответствует максимальной подаче насоса:
Если бы подача одноцилиндрового насоса одностороннего действия совершалась равномерно и не за один ход поршня, а за два его хода, то ее можно было бы изобразить прямоугольником adef. Высота прямоугольника соответствует воображаемой средней подаче насоса:
Отношение максимальной подачи к средней называют степенью неравномерности δ. Для одноцилиндрового насоса одностороннего действия из формул 7 и 8 получим:
Из изложенного следует, что у одноцилиндрового насоса одностороннего действия всасывание жидкости в цилиндр и подача из него протекают весьма неравномерно. Это вызывает возникновение инерционных сил в потоке. Сила инерции жидкости, движущейся безотрывно за поршнем, пропорциональна его ускорению, которое в свою очередь пропорционально квадрату угловой скорости вала насоса. Поэтому при высокой частоте вращения вала инерционные силы могут достигнуть больших значений, вызвать разрыв сплошности потока и нарушить нормальную работу насоса. Кроме того, силы инерции ложатся лишней нагрузкой на приводную часть насоса.
У одноцилиндрового насоса двустороннего действия подача жидкости совершается при каждом ходе поршня, и график подачи изображается в виде двух синусоид (рис. 2, б). Как видно из рисунка, подача у такого насоса падает до нуля в момент прихода поршня в мертвые точки.
Максимальная подача у данного насоса определяется по формуле 8. Средняя подача насоса:
Степень неравномерности подачи:
Кривошипы двухцилиндровых насосов двустороннего действия расположены под углом 90° один к другому, поэтому для получения графика подачи такого насоса строят четыре синусоиды, сдвинутые по оси на 90°, а затем складывают их ординаты, соответствующие одинаковым значениям угла поворота кривошипа. Суммарный график подачи поршневого насоса изображается сплошной волнообразной линией, не имеющей нулевых значений ординат (рис. 2, в). У двухцилиндрового насоса двустороннего действия степень неравномерности подачи δ = 1,11. Наиболее равномерной подачей (наименьшей степенью неравномерности, равной 1,047) обладают трехцилиндровые насосы одностороннего действия, которые получили широкое применение в стационарных установках.
Воздушные колпаки
Из-за неравномерной скорости поршня давление в цилиндре насоса в период всасывания и в период нагнетания может колебаться в широких пределах. Большое влияние на амплитуду колебаний давления в цилиндре оказывают силы инерции жидкого столба во всасывающем и напорном трубопроводах. Чтобы уменьшить влияние этих сил и выровнять подачу, применяют воздушные колпаки, которые в зависимости от потребности устанавливают как на стороне всасывания, так и на стороне нагнетания. На рис. 3 показана схема установки всасывающего 4 и напорного 2 воздушных колпаков у одноцилиндрового насоса одностороннего действия.

Верхняя часть колпаков занята воздухом, а нижняя – перекачиваемой жидкостью, причем давление, под которым находится воздух, равно давлению на поверхности уровня жидкости. Сущность действия напорного колпака заключается в том, что в то время когда мгновенные подачи жидкости превышают среднюю подачу, избыток жидкости задерживается в колпаке. Этот избыточный объем изображен на рис. 3 вертикально заштрихованным прямоугольником внутри напорного колпака. Когда подача жидкости плунжером становится меньше средней или прекращается совсем (при всасывающем ходе), воздух в колпаке расширяется и вытесняет задержавшийся в нем избыток жидкости в напорный трубопровод. На графике подачи заштрихованная часть площадки синусоиды bdc соответствует этому избытку, который возникает при повороте кривошипа на угол, измеряемый отрезком bc. При прохождении кривошипом углов, соответствующих отрезкам ab и ce, этот избыток жидкости поступает в трубопровод и поддерживает в нем движение жидкости со скоростью, близкой к постоянной.
Аналогично описанному действует и колпак на всасывающей трубе, жидкость из которого неравномерно забирается насосом по патрубку 3.
До колпака 4 жидкость движется во всасывающей трубе почти равномерно. Для того чтобы воздушные колпаки наиболее полно выполняли свои функции, их устанавливают возможно ближе к насосу либо на самом насосе.
Во время работы насоса уровень жидкости во всасывающем колпаке постепенно понижается. Происходит это потому, что давление в этом колпаке ниже, чем в приемном резервуаре, и в нем скапливается воздух, выделяющийся из жидкости. Чтобы скопившийся воздух не мог сразу в большом количестве попасть в рабочую полость (камеру) насоса, что нарушило бы нормальную работу, в нижней части всасывающего патрубка делается ряд небольших отверстий (см. рис. 3). Достигнув при понижении уровня этих отверстий, воздух небольшими порциями отсасывается через них в рабочую камеру.
Наоборот, в напорном колпаке уровень жидкости постепенно повышается, так как воздух, который находится в нем под повышенным давлением, растворяется в перекачиваемой жидкости и уносится ею. В связи с этим возникает необходимость периодически восполнять убыль воздуха в колпаке. Для этой цели под всасывающим клапаном или на цилиндре насоса устанавливается воздушный кран, который снабжен обратным клапаном (сапуном). При открытии крана воздух засасывается в цилиндр насоса и затем вытесняется в напорный колпак. Нормально воздух должен занимать приблизительно 2/3 объема колпака.
Для контроля за давлением на напорном колпаке устанавливается манометр 1, а на всасывающем – вакуумметр 6. Для наблюдения за уровнем жидкости и, следовательно, за количеством воздуха в колпаках на них устанавливаются мерные стекла 5.
Потребный средний объем воздуха в колпаке, м3:
где:
- k0 – безразмерный параметр (принимаемый равным 0,55 для одноцилиндрового насоса одностороннего действия; 0,21 – для одноцилиндрового насоса двустороннего действия; 0,042 – для двухцилиндрового насоса двустороннего действия);
- kд – степень неравномерности давления, которую обычно принимают равной 0,02-0,05, причем при длинных трубопроводах значения берут ближе к нижнему пределу.
Полный объем воздушного колпака:
Зная объем воздушного колпака, можно определить его размеры.
Определение главных размеров цилиндра и диаметров патрубков насоса
В данном пункте рассмотрим определение диаметра цилиндра насоса и других параметров. Подача Q, м3/ч, связана с размерами цилиндра следующей зависимостью (влиянием штока пренебрегаем):
где:
- k – число рабочих камер;
- F – площадь поршня цилиндра, м2;
- S – ход поршня, м;
- n – частота вращения коленчатого вала, об/мин;
- η0 – коэффициент подачи насоса.
Заменив в этом выражении площадь F цилиндра на πD2/4 и обозначив отношение S/D через ψ, получим:
Отсюда диаметр цилиндра, м:
При расчете D по этой формуле Q и k обычно бывают известными. Отношение хода поршня к диаметру ψ у судовых насосов составляет 1,2-2,5. Большие значения относятся к тихоходным насосам.
Частота вращения n лежит в пределах 60-150 об/мин. Высокие значения n при больших значениях S приводят к опасному увеличению напряжений в деталях кривошипно-шатунного механизма насоса от действия сил инерции. Кроме того, условия нормального всасывания насосов требуют, чтобы значение n уменьшалось с увеличением радиуса кривошипа, а следовательно, и хода поршня.
Читайте также: Осевые насосы – устройство и принцип работы на судах
Коэффициент подачи обычно составляет η0 = 0,9-0,98. Большие значения относятся к крупным насосам.
Рассчитанный по формуле 12 диаметр цилиндра (поршня) округляется до стандартного размера, который обычно оканчивается на 0 или 5.
Определив диаметр цилиндра, находят ход поршня по формуле:
Зная ход поршня, можно определить осевой размер цилиндра насоса.
Рассматривая вопрос о том, как рассчитать диаметр всасывающего патрубка поршневого насоса, обратимся к гидравлическим основам.
Для расчета диаметров всасывающего патрубка d1 и напорного патрубка d2, м, по заданной подаче Q, м3/с, напишем уравнение расхода:
откуда:
где:
- v1, v2 – средние скорости жидкости во всасывающем и напорном патрубках соответственно, м/с. Обычно принимают v1 = 1-2 м/с и v2 = 1,5-3 м/с.
Основы теории и расчета клапанов
Клапаны принадлежат к наиболее ответственным элементам насоса. Дефекты в работе клапана сильно отражаются на подаче и надежности насоса.
Клапаны должны удовлетворять следующим основным требованиям:
- обеспечивать плотность в закрытом состоянии;
- своевременно открывать и закрывать отверстие, через которое протекает жидкость;
- оказывать малое гидравлическое сопротивление прохождению жидкости;
- быть достаточно прочными и износоустойчивыми;
- закрываться без удара.
Наибольшее распространение имеют подъемные клапаны с пружинной нагрузкой. Открываются клапаны под давлением протекающей через них жидкости, закрываются под давлением пружины и массы тарелки и пружины.
Конструктивное выполнение клапанов довольно разнообразно. Чаще всего насосы снабжаются тарельчатыми (рис. 4, а) или однокольцевыми (рис. 4, б) клапанами.

а, в – тарельчатые; б – однокольцевой
Как тарельчатый, так и однокольцевой клапаны имеют следующие основные части:
- седло 5;
- направляющий стержень 2, закрепленный нижним концом в средней части седла;
- пружину 3, упирающуюся верхней частью в ограничитель хода 1, а нижней частью – в клапанную тарелку 4.
У однокольцевого клапана жидкость выходит как через внешнюю, так и через внутреннюю сторону тарелки, а у тарельчатого клапана – только через внешнюю.
Рассмотрим работу тарельчатого клапана (рис. 4, в). Клапан изображен в приподнятом положении. При подъеме клапана количество жидкости, проходящее через клапанную щель, меньше количества, проходящего через отверстие в седле, так как за поднимающимся клапаном освобождается объем. При опускании клапана получается обратное явление: количество жидкости, проходящее через щель клапана, больше объема, проходящего через отверстие седла. Данное положение известно под названием закона Вестфаля, на основании которого можно написать:
где:
- μ – коэффициент расхода щели;
- l – длина окружности тарелки клапана;
- h – высота подъема клапана;
- vщ – теоретическая скорость жидкости в щели клапана (в кольцевом проходе диаметром dт и высотой h);
- fс – площадь сечения отверстия в седле клапана;
- vс – скорость жидкости в этом отверстии;
- fт – площадь тарелки клапана;
- vк – скорость перемещения клапана, принимаемая положительной при подъеме клапана и отрицательной при его опускании.
Предположим для простоты рассуждений, что рабочая камера насоса имеет один напорный и один всасывающий клапаны, тогда:
и формула 13 примет вид:
где:
- F – площадь поршня;
- u – скорость поршня.
Для тарельчатых клапанов:
где:
- dт – диаметр тарелки клапана.
Из формулы 14 определяют высоту подъема клапана:
Это выражение показывает, что высота подъема клапана является функцией u, vк, vщ и μ.
Если пренебречь относительно небольшими изменениями величин μ и vщ, т. е. принять множитель перед скобками постоянным, то из формулы 15 можно легко получить формулу для определения скорости клапана, взяв производную по времени:
Если отбросить член fтdvк/dt, который в сравнении с членом Fdu/(dt) составляет малую величину, выражение для vк примет вид:
Так как:
то:
Используя формулы 4 и 16, формуле 15 можно придать вид:
или:
Уравнение 17 позволяет определить высоту подъема клапана при любом положении поршня в зависимости от угла поворота кривошипа. При φ = 90° клапан достигает максимального подъема:
Расчет клапанов можно вести в следующем порядке. Прежде всего выполняют гидравлический расчет, из которого определяют основные размеры клапана:
- диаметр проходного сечения седла;
- диаметр тарелки;
- максимальную высоту подъема клапана;
- силу натяжения пружины.
После этого клапан конструируют, а отдельные его части рассчитывают на прочность.
Основное требование, предъявляемое к клапану, – спокойная работа и отсутствие стука при посадке. Появление стука клапана находится в тесной зависимости от скорости vк0, с которой клапан садится на седло. Максимальная скорость, мм/с, при которой клапан начинает стучать, составляет для воды:
Это обстоятельство накладывает известное ограничение на выбор максимальной высоты hmax подъема клапана. Проф. И. И. Куколевский опытным путем установил, что посадка клапана происходит без заметного стука, если:
или:
Дальнейший расчет ведется с использованием формулы 18, внеся в нее для общности число клапанов iк:
откуда находим длину окружности тарелки клапана:
Значение μ можно находить по таблице ниже, где они указаны для тарельчатого клапана в зависимости от высоты его подъема h (для воды).

Теоретическая скорость vщ в щели клапана в зависимости от требующейся высоты всасывания выбирается обычно 3-6 м/с.
Данными таблицы можно пользоваться и при приближенном расчете однокольцевых клапанов.
Зная l, можно определить диаметр dт тарелки клапана (см. рис. 4, а, в) из равенства:
Для определения площади fс проходного сечения седла клапана можно пользоваться выражением:
где:
- vс – скорость жидкости в канале седла, откуда:
Для тарельчатого клапана, изображенного на рис. 4, в:
причем:
где:
- b – ширина опорной поверхности тарелки клапана.
От значения b зависит сопротивление клапана открытию, поэтому она должна быть, возможно, меньшей. Обычно b составляет 2-3 мм. Опорную поверхность клапана следует проверить на давление.
Далее рассчитывают клапанные пружины, которые выполняются из стальной или бронзовой проволоки. Выбор материала пружины обусловливается свойствами перекачиваемой жидкости, ее температурой и нагрузкой на пружину. Часто применяют проволоку из нержавеющей стали и бронзы.
Максимальное натяжение пружины:
где:
- vщ – скорость в щели при подъеме клапана на высоту hmax;
- Gк – вес клапана.
Натяжение пружины P0 пр при закрытом клапане обычно должно составлять:
Постоянную пружины вычисляют по формуле:
Далее по известным формулам определяют размеры пружины. Выбирая из конструктивных соображений радиус r пружины, можно вычислить диаметр проволоки:
и число витков:
где:
- [τ] – допускаемое напряжение на кручение;
- Gупр – модуль упругости второго рода материала пружины.
В конце расчета выписывают все окончательно принятые размеры пружины.
Характеристики поршневых насосов
Чтобы оценить эффективность работы оборудования на режимах, отличных от расчетных, анализируют технические характеристики насосов, полученные в ходе стендовых или натурных испытаний. Как известно, для Лопастные насосы и их эксплуатация на суднелопастных насосов одной из основных характеристик является графическая зависимость между напором H и подачей Q при постоянной частоте вращения.
У поршневого насоса теоретически подача Q не зависит от напора H (давления p), им создаваемого. В действительности с увеличением напора наблюдается незначительное уменьшение подачи, что объясняется возрастанием протечек жидкости в насосе.
На рис. 5, а показаны теоретическая (сплошная линия) и действительная (штриховая линия) напорные характеристики поршневого насоса при постоянной частоте вращения n коленчатого вала.

Из рисунка видно, что поршневые (плунжерные) насосы обладают жесткой напорной характеристикой.
На рис. 5, б представлены кривые изменения подачи Q, мощности N и КПД η поршневого насоса от напора H (давления p) при постоянной частоте вращения вала. Кривая Q – H показывает, что с увеличением рабочего напора H подача Q несколько снижается. Мощность N с увеличением H равномерно возрастает. Характеристика N – H называется энергетической.
Характеристика η – H показывает, что КПД насоса близок к постоянному в широком диапазоне изменения напора H. Он заметно снижается лишь при чрезмерно высоких или низких значениях H. В первом случае это происходит вследствие роста утечек, а во втором – из-за приближения к режиму холостого хода, где любой механизм работает со снижающейся экономичностью.
Будет интересно: Судовые центробежные насосы – конструкция, характеристики и основы эксплуатации
Большое практическое значение имеют характеристики, выражающие изменение подачи Q насоса от вакуумметрической высоты всасывания Hвак. Характеристику Q – Hвак получают во время испытания насоса при постоянной частоте вращения и постоянном давлении на выходе из насоса. Она позволяет судить не только об изменении подачи Q с ростом вакуума в рабочей камере насоса, но и дает возможность установить максимально возможную высоту всасывания при данной частоте вращения приводного вала. Такие характеристики называют кавитационными.
Рассматривая влияние высоты всасывания на кавитацию в поршневом насосе, обратимся к практическим данным. В качестве примера на рис. 5, в представлены характеристики Q – Hвак, построенные по результатам испытаний насоса ЭНП-4 на холодной воде. Характеристики снимались при постоянном давлении на выходе 0,3 МПа и частоте вращения коленчатого вала n, равной 40, 70, 105 и 120 об/мин. Эти характеристики показывают, что до наступления кавитации подача насоса при данной n остается постоянной, причем с повышением частоты вращения вала насоса срыв подачи наступает раньше.
При развитии кавитации в поршневых насосах различают 2 стадии:
- Первая стадия соответствует отрыву потока воды от поршня при ходе всасывания (вследствие достижения в цилиндре давления упругих паров жидкости), но во второй половине хода всасывания поток воды догоняет поршень с гидравлическим ударом. Подача насоса при этом еще не уменьшается.
- Во второй стадии поток воды уже не успевает достичь поршень при ходе всасывания, их встреча происходит при ходе нагнетания и сопровождается сильным гидравлическим ударом, ударной посадкой всасывающего клапана на седло и уменьшением подачи.
Важными для насосных агрегатов являются шумовые и вибрационные характеристики. Уровень шума не должен превышать величин, установленных гигиеническими нормами.
Конструкции и эксплуатация
Конструктивное выполнение поршневых насосов довольно разнообразно. В качестве примеров ниже помещены конструкции приводного и ручного поршневых насосов.
Из приводных насосов широкое распространение получил двухцилиндровый насос двустороннего действия ЭНП-4/1 (рис. 6).

Буквы и цифры обозначают:
- Э – электрический;
- Н – насос;
- П – поршневой;
- 4/1 – номер модели.
Подача насоса составляет 25 м3/ч при давлении 0,3 МПа. Насосы данной марки используются для перекачивания темных нефтепродуктов, а также пресной и соленой воды.
Насос в сборе смонтирован на стальной сварной раме, состоящей из двух частей:
- верхней 9,
- нижней 15,
соединенных между собой четырьмя колоннами 12. Чугунный блок цилиндров закреплен на нижней части рамы, а коленчатый вал 7, редуктор и электродвигатель смонтированы на верхней ее части.
В блоке цилиндра размещены 4 всасывающих 14 и 4 нагнетательных 13 однокольцевых клапана. Каждый цилиндр 1 имеет вставную втулку 3 из кремнистой латуни. Между цилиндрами расположена камера всасывающего воздушного клапана 5.
Поршень 2 изготовлен из кремнистой латуни, поршневые кольца – из эбонита для воды и текстолита для нефтепродуктов. Кольца пружинят при помощи специального разжимного кольца, на которое они насажены.
Передача движения поршню от коленчатого вала осуществляется шатуном 6, связанным со стальным ползуном 11. К торцу ползуна на резьбе и с помощью контргайки прикреплен поршневой шток 4. Ползун ходит по чугунным направляющим 10.
Механизм привода смазывается при помощи шестеренного насоса, смонтированного на корпусе редуктора. Смазочное масло содержится в баке, установленном на нижней части рамы.
Насос приводится в действие от электродвигателя 8 через редуктор. Вал редуктора соединен с валом электродвигателя при помощи эластичной муфты.
На крупных речных танкерах установлены двухцилиндровые насосы двустороннего действия марки ЭНП-7/1. В конструктивном отношении они менее совершенны по сравнению с насосами ЭНП-4/1.
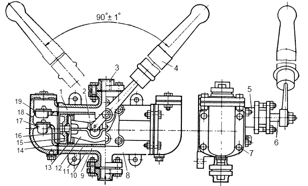
Ручные поршневые насосы PH двустороннего действия (рис. 7) на Какие речные катера обладают преимуществом?речных судах используются для перекачивания различных жидкостей.
Насос состоит из:
- литого корпуса 10, внутрь которого помещают цилиндр 11 со штоком в виде фасонной отливки 12;
- на обоих концах ее болтами 16 крепят поршни 15 с уплотняющими манжетами 13.
К корпусу насоса с обеих сторон на прокладках 14 крепят на фланцах болтами 7 клапанные коробки 18, в которых находятся всасывающие 17 и нагнетательные 19 клапаны.

Шток с поршнями совершает возвратно-поступательное движение с помощью рукоятки 4, насаженной посредством оси 6 на ролик 2, заходящий в специальный паз в средней части штока. Угол между крайними положениями рукоятки составляет 90°. Во время работы жидкость из всасывающего патрубка 8 и всасывающей полости 9 поступает через открывающиеся клапаны в нагнетательную полость 1, а оттуда в нагнетательный патрубок 3. Сальниковое уплотнение 5 устраняет утечки жидкости из корпуса в том месте, где проходит ось рукоятки.
Перед пуском в ход насос следует тщательно осмотреть и убедиться в том, что его пуску ничего не препятствует, смазка имеется в достаточном количестве. Затем открыть задвижки на всасывающем и напорном трубопроводах (пуск поршневого насоса при закрытой задвижке на напорном трубопроводе запрещается).
Так как поршневые насосы обладают сухим всасыванием, то заливки всасывающего трубопровода перед пуском не требуется. При пуске поршневого насоса следует убедиться в том, что масляный насос работает и масло поступает в редуктор и в другие места смазывания.
Предлагается к прочтению: Судовые поршневые насосы – параметры и конструктивные особенности
Периодически проверяют подрыв предохранительного клапана. Повышать давление подрыва выше указанного в инструкции или выше давления, превышающего рабочее больше, чем на 10 %, не разрешается. В случае неподрыва клапан следует отремонтировать.
Во время работы насоса:
- наблюдают за показаниями контрольно-измерительных приборов и за действием масляной системы;
- следят за работой сальников и за плотностью соединений насоса, в воздушном колпаке поддерживают требуемый запас воздуха (примерно 2/3 его объема).
При появлении резких стуков насос следует немедленно остановить для выяснения устранения причины неисправности. Для остановки насоса нужно выключить электродвигатель, затем закрыть задвижки на напорном и всасывающем трубопроводах и краны к манометру и вакуумметру.
Периоды кратковременного бездействия насоса следует использовать для проверки крепежа и сочленений. Проверяют затяжку болтов и шпилек, а также состояние сальников и, если необходимо, их перенабивают. Если насос имеет централизованное смазывание, проверяют качество масла в масляном бачке и в случае надобности спускают из него отстой воды. Если же масло отработало свой срок, его следует заменить.
