Современное судостроение и эксплуатация морского флота немыслимы без использования сложнейших технических систем и механизмов, обеспечивающих выполнение специализированных задач. От надежности и эффективности этих устройств напрямую зависят Основы безопасности мореплаваниябезопасность мореплавания, успех промысловых операций, а также экономическая целесообразность эксплуатации судов. Особое место среди них занимают специальные судовые устройства, которые, в отличие от общесудовых систем, предназначены для выполнения узкоспециализированных функций, напрямую связанных с назначением судна.
Данный материал посвящен рассмотрению ключевых аспектов функционирования и применения двух важнейших категорий таких механизмов: буксирных лебедок и промысловых механизмов. Буксирные лебедки являются незаменимым элементом любого буксирного флота, а также широко используются на судах других типов для проведения швартовных, якорных и грузовых операций, требующих значительных тяговых усилий и точного контроля. Их конструкция и принципы работы напрямую определяют эффективность буксировки, безопасность маневрирования и возможность выполнения сложных морских операций.
Механизмы, рассматриваемые ниже, применяются в составе сугубо специфических устройств на специализированных судах:
- буксирных,
- рыбодобывающих.
Буксирные лебедки и различные рыболовные механизмы чрезвычайно разнообразны по конструкции. Это объясняется большим количеством типов буксирных и Рыбопромысловый флотрыбодобывающих судов, разнообразием промысловых схем лова рыбы и добычи морепродуктов, различным характером спасательных и буксировочных операций и т. п.
Буксирные лебедки
В данном пункте подробно рассмотрим принцип работы буксирных лебедок на судах. Буксирные лебедки, обслуживающие буксирное устройство судна, предназначены для надежного удержания троса при буксировке судна и быстрого изменения расстояния между буксирующим и буксируемым судами. На транспортных судах буксирные лебедки устанавливают на корме, а на буксирах – в средней части судна.
Буксировка судов, особенно в условиях морского волнения, – сложная операция, поэтому обеспечивающим ее механизмам необходимо уделять большое внимание.
При буксировке в открытом море жесткое закрепление буксирного каната допустимо лишь при плавании в тихую погоду. На морских судах-буксировщиках широко используются лебедки для буксиров, оснащенные автоматическими системами. Эти системы позволяют лебедкам автоматически вытравливать трос при увеличении нагрузки на него и выбирать его обратно при ослаблении.
Правилами Регистра РФ предписывается возможность работы буксирной лебедки в режимах ручного и автоматического управления. Должен быть обеспечен контроль величины тягового усилия в буксирном тросе, действующего в данный момент. Соответствующие указатели должны быть установлены:
- около лебедки;
- на ходовом мостике.
Буксирная лебедка должна иметь устройство, следящее за натяжением буксирного троса и не допускающее, чтобы это натяжение превышало номинальную тягу на гаке более чем на 10 %.
Должна быть предусмотрена звуковая Морская сигнализация и связь на современных судахпредупредительная сигнализация, срабатывающая при максимальной допустимой длине вытравленного буксирного троса. Барабаны буксирных лебедок должны быть снабжены тросоукладчиком.
Выполнение указанных требований позволяет буксирной лебедке обеспечивать буксировку несамоходных или лишенных хода плавучих сооружений при волнении моря без резких рывков и провисаний буксирного троса, а также быстрое изменение расстояния между судами, участвующими в буксировочной операции.
Для расчета буксирной лебедки основной величиной является номинальная тяга на гаке Tг. Она должна быть равна тяговому усилию, необходимому для буксировки наибольшего воза с заданной скоростью.
Особенности конструкции судовых буксирных лебедок можно увидеть на рис. 1, где представлен общий вид электрической буксирной лебедки.

Рассмотрим устройство буксирной лебедки. Электродвигатель соединен с редуктором 3, переключение скоростей в котором производится рукояткой 4. Барабан лебедки 2 имеет нарезку для укладки первого слоя буксирного каната. Лебедка снабжена автоматическим канатоукладчиком 1.
В конструкции редуктора предусмотрено фрикционное устройство, которое обеспечивает травление буксира при увеличении нагрузки в 2-2,5 раза по сравнению с номинальным тяговым усилием лебедки. Длина буксира регулируется путем пуска лебедки с местного поста управления.
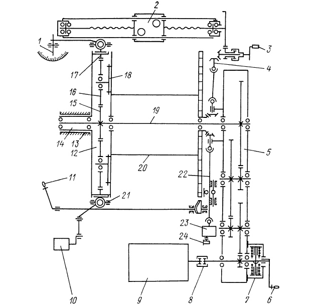
Буксирные механизмы широко применяются на судах, кинематическая схема одного из них приведена на рис. 2 – автоматическая буксирная лебедка ЛЭ38.

Приводной электродвигатель 9 соединен с ведущим валом редуктора 5 посредством зубчатой муфты 8. На противоположном консольном конце ведущего вала редуктора закреплен центробежный колодочный тормоз 7 – для ограничения скорости электродвигателя. Грузовой вал 19 является ведомым валом редуктора. В средней его части на подшипниках качения насажен буксирный барабан 20, на котором закреплены ведущая коническая шестерня привода канатоукладчика и водило планетарной передачи. Планетарная передача 12 состоит из:
- солнечной шестерни 15, закрепленной на грузовом валу;
- водила 18 с тремя сателлитами 16;
- корончатого колеса 17.
Грузовой вал со стороны редуктора опирается на два подшипника качения, закрепленных в разъеме корпуса редуктора. Противоположный конец грузового вала уложен в разъемный подшипник скольжения стойки 13. Вал на стойку опирается через сидящую на нем ступицу корончатого колеса планетарной ступени 14. Планетарная передача, являющаяся последней понижающей ступенью силовой передачи лебедки, используется также для отключения буксирного барабана на время травления каната ходом судна. Отключение буксирного барабана от Расчет основных деталей траловых лебедокмеханизма лебедки достигается расслаблением фрикционной ленты пружинного датчика 21, который состоит из двух стальных стаканов с набором цилиндрических пружин сжатия и двух стальных полос, обшитых тормозной лентой, соединенных шарнирно между собой и с фундаментной рамой лебедки.
Механизм затяжки тормозных лент ручной, червячного типа. Затянутая на ободе корончатого колеса тормозная лента, опирающаяся на стаканы с пружинами, образует систему, работающую как пружинные весы, реагирующие на изменение тягового усилия в буксирном канате.
Командоаппарат натяжения 10, кулачковый вал которого шарнирно связан рычажным приводом через универсальную кулису с пружинным датчиком, с возрастанием усилия в буксирном канате выше заданного значения производит при автоматическом управлении включение электродвигателя на травление каната, а при уменьшении усилия – на выбирание.
Для поддержания установленной длины вытравленного буксирного каната при автоматической работе во время буксировки на лебедке установлен командоаппарат пути 23. Он обеспечивает также снижение скорости травления, подачу светового сигнала после стравливания 35 м буксирного каната и отключение электродвигателя лебедки при стравливании 50 м каната. Командоаппарат пути приводится в действие валиковым приводом 22 с коническим зубчатым колесом, входящим в зацепление с ведущей конической шестерней, закрепленной на буксирном барабане. Командоаппарат имеет циферблат с делениями и стрелку, указывающую длину буксирного каната в метрах, автоматически вытравленного при буксировке. Конструкция командоаппарата позволяет производить установку кулачкового вала на нуль или его отключение от валикового привода.
Контроль длины вытравленного буксирного каната (независимо от способа управления лебедкой) осуществляется указателем 24, который механически связан с барабаном через муфту, закрепленную на консольном конце ведущего вала командоаппарата пути.
Для определения усилия, действующего в буксирном канате, лебедка имеет указатель тягового усилия 1 рычажного типа со стрелкой и шкалой, оттарированной в тоннах по третьему и пятому слою навивки каната на барабане.
Предлагается к прочтению: Траловые лебедки с приводом от двигателя внутреннего сгорания
Равномерная укладка буксирного каната на барабане осуществляется канатоукладчиком 2, который приводится валиковым приводом 4 с коническими и цилиндрическими зубчатыми колесами. При ручной укладке каната на барабане каретка канатоукладчика перемещается по своим направляющим вращением маховика 3.
Для проворачивания механизма лебедки вручную (например, для смазки узлов) предусмотрена съемная рукоятка 6, надеваемая на ведущий вал редуктора со стороны центробежного тормоза.
Для буксировки на застопоренном барабане, при выключенном электродвигателе, буксирный барабан ставят на стопор 11.
В таблице ниже приведены основные технические характеристики российских буксирных лебедок.
| Основные характеристики российских буксирных лебедок | |||||||||||
|---|---|---|---|---|---|---|---|---|---|---|---|
| Марка | Тип лебедки | Номинальное тяговое усилие, кН (тс) | Диаметр буксирного троса, мм | Скорость выбирания буксира при номинальном тяговом усилии, м/мин | Канатоемкость барабана, м | Мощность электропривода лебедки, кВт | Род тока и напряжение, В | Масса лебедки, т | |||
| на главном барабане | на вспомогательном барабане | на главном барабане | на вспомогательном барабане | главного | вспомогательного | ||||||
| ЛЭ30 | Автоматическая, с одним главным и одним вспомогательным барабанами | 392,4 (40) | 147,1 (15) | 65 | 43,5 | 5,3 | 500 | 300 | 53 | Переменный, 220 | 67,8 |
| ЛЭ47 | Автоматическая, с одним главным и одним вспомогательным барабанами и двумя швартовными турачками | 245,2 (25) | 98,1 (10) | 52 | 32,5 | 10 | 500 | 500 | 75 | Переменный, 220 | 37,1 |
| ЛЭ66 | Неавтоматическая, транзитная с вьюшкой | 392,4 (40) | – | 65 | – | 13,5 | 7 (число витков) | 500 (вьюшка) | 90 (барабан) 27 (вьюшка) | Постоянный, 380 | 63,8 |
| ЛЭ39 | Неавтоматическая, с одним буксирным барабаном и двумя швартовными турачками | 147,1 (15) | – | 47,5 | – | 15 | 400 | – | 44 | Постоянный, 220 | 20,5 |
| ЛЭ38 | Автоматическая, с одним буксирным барабаном и двумя швартовными турачками | 176,6 (18) | – | 47,5 | – | 8,5 | 500 | – | 42 | Постоянный, 220 | 18,3 |
| ЛЭ35 | Автоматическая, с одним буксирным барабаном и двумя швартовными турачками | 245,2 (25) | – | 52 | – | 9,3 | 600 | – | 32 | Постоянный, 220 | 26,9 |
Промысловые механизмы
Что такое промысловые лебедки?
Промысловые лебедки – это одно из важнейших средств механизации тяги орудий рыболовства. С помощью этих лебедок выбирают:
- ваера;
- кабели трала;
- стяжной трос и т. д.
Промысловые лебедки классифицируют по различным признакам:
- по видам лова – траловые, дрифтерные (шпили), неводные и др.;
- по назначению – одноцелевые и многоцелевые (комбинированные) – траловые;
- по конструктивным признакам – многооперационные (несколько барабанов для тяги различных канатов орудия лова объединены единым приводом) и операционные (каждый барабан, предназначенный для тяги одного каната орудия, имеет свой индивидуальный привод – ваерные, проводниковые лебедки и т. д.);
- по типу рабочих барабанов – с навивными или фрикционными барабанами;
- по количеству барабанов – одно-, двух-, трех- и многобарабанные;
- по количеству валов – одно-, двух- и трехвальные;
- по роду привода – с приводом от ДВС, с паровым, электрическим и гидравлическим приводами;
- по месту размещения двигателя – с нераздельным и раздельным приводами;
- по тяговому усилию, диапазону скоростей тяги, методам регулирования скоростей и пр.
Эффективность промысловых механизмов в рыбной промышленности напрямую зависит от таких ключевых устройств, как траловые лебедки.
Что такое траловые лебедки?
Траловые лебедки – это основные промысловые механизмы, обеспечивающие выполнение всех необходимых операций спуска-подъема трала и производство вспомогательных и грузовых работ, связанных с промыслом. Разнообразие траловых операций определяет основные конструктивные особенности траловых лебедок.
Необходимо, чтобы траловая лебедка имела не менее двух ваерных барабанов и до восьми вспомогательных барабанов – турачек. В такой нераздельной траловой лебедке барабаны должны быть соединены на валах так, чтобы можно было выполнить максимальное число операций путем рационального переключения барабанов. Привод лебедки и прочность ее деталей должны обеспечивать широкий диапазон скоростей и нагрузок выбирания и травления ваеров. Современные Судовые гидравлические траловые лебедкитраловые лебедки имеют дистанционное управление, сигнализацию и автоматические приспособления, обеспечивающие безаварийную и эффективную работу.
Ваерные барабаны должны соединяться с валами с помощью муфт включения для возможности вращения вместе с валами (при выбирании ваеров) и свободного вращения на валах (при травлении ваеров). Следует обеспечить возможность включения и выключения барабанов, как без нагрузки, так и под нагрузкой. Ваерные барабаны должны быть снабжены:
- тормозами, обеспечивающими частичное торможение барабанов при травлении ваеров и удержание барабанов в стопорном положении в процессе траления;
- устройством для автоматического растормаживания барабанов (в процессе траления) при увеличении нагрузок на ваера выше допустимых (при зацепах трала);
- автоматическими канатоукладчиками, синхронно работающими с барабанами.
На рис. 3 представлен общий вид электрической траловой лебедки ЛЭТр2-6М с двумя ваерными барабанами и двумя турачками.

Лебедка имеет следующие характеристики:
- суммарное тяговое усилие 2×60 кН (2×6 тс);
- средняя скорость выбирания ваеров 60 м/мин;
- диаметр ваера 26 мм;
- канатоемкость 2×2 500 м;
- мощность привода 146 кВт;
- масса лебедки 18 т.
Основы расчета траловых лебедок
К основным Определение основных параметров траловых лебедокпараметрам траловой лебедки, которые должны быть указаны в техническом задании на проектирование, относятся:
- номинальное тяговое усилие на ваере у барабана;
- диаметр и рабочая длина ваера;
- тяговое усилие и скорость выбирания канатов на турачках и их размеры.
Назначение указанных параметров зависит от многих условий:
- выбора промысловой схемы;
- учета изменения в широких пределах нагрузок на ваера и сил, их вызывающих;
- необходимой производительности промысловых операций и т. п.
В современных лебедках:
- тяговое усилие ваерных барабанов достигает 295 кН (30 тс);
- канатоемкость 5 000-6 000 м;
- скорость выбирания – травления ваеров 120-140 м/мин;
- мощность привода лебедки – до 500 кВт.
Определение основных размеров ваерного барабана. Диаметр барабана зависит от диаметра ваера dв. Диаметр барабана лебедок колеблется в пределах:
Для увеличения срока службы ваеров диаметр ваерного барабана не рекомендуется принимать менее 20 dв, особенно у лебедок с большим тяговым усилием на ваер. Шаг навивки вдоль барабана:
где:
- a – расстояние между витками.
Тогда, полезная длина барабана:
Количество витков по длине барабана в одном слое:
Число слоев m на барабане можно определить по формуле:
где:
- C = Dб/dв.
Диаметр реборды Dр определяется из конструктивных соотношений:
где:
- Dm – диаметр витка последнего ряда:
Канатоемкость ваерного барабана определяется по формуле:
где:
- L – канатоемкость барабана, м;
- Lб – длина барабана (между ребордами), м;
- Dр – диаметр реборды, м;
- Dб – диаметр барабана, м;
- dв – диаметр ваера, м;
- ψ – коэффициент заполнения барабана канатом:
- ψ = 0,66 для ручного ваероукладчика;
- ψ = 0,85 для механического ваероукладчика.
Различают две канатоемкости:
- полную Lп;
- рабочую Lр,
причем:
Определение мощности приводного электродвигателя. Мощность электродвигателя траловой лебедки Nэ, кВт, определяют по формуле:
где:
- Pв – суммарное тяговое усилие на ваерах, кН;
- vв – скорость выбирания ваера, м/с;
- ηл – КПД траловой лебедки:
где:
- ηб – КПД ваерных барабанов с учетом жесткости каната, ηб = 0,96;
- ηп – КПД подшипников, ηп = 0,97-0,99 (нижний предел – для подшипников скольжения, верхний – для подшипников качения);
- n – число пар подшипников;
- ηз – КПД зубчатых зацеплений, ηз = 0,96-0,97;
- ηч – КПД червячного редуктора, ηч = 0,7-0,8;
- ηву – КПД винтового ваероукладчика, ηву = 0,94-0,96.
По полученной мощности подбирают требуемый электродвигатель.
Читайте также: Грузоподъемные механизмы современных морских судов
Определение основных размеров вала ваероукладчика. Подсчитывают частоту вращения приводного нарезного вала ваероукладчика, приходящуюся на один оборот ваерного барабана:
где:
- z1 – число зубьев шестерни привода ваероукладчика на ваерном барабане;
- z2 – число зубьев шестерни на промежуточном приводном валике;
- zч – число заходов червяка в приводе к ваероукладчику;
- zк – число зубьев червячного колеса на нарезном валу ваероукладчика.
Исходя из условия, что за один оборот ваерного барабана Электрические траловые лебёдки на промысловых судахкаретка ваероукладчика должна переместиться на расстояние, равное одному диаметру ваера, из соотношения:
определяется шаг резьбы на приводном валу ваероукладчика:
где:
- dв – диаметр ваера, мм;
- nв – частота вращения винта ваероукладчика, приходящаяся на один оборот ваерного барабана;
- a = 0,5-1,0 мм.
Пример 1
Определить размеры реборды барабана ваерной лебедки, если известно, что в качестве ваера длиной 2 000 м использован стальной канат диаметром dв = 25,5 мм, расстояние между витками каната a = 0,5 мм, полезная длина барабана Lб = 1 040 мм.
Принимаем диаметр барабана:
Шаг укладки каната по формуле 1:
Число витков каната в одном слое навивки:
Необходимое число слоев навивки по формуле 4, при C = 20:
Диаметр 17-го слоя по формуле 6:
Диаметр реборды по формуле 5:
Пример 2
Определить канатоемкость барабана траловой лебедки, если на него наматывается ваер – стальной канат диаметром, dв = 27 мм с шагом навивки t = 28 мм.
Барабан имеет диаметр Dб = 0,57 м, диаметр реборд Dр = 1,6 м, полезная длина барабана Lб = 1,4 м.
Коэффициент заполнения барабана канатом ψ = 0,85.
Диаметр навивки последнего слоя принимаем на 60 мм меньше диаметра реборды, т. е. Dm = 1,54.
В соответствии с формулой 7:
Пример 3
Какой длины канат диаметром dв = 22 мм можно поместить на барабан лебедки, характеристики которой приведены в предыдущей задаче. Коэффициент заполнения барабана принят ψ = 0,85. По формуле 7:
Переход с ваера dв = 27 мм на ваер dв = 22 мм приводит к увеличению канатоемкости барабана более чем на 1 400 м.
