Системы общесудового назначения представляют собой разветвленный комплекс трубопроводов, механизмов и приборов, охватывающих все пространство корпуса от киля до надстроек. Изучая основные виды систем на судне, важно разделять их по функциональному признаку: в отличие от энергетических установок, отвечающих за ход, общесудовые системы поддерживают общую работоспособность инженерного сооружения. Они обеспечивают живучесть, безопасность мореплавания, сохранность перевозимого груза и создание необходимых санитарно-бытовых условий для жизни и работы экипажа.
- Назначение, составные части и классификация судовых систем
- Конструктивные элементы трубопроводов систем
- Трубы
- Путевые соединения
- Фасонные части
- Арматура
- Осушительная система
- Балластная система
- Противопожарные системы
- Санитарные системы
- Система водоснабжения
- Системы сточная, фановая и шпигатов
- Системы отопления
- Системы вентиляции
В данном материале мы последовательно рассмотрим классификацию систем, их устройство и специфические задачи – от необходимых для непотопляемости осушительных и балластных систем до систем вентиляции и водоснабжения, формирующих необходимый микроклимат и санитарные условия на борту. Знание конструктивных особенностей и правил эксплуатации этих систем является фундаментом для обеспечения безаварийной эксплуатации современного судна.
Назначение, составные части и классификация судовых систем
Для обеспечения нормальной и безопасной работы судна, а также для создания соответствующих условий пребывания на нем людей служат судовые системы. Под Судовые системы и трубопроводысудовой системой понимается сеть трубопроводов с механизмами, аппаратами и приборами, выполняющая на судне определенные функции. С помощью судовых систем осуществляются:
- прием и удаление водяного балласта;
- борьба с пожарами;
- осушение отсеков судна от скапливающейся в них воды;
- снабжение пассажиров и экипажа питьевой и мытьевой водой;
- удаление нечистот и загрязненной воды;
- поддержание необходимых параметров (кондиций) воздуха в помещениях.
На судах особого назначения (танкерах, ледоколах, рефрижераторах) эксплуатация судовых систем протекает в специфических условиях, требующих установки специального оборудования. Так, танкеры оснащают системами, предназначенными для приема и выкачки жидкого груза, его подогрева в целях облегчения перекачки, мытья танков и их зачистки от остатков нефтепродуктов.
Сложное устройство судовых систем и их конструктивное многообразие напрямую зависят от широкого спектра выполняемых ими задач и типа оборудования.
В состав судовых систем входят:
- трубопроводы, состоящие из соединенных между собой отдельных труб и арматуры (задвижек, клапанов, кранов), которая служит для включения или выключения системы и ее участков, а также для различных регулировок и переключений;
- механизмы (насосы, вентиляторы, компрессоры), сообщающие механическую энергию протекающей через них среде и обеспечивающие перемещение последней по трубопроводам;
- сосуды (цистерны, баллоны и др.) для хранения той или иной среды;
- различные аппараты (подогреватели, охладители, испарители и др.), служащие для изменения состояния среды;
- средства управления системой и контроля за ее работой.
Из перечисленных механизмов и аппаратов в каждой данной судовой системе могут быть лишь некоторые из них. Это зависит от назначения системы и характера выполняемых ею функций.
Кроме систем общесудового назначения, на судне имеются системы, которые обслуживают Судовые энергетические установки в морской отраслисудовую энергетическую установку. На дизельных судах эти системы снабжают главные и вспомогательные двигатели:
- топливом,
- маслом,
- охлаждающей водой,
- сжатым воздухом.
Обычно судовые системы классифицируют или по роду среды, перемещаемой по трубопроводам, или по назначению и характеру выполняемых ими функций.
В зависимости от рода транспортируемой среды системы разделяют на:
- водопроводы,
- паропроводы,
- воздухопроводы,
- рассолопроводы,
- газопроводы,
- нефтепроводы.
Такая классификация удобна для гидравлического расчета трубопроводов, который зависит главным образом от рода транспортируемой среды и режима ее движения. Для изучения судовых систем классификация по данному признаку неудобна, так как иногда в одних и тех же системах применяют трубопроводы для воды, пара, рассола и др. Так, например, в состав системы кондиционирования воздуха входят:
- паропроводы,
- рассолопроводы,
- воздухопроводы.
Для наиболее эффективного изучения и проектирования классификация судовых систем общесудового назначения по функциям и их целевому назначению считается наиболее оправданной. Такой системный подход позволяет объединять однородные по своему устройству, принципам эксплуатации и характеру работы комплексы в четко структурированные группы. Исходя из этих признаков, все судовые системы принято разделять на:
- осушительные;
- балластные;
- противопожарные;
- санитарные (водоснабжения, сточная, фановая);
- искусственного микроклимата (вентиляции, отопления, кондиционирования воздуха);
- специальные для нефтеналивных судов.
Конструктивные элементы трубопроводов систем
Надежная работа всей сети обеспечивается грамотным подбором комплектующих, которые должны соответствовать стандартам прочности и коррозийной стойкости. Все элементы судового трубопровода подбираются исходя из назначения системы, давления рабочей среды и типа судна. К этим элементам относятся:
- трубы;
- путевые соединения;
- фасонные части;
- арматура.
Трубы
Трубы характеризуются материалом, из которого изготовляются, диаметром и толщиной стенки. В системах судов внутреннего плавания применяют главным образом трубы из углеродистой стали:
- бесшовные,
- электросварные,
- водогазопроводные (газовые).
Последние поставляют с резьбой на обоих концах или без нее. Водяные трубопроводы делают из стальных оцинкованных труб; они обладают большей коррозийной стойкостью, чем неоцинкованные.
В системах Виды парящих судов на подводных крыльяхсудов на подводных крыльях для уменьшения массы используют трубы из алюминиевых сплавов. Размеры труб, изготовляемых российскими заводами, марки материалов и требования к трубам определяются соответствующими государственными стандартами.
Для сокращения числа типоразмеров труб, используемых при постройке судов, в судостроении введены нормали, ограничивающие государственные стандарты. Это позволяет существенно снизить стоимость постройки и ремонта судовых систем. Кроме отраслевых стандартов, регламентирующих размеры труб и технические требования к последним, имеются государственные стандарты, устанавливающие условные проходы, условные, рабочие и пробивные давления для труб, арматуры и соединительных частей трубопроводов. Под условным проходом для трубопроводных элементов понимают номинальный внутренний диаметр в миллиметрах. Для арматуры условный проход равен фактическому внутреннему диаметру. Выбор труб, деталей соединения, фасонных частей и арматуры на основе условного прохода обеспечивает конструктивное соответствие их при комплектовании в трубопровод. Размеры условных проходов регламентированы СТ СЭВ 254-76, который устанавливает следующие проходы: 10; 15, 20, 25, 32, 40, 50, 65, 80, 100, 125, 150, 200, 250, 300, 350, 400 и др. Условный проход сокращенно обозначается Dу с добавлением его цифрового значения в миллиметрах, например Dу150.
При гидравлических расчетах трубопроводов их внутренние диаметры обычно принимают равными диаметрам условных проходов. Зная условный проход и толщину стенки трубы, по государственному стандарту подбирают ее наружный диаметр. При выборе размера трубы стремятся к тому, чтобы диаметр условного прохода мало отличался от ее внутреннего диаметра. Расхождение между ними не должно превышать 10 %. В противном случае гидравлический расчет выполняют по фактическому внутреннему диаметру трубы.
Предположим, что в результате расчетов были установлены условный проход трубы Dу = 150 мм и толщина стенки s = 5 мм. При данных Dу и s наружный диаметр трубы составит:
В ГОСТ 10704-76 указаны трубы с наружным диаметром dн равным 159 и 168 мм. Выбираем трубу с dн = 159 мм. Внутренний диаметр ее:
т. е. на 1 мм меньше расчетного.
Путевые соединения
При Изготовление трубопроводов и монтаж систем на суднемонтаже трубопроводов на судне приходится соединять трубы между собой, а также с арматурой, механизмами и другим оборудованием. Для этого используют соединительные детали, которые обычно называют путевыми соединениями, или соединительной арматурой.
В конструкциях трубопроводов путевые соединения труб на судне подразделяются на:
- разъемные,
- неразъемные.
К разъемным соединениям относят:
- фланцевые,
- штуцерно-торцовые,
- фитинговые,
- дюритовые,
а к неразъемным:
- сварные,
- паяные.
В судовых системах главным образом применяют разъемные соединения. Они позволяют во время эксплуатации и ремонта системы разбирать и собирать трубопровод. Неразъемные соединения получили распространение на участках трубопроводов, расположенных в труднодоступных местах и не требующих разборки в обычных условиях работы системы.
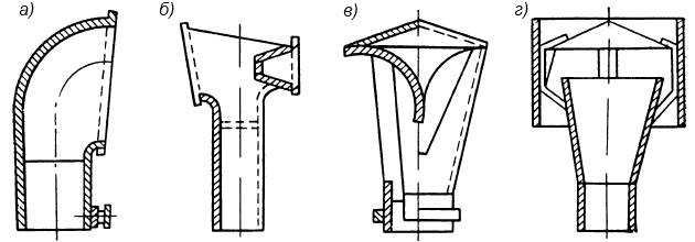
Фасонные части
Для присоединения ответвлений трубопроводов служат фасонные части:
- литые колена (рис. 1, а);
- литые (рис. 1, б) и сварные (рис. 1, в) тройники;
- крестовины и др.
Фасонные части трубопроводов изготовляют сварными или литыми. Чтобы обеспечить непроницаемость судовых конструкций, в местах прохода через них труб устанавливают переборочные стаканы с приварышами (рис. 1, г).

Переборочный стакан крепят к приварышу 2 средним фланцем 1, а для того, чтобы концевой фланец 3 прошел через переборку, в последней делают отверстие диаметром несколько большим, чем его диаметр. С помощью приварыша не только крепят переборочные стаканы, но и непосредственно соединяют трубы и арматуру со стенками цистерн и других конструкций.
Кроме фасонных частей, в трубопроводах применяют компенсаторы, служащие для восприятия температурных удлинений или возможных смещений труб, вызываемых деформацией судовых конструкций. Компенсаторы как самостоятельные детали монтируют только в трубопроводах больших диаметров и длин. Для большинства же систем в качестве их используют изогнутые участки труб (самокомпенсаторы). К элементам судовых конструкций трубы крепят с помощью подвесок и опор (кронштейнов) из полосовой или профильной стали, охватывающих одну или несколько близко расположенных труб.
Арматура
Чтобы каждая система на судне могла выполнять свои функции, на трубопроводах системы размещают арматуру, с помощью которой осуществляют пуск:
- включают и выключают отдельные участки трубопроводов;
- изменяют режим работы системы;
- регулируют давление среды, протекающей в трубопроводах, и т. п.
Наиболее распространенной запорной Арматура судовых систем – классификация, особенности эксплуатацииарматурой в судовых системах являются клапаны и задвижки (клинкеты), показанные на рис. 2.

а – клапан; б – задвижка (клинкет)
Запор в клапане (рис. 2, а) осуществляется тарелкой 7, прижимаемой шпинделем 3 к уплотнительным поверхностям 8 и 9 в тарелке и корпусе 11 клапана. При вращении маховика 1 шпиндель благодаря нарезке на его наружной поверхности и неподвижной втулке 2 с внутренней нарезкой перемещается относительно корпуса клапана и поднимает или опускает тарелку. Чтобы обеспечить герметичность, в месте прохода шпинделя через крышку 10 корпуса клапана установлен сальник, состоящий из:
- нажимной втулки 4;
- набивки 5;
- опорного кольца 6.
Для контроля за положением тарелки в корпусе клапана есть указатель хода, перемещающийся между рисками 0 и 3, которые соответствуют полному открытию или закрытию клапана.
В целях образования уплотнительных поверхностей на клапаны из углеродистой стали наплавляют специальные стали (например, 2×13) или в тарелку и корпус вставляют кольца из бронзы или нержавеющей стали. У стального клапана уплотнительные поверхности выполнены наплавкой. Тарелку у чугунных клапанов часто изготовляют из бронзы. Уплотнительную поверхность в корпусе клапана (седло) делают в виде бронзового вставного кольца.
Предлагается к прочтению: Системы пожарной сигнализации и защиты на наливных судах
Тарелки из бронзы применяют и в стальных клапанах. На трубопроводах клапаны всегда устанавливают таким образом, чтобы внутреннее давление жидкости в трубопроводах приходилось под тарелку клапана. В этом случае обеспечивается герметичность сальника при закрытом клапане.
По направлению движения потока жидкости клапаны разделяют на:
- проходные,
- угловые.
В проходных клапанах направление движения потока жидкости до и после них не изменяется, в угловых же за клапаном оно изменяется на 90° по отношению направления движения потока жидкости перед клапаном. Угловые клапаны оказывают большее сопротивление протеканию жидкости, чем проходные.
Задвижки имеют затвор в виде диска (клина или шибера).
Что такое клинкет?
Клинкет – это тип трубопроводной арматуры (задвижка), получивший широкое распространение в судовой практике, отличительной особенностью которого является затвор в виде клиновидного диска (рис. 2, б). Проход в клинкете закрывается клином 10, который прижимается к уплотнительным поверхностям, сделанным в корпусе клинкета 11. Поднимается и опускается клин с помощью ходовой гайки 9 и шпинделя 8, приводимого во вращение рукояткой 1. Ходовая гайка при вращении шпинделя получает поступательное движение вверх или вниз, увлекая за собой клин. При верхнем положении клин размещается в нише 6, образуемой корпусом и крышкой 7 клинкета. Герметичность места прохода шпинделя через крышку корпуса клинкета обеспечивается сальником, состоящим, как и у клапана (см. рис. 2, а), из:
- опорного кольца 5;
- набивки 4;
- втулки 3.
Задвижка снабжена указателем 2 «Открыто» и «Закрыто». Клинкеты имеют меньшее гидравлическое сопротивление и меньшие размеры, чем клапаны с такими же условными проходами, однако уступают им в плотности перекрывания трубопровода из-за трудности пригонки клина к уплотнительным поверхностям корпуса клинкета. Поэтому их применяют при умеренных давлениях протекающей среды в трубопроводах с условным проходом Dу > 50 мм. Широкое распространение в судовых системах получили клапанные коробки (рис. 3).

Число клапанов в коробке может достигать шести.
Осушительная система
Во время эксплуатации судна в его корпусе постепенно скапливается некоторое количество воды. Она может проникать через неплотности в соединениях труб и арматуры, через сальники насосов и дейдвудной трубы, появляться вследствие конденсации водяных паров и небольшой подтечности корпуса и т. д. Для удаления воды из корпуса служит Трюмные системы – виды и принцип действия на суднеосушительная система, с помощью которой осушают:
- грузовые трюмы;
- машинное отделение;
- пиковые отсеки;
- цепные ящики и другие отсеки, в которых она может скапливаться.
Своевременное удаление воды из грузовых трюмов предохраняет от увлажнения и подмочки перевозимые грузы. На рефрижераторных судах чрезмерное скопление воды может привести в негодность изоляционные конструкции холодильных трюмов. Удаление вовремя воды из машинного отделения будет препятствовать повышению ее уровня до таких пределов, при которых нарушаются нормальные условия работы обслуживающего персонала и эксплуатация главных двигателей и вспомогательных механизмов.
Осушительная система судна состоит из:
- осушительных средств (насосов, эжекторов);
- осушительного трубопровода;
- средств контроля за уровнем трюмной воды.
Ее предусматривают на всех судах.
Согласно Правилам Речного Регистра РФ каждое самоходное судно с главными двигателями общей мощностью 220 кВт и более должно иметь не менее двух осушительных механических насосов, один из которых независимого (автономного) действия, другой может приводиться от главного двигателя. Разрешается один из насосов заменять эжектором. В качестве автономного осушительного насоса могут быть использованы имеющие достаточную подачу балластные или другие насосы общесудового назначения. Одним из осушительных средств может быть пожарный насос при условии, что осушение машинного отделения будет осуществляться водоструйным эжектором. На судах с главными двигателями мощностью менее 220 кВт в качестве одного из осушительных средств может быть применен ручной насос, а в качестве другого – водоструйный эжектор.
На несамоходных и стоечных судах, оборудованных источником энергии, и на стоечных судах, получающих электропитание с берега, необходимо иметь насос с механическим приводом или водоструйный эжектор и ручной насос с подачей не менее 3,5 м3/ч. Несамоходные суда, эксплуатируемые без экипажа, осушают средствами толкача-буксира или портового судна.
Наличие воды в трюмах контролируют, непосредственно измеряя ее уровень, или с помощью системы сигнализации, которую обычно выполняют из электрических элементов.
Осушительная система удаляет воду из корпуса судна прямо за борт, за исключением воды, скапливающейся под сланью машинного отделения, которая загрязнена нефтепродуктами (топливом, маслом). Причиной загрязнения подсланевой воды нефтепродуктами является протекание их через неплотности в соединениях топливных и масляных трубопроводов и арматуры, а также через сальники топливных и масляных насосов. Удалять такую воду за борт запрещается Санитарными правилами, соблюдение требований которых обязательно для речных и озерных судов. Поэтому осушительные системы снабжают специальными сосудами (цистернами) для сбора подсланевых вод. Из этих цистерн загрязненная нефтепродуктами вода передается в береговые или плавучие станции для очистки.
Для очистки подсланевых вод от нефтепродуктов многие суда оборудуют специальными очистительными установками. Содержание нефтепродуктов в откачиваемых за борт водах не должно превышать 10 мг/л. Если для перекачки вод в сборную цистерну задействуется осушительный насос, то судовая арматура, позволяющая сбрасывать воду за борт в обход очистной установки, должна быть строго опломбирована.
Чтобы обеспечить наиболее полное осушение отсеков, приемники осушительных труб следует располагать как можно ниже (ближе к обшивке корпуса) и в местах наилучшего стока воды. Система должна исключать возможность попадания воды из-за борта внутрь судна, а также из одного непроницаемого отсека в другой. Осушение каждого отсека должно быть независимо от осушения других. Для этого на приемном трубопроводе осушительной системы размещают клапанные коробки и клапаны невозвратно-запорного типа. Схема осушительной системы морского судна показана на рис. 4.

1 – приемная сетка; 2 – невозвратно-запорная клапанная коробка; 3 – осушительный насос; 4 – невозвратно-запорный клапан; 5 – труба аварийной выкачки подсланевых вод; 6 – запорный клапан; 7 – грязевая коробка; 8 – трехходовый кран; 9 – цистерна подсланевых вод
Балластная система
Данная система служит для придания судну необходимых мореходных и эксплуатационных качеств изменением осадки, крена и дифферента. Балластными системами, используемыми для изменения осадки, оборудуют суда внутреннего и смешанного плавания (река-море). Прием балласта (перед выходом в море) приводит к увеличению осадки, что в свою очередь повышает Поперечная остойчивость суднаостойчивость судна и снижает ветровую нагрузку, улучшая управляемость. Балластировку на буксирных судах применяют также в целях сохранения наивыгоднейшей (расчетной) осадки, изменяющейся по мере расхода запасов топлива, и обеспечения работы движителя с максимальным КПД. Балластной системой оборудуют нефтеналивные суда.
В группу балластных систем входят креновые и дифферентные системы. Креновые системы служат для устранения или компенсации кренящих моментов, возникающих от несимметрично расположенных грузов относительно диаметральной плоскости судна. Эти системы характерны главным образом для специальных судов.
Дифферентными системами оборудуют грузовые и ледокольные суда. Дифферент в корму, который создается у грузовых судов при плавании порожнем, снижает устойчивость их на курсе и затрудняет управляемость. Нежелательный дифферент устраняют, принимая воду в носовые балластные цистерны.
Креново-дифферентная система является неотъемлемой частью нефтеналивных судов, на которых ее используют для придания крена и дифферента, необходимых при погрузке и выгрузке нефтепродуктов.
Балластная система состоит из:
- цистерн (отсеков) для водяного балласта;
- насосов и трубопроводов для его приема и выкачки;
- измерительных труб или других средств для контроля количества принятого балласта;
- воздушных труб для обеспечения входа воздуха в балластные цистерны и выхода из них.
Балластные цистерны стремятся располагать, возможно, ниже, что способствует повышению остойчивости судна и облегчает их наполнение (при расположении цистерн ниже ватерлинии они могут быть наполнены самотеком).
К балластной системе предъявляют следующие основные требования:
- она должна обеспечивать заполнение и опорожнение любой одной цистерны или одновременно нескольких или всех цистерн;
- при необходимости перекачку балласта из одной цистерны в другую;
- устройство ее должно исключать возможность попадания воды, как из-за борта, так и из балластных цистерн в другие цистерны и отсеки.
Для размещения Грузовые помещения и балластные цистерныбалластных цистерн обычно используют форпик и ахтерпик, на судах с двойным дном – отсеки междудонного пространства. Типовая схема балластной системы показана на рис. 5.

1 – приемник; 2 – невозвратно-запорный клапан; 3 – клапанная коробка; 4 – насос; 5 – днищевый кингстон
Для облегчения всасывания приемники на трубах изготовляют в виде раструбов. Сетки и грязевые коробки на приемных трубах из балластных цистерн не устанавливают.
Противопожарные системы
Пожар на судне является большим бедствием. Он уничтожает материальные ценности, а иногда приводит к гибели людей. Особенно большой ущерб причиняют пожары на судах:
- пассажирских,
- грузопассажирских,
- нефтеналивных.
В частности, при пожаре на нефтеналивном судне возможен взрыв, и путь к спасению людей и судна могут преградить горящие на поверхности воды нефтепродукты.
Причинами пожара на судах могут быть:
- неосторожное и небрежное обращение с огнем;
- неисправность электропроводки;
- неисправность или неправильная эксплуатация электрического и теплообменного оборудования;
- попадание искр на горючие материалы и др.
Как показывает практика, примерно половина всех случаев Пожарная безопасность и борьба с пожарами на судахпожара на судах возникает из-за неосторожного и небрежного обращения с огнем. Поэтому как экипаж, так и пассажиры должны строго соблюдать правила противопожарной безопасности.
Довольно часто пожары возникают от попадания искр на горючие материалы. Это в первую очередь происходит на судах, перевозящих легкогорючие материалы (хлопок, кудель и т. п.) и легковоспламеняющиеся жидкости. Источником искр могут быть газы, выходящие из газовыпускных труб энергетической установки и дымовых труб отопительных агрегатов. Кроме того, искры могут возникать во время выполнения сварочных работ, при ударе металла о металл и от других причин. Следует помнить, что незначительных причин для пожара нет и что его легче предупредить, чем потушить.
Для борьбы с пожарами суда оборудуют противопожарными системами, которые бывают:
- сигнальные,
- тушащие.
Первые служат для выявления очага пожара, вторые – для его ликвидации.
Судовые противопожарные системы по роду используемого огнегасительного вещества подразделяют на:
- водяные противопожарные (водотушения, спринклерная, водораспыления);
- паротушения;
- пенотушения;
- газотушения (углекислотная и инертных газов);
- жидкостного тушения.
По способу тушения пожара различают поверхностные и объемные системы. Первые служат для подачи на поверхность очага пожара вещества, которое охлаждает или прекращает доступ кислорода в зоне горения. К ним относят:
- водяные системы,
- системы пенотушения.
В группу систем объемного тушения входят системы, заполняющие свободный объем помещения не поддерживающими горения парами, газами или весьма легкой пеной. При выборе типа Противопожарные системы и их эксплуатация на танкерахсистемы пожаротушения для помещений судов внутреннего плавания следует руководствоваться Правилами Речного Регистра РФ.
Большое значение в борьбе с пожарами на судах имеет своевременная сигнализация о возникновении пожара, так как чем раньше обнаружен очаг загорания, тем легче его ликвидировать. Эту задачу выполняет пожарная сигнализация. К ней относят:
- устройства, приборы и оборудование, служащие для автоматической передачи на пост управления судном, и центральный пост управления (ЦПУ) сигналов о начавшемся пожаре и месте его возникновения или о наличии реальной пожарной опасности в каком-либо отсеке или помещении судна;
- устройства ручной пожароизвещательной сигнализации, позволяющие лицу, обнаружившему пожар, немедленно сообщить на пост управления судном и в ЦПУ о возникновении пожара;
- авральную сигнализацию (звонки, колокола громкого боя, ревуны и пр.), служащую для оповещения всего личного состава судна о возникновении пожара.
Пост управления судном размещают в рулевой рубке, а ЦПУ – в машинном отделении или рядом с ним.
На всех судах мощностью более 165 кВт, а также на всех пассажирских судах (независимо от мощности) следует устанавливать автоматически действующую пожарную сигнализацию. Сигнал, поданный автоматической или ручной пожарной сигнализацией, поступает на специальный щит, смонтированный на соответствующем посту, и фиксируется на нем. Сигнал тревоги личному составу (сигнализация оповещения) можно подавать с поста вручную или автоматически. Машинные, котельные и насосные отделения, а также другие пожароопасные места оборудуют автоматически действующей пожарной сигнализацией. Датчики ручной пожароизвещательной сигнализации устанавливают в:
- коридорах;
- вестибюлях;
- жилых, служебных и общественных помещений.
В состав автоматической пожарной сигнализации входят следующие основные элементы:
- датчики-извещатели, располагаемые в охраняемых помещениях и вырабатывающие при пожаре соответствующие импульсы;
- приемная аппаратура, воспринимающая импульсы и преобразующая их в сигналы оповещения;
- соединительные линии, связывающие извещатели с приемной аппаратурой;
- источники питания, снабжающие электрической энергией систему пожарной сигнализации.
С помощью системы водотушения пожар тушат мощными струями воды. Эта система проста, надежна и получила широкое распространение на речных и морских судах. Основными ее элементами являются:
- пожарные насосы;
- магистральный трубопровод с отростками;
- пожарные краны (рожки);
- шланги (рукава) со стволами (брандспойтами).
При тушении пожара шланги со стволами присоединяют к пожарным кранам.
Систему водотушения применяют для тушения пожара:
- в грузовых трюмах сухогрузных судов;
- в машинных отделениях;
- в жилых, служебных и общественных помещениях;
- на открытых участках палуб, платформ, рубок и надстроек.
Кроме того, ее можно использовать для:
- подачи воды к пенообразующим установкам и системе орошения палубы;
- мытья палуб, помещений, устройств и т. д.
Тушить горящие нефтепродукты с помощью системы водотушения нельзя, так как частицы их разбрызгиваются струями воды, что способствует распространению пожара. Мощными струями воды также не тушат пожары электрооборудования (вследствие электропроводности воды), лаков и красок.
В качестве пожарных насосов на судах обычно применяют одноколесные Судовые центробежные насосы – конструкция, характеристики и основы эксплуатациицентробежные насосы. Типовая схема системы водотушения представлена на рис. 6.

1 – кран (рожок) пожарный; 2 – кольцевая магистраль; 3 – разобщительный клапан; 4 – кингстон; 5 – пожарный насос; 6 – ящик забортной воды
В соответствии с требованием Речного Регистра РФ истечение воды должно происходить при давлении у каждого пожарного крана не менее 0,25 МПа.
Получили распространение системы водораспыления и орошения. Распыленная вода является одним из важных средств борьбы с пожаром. Над очагом пожара при мелком ее распылении создается большая поверхность испарения, что повышает эффективность охлаждения и увеличивает скорость процесса испарения. При этом практически вода вся испаряется и образуется обедненная кислородом паровоздушная прослойка, отделяющая очаг пожара от окружающего воздуха.
Систему водораспыления применяют во время тушения пожаров нефтепродуктов. Морские суда для тушения пожара остатков тяжелых нефтепродуктов (мазута, смазочных масел и др.) в машинных и котельных отделениях оборудуют системой водораспыления с распылителями (рис. 7).

1 – штифт; 2 – насадка
Наличие штифта у распылителя обеспечивает распыление воды до мелкой водяной пыли, выходящей из насадки в виде почти горизонтального веера. Диаметр выходного отверстия водораспылителя принимают равным 3-7 мм, а напор воды – 40 м. На 1 м2 площади орошаемой поверхности подается 0,2-0,3 л/с воды.
Располагают систему водораспыления в один или несколько ярусов, причем расстояние между распылителями в них принимают равным 1,2-1,5 м.
Если вода распыливается до туманообразного состояния, ею можно тушить пожары нефтепродуктов всех классов. Для распыления воды до туманообразного состояния применяют сферические и полусферические распылители с большим количеством отверстий диаметром 1-4 мм. Число отверстий может достигать 50-70 при их размещении в 2-8 рядов с общей площадью отверстий до 1 000 мм2. При этом для распыления воды требуется напор не менее 40-50 м.
Расход воды колеблется от 0,25 до 0,4 л/с на 1 м2 площади горения. Для распыления воды можно применять сжатый воздух. При давлении воздуха 0,6-0,8 МПа его расход в 20-30 раз превышает расход воды.
Читайте также: Судовые газоотводные системы танкеров
Распыленную воду используют также в системах орошения и для создания водяных завес, которые защищают помещения от возникновения и распространения пожара. Систему орошения применяют для орошения палуб нефтеналивных судов, перевозящих нефтепродукты I и II классов. Такой системой оборудуют помещения, предназначенные для хранения взрывчатых или легковоспламеняющихся веществ. При этом она включается в действие автоматически. Водяные завесы устраивают для того, чтобы препятствовать распространению огня в помещениях и на палубах с большими площадями пола.
Орошение палубы нефтеналивного судна позволяет снизить ее температуру, вследствие чего уменьшаются потери от испарения жидкого груза и одновременно снижается пожарная опасность. Наибольший эффект от действия системы орошения достигается в том случае, когда поверхность палубы смачивается слоем воды минимальной толщины. При этом вода быстрее испаряется и происходит более интенсивное охлаждение палубы.
Широкое применение на судах внутреннего плавания получили системы пенотушения. Принцип действия систем пенотушения основан на изоляции очага пожара от доступа кислорода воздуха покрытием горящих предметов слоем химической или воздушно-механической пены. Химическую пену получают в результате реакции специально подобранных щелочных и кислотных соединений в присутствии стабилизаторов. Последние интенсифицируют процесс пенообразования и способствуют получению устойчивой мелкоячеистой структуры пены. Воздушно-механическую пену получают вследствие механического смещения пенообразователя с водой и воздухом. Химической реакции при этом не происходит.
Для приготовления химической пены используют специальные пеногенераторы (рис. 8).

1 – входной патрубок с соплом; 2 – корпус; 3 – крышка; 4 – бункер; 5 – сетка; 6 – уплотнительное кольцо; 7 – невозвратный шаровой клапан; 8 – пружина; 9 – выходной патрубок; 10 – кронштейн
Пенопорошок засыпают в бункер с защитной сеткой. В нижнюю часть корпуса из трубопровода подают воду, которая, выходя из сопла, подсасывает через невозвратный шаровой клапан порошок и увлекает его в напорный трубопровод. Вследствие смешения порошка и воды в выходном диффузоре-патрубке за пеногенератором образуется пена. Последнюю можно также получить в аккумуляторах, представляющих собой закрытые сосуды (баки), содержащие определенное количество пенопорошка. При подаче воды в аккумулятор образуется пена, которая направляется к месту пожара.
Химическая пена является достаточно эффективным средством тушения пожара. Однако она оставляет следы на многих ценных материалах и грузах и небезопасна при тушении электрических установок, являясь, хотя и плохим, но все же проводником электрического тока. Кроме того, пенопорошок при длительном хранении теряет пенообразующие качества.
На Преимущества внутреннего водного транспорта, логистика и правовые особенностисудах внутреннего плавания для тушения пожаров применяют воздушно-механическую пену. Систему воздушно-механического пенотушения используют для тушения любых пожаров, в том числе и для тушения всех горящих нефтепродуктов.
Пенообразователем (ПО) для получения воздушно-механической пены является пенообразующая жидкость. Различают пенообразователи:
- ПО-1,
- ПО-1А,
- ПО-6 и др.
Состав по объему воздушно-механической пены, получаемой из пенообразователя ПО-6, примерно следующий: 90 % воздуха, 9,6 % воды и 0,4 % пенообразователя.
Воздушно-механическая пена, полученная из пенообразователя ПО-6, имеет меньшую кратность расширения, чем пена, приготовленная из пенообразователя ПО-1, но стойкость ее в 2 раза больше. Под кратностью расширения принимается отношение объема полученной пены к объему раствора (эмульсии). Бывают пены малой кратности расширения 10 и высокократные 100.
В системе воздушно-механического пенотушения (рис. 9) жидкий пенообразователь хранится в цистерне 1, из которой он при открывании пускового клапана 2 направляется по трубопроводу 3 через дозирующий клапан 4 во всасывающий трубопровод центробежного насоса 6.

Забортная вода к насосу 6 поступает через кингстон 5. Смесь забортной воды и пенообразователя, представляющая эмульсию, подается пожарным насосом в напорный трубопровод 7 системы, откуда через пенный пожарный кран 8 по шлангу она поступает в воздушно-пенный ствол 9, где, соединяясь с воздухом, образует пену.
Достаточно эффективной является система углекислотного тушения. Углекислотная противопожарная система обеспечивает подачу в помещение с очагом пожара углекислого газа. Действие ее основано на принципе создания в зоне очага пожара среды с содержанием кислорода, недостаточным для горения. Систему используют для тушения пожаров в:
- машинных отделениях;
- малярных;
- фонарных;
- кладовых для хранения легковоспламеняющихся материалов и др.
В стационарных системах углекислотного тушения применяют обезвоженную углекислоту. На судне ее хранят в стальных баллонах вместимостью каждый по 40 л. Баллоны заполняют из расчета 0,625 кг углекислоты на 1 л их вместимости, т. е. в стандартном баллоне содержится 25 кг углекислоты.
На станции углекислотного тушения баллоны объединяют в группы (обычно не более 6 шт.), которые сообщают с коллектором. От последнего идут трубопроводы в охраняемые помещения.
Для тушения пожаров используют также ручные углекислотные огнетушители. Они имеют небольшую вместимость:
- ОУ-2 – 2 л;
- ОУ-5 – 5 л;
- ОУ-8 – 8 л.
В системах жидкостного тушения в качестве огнегасящего средства используют смесь, состоящую из 73 % бромистого этила и 27 % тетрафтордибромэтана или из 70 % бромистого этила и 30 % бромистого метилена (по массе). Системы, в которых применяют эти смеси, называются системами СЖБ. Употребляют и другие смеси, например, смесь бромистого этила и углекислоты.
Системы жидкостного тушения получили распространение при тушении пожаров в грузовых танках и насосных отделениях нефтеналивных судов, в топливных цистернах, и также в грузовых трюмах сухогрузных судов. Преимущество системы СЖБ по сравнению с системой углекислотного тушения состоит в том, что огнегасящую жидкость хранят при низком давлении, вследствие чего возможность ее потерь от утечки значительно снижается. Кроме того, жидкость СЖБ по огнегасящим качествам превышает углекислоту: для тушения пожара нефтепродуктов, например, требуется 0,67 кг/мин углекислоты на каждый кубометр объема емкости, а жидкости СЖБ – всего 0,215 кг/мин. Жидкость СЖБ хранят в специальных баллонах и подают к месту очага пожара с помощью сжатого воздуха.
В системе жидкостного тушения (рис. 10) огнегасящая жидкость находится в баллоне 8, а сжатый воздух, необходимый для работы системы, – в баллоне 1.

Система имеет запорные клапаны 2, 4, 5, 6, и 7, причем клапан 2 всегда открыт, его закрывают только при ремонте. Во время возникновения пожара в каком-либо из охраняемых помещений открывают клапаны 4, 7 и один из клапанов 6. Воздух из баллона 1 проходит через редукционный клапан 3, где его давление снижается до 0,5-1 МПа в баллоне 8 и вытесняет огнегасящую жидкость через сифонную трубку 9 в раздаточную магистраль. Из нее жидкость по соответствующему трубопроводу направляют в помещение, где возник пожар. С помощью распылителей жидкость распыливают по всему помещению. По окончании работы системы открывают клапан 5 и продувают магистраль сжатым воздухом. В нормальном положении клапан 5 закрыт.
Для тушения пожара в Машинное отделение и топливные бункерамашинном отделении судна на подводных крыльях типа «Метеор» оборудованы системой пожаротушения, в которой используют огнегасящий состав «3,5», представляющий смесь бромистого этилена и углекислоты. Его хранят в двух баллонах вместимостью каждый по 20 л. В баллонах содержится по 15 кг (10, 35 л) бромистого этила и 6,4 кг (4,93 л) углекислоты. Кроме того, в них накачивают воздух при давлении 4 МПа.
Баллоны устанавливают на станции пожаротушения. Каждый из них имеет головку-затвор, к которой прикреплена труба, соединяющая баллон с кольцевым трубопроводом системы, расположенным в машинном отделении. С помощью головки-затвора огнегасящий состав выпускают из баллона в систему. При чрезмерном повышении давления в баллоне он через сигнально-предохранительный клапан выходит в атмосферу по специальному трубопроводу. При возникновении пожара в машинном отделении срабатывает система сигнализации, на щитке в рубке загорается сигнальная лампа и подается звуковой сигнал.
Система оборудована электрическим и ручным пуском. Последний осуществляется с поста ручного управления. Для электрического пуска головка-затвор на баллоне снабжена специальным пиротехническим устройством, имеющим пиропатрон, взрывающийся при подводе к нему электрического тока. Пороховые газы, образующиеся при этом, воздействуют на ударный шток, который через рычажный механизм освобождает запорное устройство. Под давлением огнегасящего состава открывается клапан и начинается разряд баллона.
Для тушения местных очагов пожара на судах типа «Метеор» имеются огнетушители:
- ОП-5 (4 шт.);
- ОУ-8 (2 шт.).
Особое место занимают системы инертных газов. Рабочей средой в рассматриваемых системах является инертный газ, который не горит и не поддерживает горения. На судах для этой цели используют продукты сгорания жидкого топлива.
Системы инертных газов применяют как основное средство тушения пожара в сухогрузных трюмах и как предупредительное против его возникновения в грузовых трюмах танкеров.
На некоторых морских судах для получения инертного газа устанавливают специальный генератор газа. Он представляет собой автономный агрегат, состоящий из:
- ДВС;
- устройств дожита к ним;
- комплекса оборудования, обеспечивающего очистку и охлаждение газа до температуры не менее 40 °С.
Системами инертных газов на речном транспорте оборудуют танкеры, причем инертный газ используют в качестве предупредительного средства против возникновения пожара.
Как показали исследования, в подпалубном пространстве над поверхностью нефтепродуктов и в окружающих их закрытых помещениях, смежных с грузовыми танками, при определенных условиях создаются взрывные концентрации паров нефтепродуктов. Чтобы исключить их образование, свободные объемы помещений нефтегруза и соседние с ними отсеки заполняют инертными газами.
В системах инертных газов речных танкеров применяют дымовые газы от вспомогательных котлов, содержащие 4,5-5 % кислорода и 12-14 % углекислого газа.
Санитарные системы
Основное назначение санитарных систем – снабжать экипаж и пассажиров водой для бытовых нужд, а также удалять с судна нечистоты и загрязненные (сточные) воды. В состав Санитарные системы – типы и принцип действия на суднесанитарных систем входят системы:
- водоснабжения,
- сточная,
- фановая,
- шпигатов.
Система водоснабжения судна включает в себя трубопроводы (системы):
- питьевой,
- мытьевой,
- забортной воды.
Питьевой водой обеспечивают:
- камбузы,
- заготовочные,
- буфеты,
- столовые,
- рестораны,
- посудомойные,
- все умывальники,
- кипятильники,
- медицинские помещения.
Мытьевая вода (холодная и горячая) подается в:
- душевые,
- прачечные.
Необработанная забортная вода используется для:
- смыва в санузлах;
- охлаждения кипяченой воды в лагунах и для других хозяйственных целей.
Сточная система служит для удаления вод:
- из душевых, прачечных;
- от умывальников и других мест.
С помощью фановой системы удаляют фекальные воды из гальюнов (уборных). Система шпигатов предназначена для удаления:
- с открытых палуб дождевой воды;
- воды, скапливающейся после мытья конструкций и устройств.
Наиболее сложны санитарные системы на пассажирских и туристских судах, где должны быть созданы максимальные удобства для большого числа пассажиров.
Система водоснабжения
Речные суда могут снабжаться питьевой и мытьевой водой:
- из городских водопроводов портов и пристаней или других береговых источников;
- от станций приготовления питьевой воды (СППВ), устанавливаемых непосредственно на судне;
- со специальных судов-водолеев, принимающих воду из городских водопроводов или приготовляющих ее в собственных СППВ.
Преимуществом снабжения судов водой из городских водопроводов является высокая надежность данного способа. Однако использование его связано с необходимостью периодического подхода судов к местам заправки водой, на что затрачивается дополнительное время, если этот процесс не совпадает с периодами погрузки-выгрузки судна. Кроме того, из-за отдаленности мест заправки водой приходится устанавливать на судах дополнительные цистерны для питьевой и мытьевой воды, которые зачастую сложно разместить, особенно на буксирах-толкачах и пассажирских судах. Определенные трудности обусловлены необходимостью консервации воды и санитарно-гигиеническим контролем ее качества. Этот способ наиболее пригоден для местных и стоечных судов, а также для судов технического флота.
Преимуществом Технологии водоснабжения морских судов – от опреснения до кондиционированияводоснабжения судов с помощью СППВ является автономность, вследствие чего создаются лучшие условия обеспечения водой пассажиров и экипажа. Однако СППВ должны гарантировать требуемое количество воды при высокой надежности работы и умеренных трудовых затратах на их техническое обслуживание.
Система питьевой воды включает в себя целый комплекс различного оборудования. Она состоит из:
- цистерны для приема и хранения воды;
- пневмоцистерны (гидрофора);
- водонагревателей и электрокипятильников;
- водоразборных колонок (фонтанчиков);
- трубопроводов с арматурой;
- установки для очистки и бактериологической обработки забортной воды;
- приборов контроля и автоматизации управления;
- санитарных насосов.
В соответствии с предъявляемыми требованиями питьевая вода должна быть чистой, без специфических запахов и привкусов и безопасной в эпидемиологическом отношении (не содержать болезнетворных бактерий и вредных примесей). Качество ее должно удовлетворять требованиям государственного стандарта на воду для судов.
К качеству мытьевой воды предъявляются почти те же требования, что и к питьевой. Она также должна быть безопасной в эпидемиологическом отношении и очищена от механических примесей. Поэтому на речных судах обычно предусматривают объединенную систему питьевой и мытьевой воды и выполняют ее в соответствии с требованиями, предъявляемыми к системе питьевой воды. При объединенной системе уменьшается число насосов, гидрофоров, труб, арматуры и сокращаются трудовые затраты на техническое обслуживание. При оборудовании судов раздельными системами питьевой и мытьевой воды каждая из них должна быть полностью автономной.
Питьевую воду на судне хранят во вкладных цистернах. Допускается применение цистерн, выгороженных в корпусе судна и его надстройках. При этом цистерны не должны граничить с забортной водой и сосудами для любых других жидкостей. Палуба, ограничивающая цистерну сверху может иметь набор внутри цистерн.
Через цистерну питьевой воды не должны проходить трубопроводы, не связанные с работой системы. Дно цистерны делают с уклоном и снабжают пробкой или краном для полного осушения цистерны в случае необходимости (например, при окраске). Для осмотра, ремонта и чистки цистерны на ней предусматривается лаз, плотно закрываемый крышкой.
Рекомендуется к прочтению: Системы инертных газов на современных танкерах
Цистерны питьевой и мытьевой воды снабжают наливными, приемными (расходными) воздушными трубами. Для замера количества питьевой воды в цистернах нужно применять автоматические и другие устройства (датчики типа УУЖЭК, указательные колонки и т. п.), исключающие возможность ее загрязнения. Использовать для этого метршток не разрешается. Мытьевую воду можно замерять посредством измерительных труб с постоянными метрштоками, закрепленными на палубных втулках.
Наполнять цистерны питьевой водой с берега или с судов-водолеев следует по специальному трубопроводу, обеспечивающему ее прием с обоих бортов. Приемные отростки наливных труб должны возвышаться над палубой не менее чем на 0,4 м и иметь надежное закрытие, предотвращающее загрязнение воды. Чтобы избежать загрязнения воды через наружные концы воздушных труб, их надо выполнять в виде гуська или снабжать каким-либо защитным устройством.
Стенки цистерн из углеродистой стали изнутри необходимо защищать стойким покрытием. Не разрешается устанавливать запасные цистерны питьевой воды в машинно-котельных отделениях, а также в одном отсеке с цистернами для факельных и других стоков и мусора.
Для автоматизации подачи воды к потребителям устанавливают пневмоцистерну (гидрофор), представляющую собой герметический резервуар, в верхней части которого находится сжатый воздух, а в нижней – вода. Подключающиеся к трубопроводу системы водоснабжения потребителей получают воду, вытесняемую из пневмоцистерны под давлением сжатого воздуха. Когда давление воздуха в пневмоцистерне снизится до заданного минимального значения, автоматически включается подкачивающий насос и пополняет ее водой до тех пор, пока давление воздуха не достигнет заданного максимального значения. После этого насос автоматически отключается, и вода к потребителю вновь подается под давлением сжатого воздуха.
Максимальное давление в пневмоцистернах речных судов обычно составляет 0,3-0,4 МПа, минимальное – 0,15-0,2 МПа.
Принципиальная схема установки пневмоцистерны дана на рис. 11.

1 – электросеть; 2 – термическое реле выключения электродвигателя; 3 – реле давления; 4 – манометр; 5, 10 – уровни воды при выключении и включении насоса; 6 – подвод сжатого воздуха; 7 – подача воды к потребителям; 8 – указательная колонка; 9 – предохранительный клапан; 11 – пневмоцистерна; 12 – насос; 13 – электродвигатель; 14 – фильтр; 15 – подвод воды к насосу
Вода в пневмоцистерну подается центробежным электронасосным агрегатом, который включается и останавливается автоматически с помощью реле давления. В случае перегрева электродвигатель под воздействием термического реле автоматически отключается от электросети, и насос останавливается. Предохранительный клапан срабатывает при повышении давления не более чем 1,2 давления, при котором выключается насос.
По способу обеззараживания воды различают хлораторные, с бактерицидными лампами и озонаторные, причем последние получили наибольшее применение на судах. Это объясняется тем, что обеззараживание воды озонированием в гигиеническом отношении является наиболее совершенным. При озонировании устраняются привкусы и запахи, выделяемые некоторыми водорослями и микроорганизмами. Озон действует в 15-20 раз быстрее хлора, а потребность в нем в 2,5 раза меньше при достижении равного эффекта. После обработки хлором вода имеет зеленовато-желтый цвет, озонирование придает ей голубой оттенок. Обеззараживание воды озоном способствует удалению из нее железа и марганца.
Озонирование является универсальным методом обработки воды, так как проявляет свое действие одновременно в бактериологическом и физическом отношениях. Минеральные вещества с химической точки зрения (растворенные в воде и определяющие в некоторой степени ее питательные вещества) после озонирования не изменяются. Вместе с тем при обработке воды озоном в нее не вносятся никакие дополнительные посторонние вещества, как, например, при хлорировании.
В качестве примера рассмотрим схему станции «Озон-0,5» производительностью 0,5 м3/ч (рис. 12), которая работает следующим образом.

1 – ящик забортной воды; 2 – насос забортной воды; 3 – песочный фильтр; 4 – эжектор-смеситель; 5 – контактная колонка; 6 – накопительная цистерна; 7 – дренажный трубопровод; 8 – насос питьевой воды; 9 – пневмоцистерна; 10 – керамический распылитель; 11 – трубопровод озоновоздушной смеси; 12 – озонаторный агрегат; 13 – электромагнитный клапан; 14 – редукционный клапан
Электронасосный агрегат забортной воды подает забортную воду в песочный фильтр, где она предварительно очищается от взвешенных примесей. Профильтрованная вода через сетчатый фильтр (на схеме не показан) поступает в эжектор-смеситель, где смешивается с озоновоздушной смесью, всасываемой из озонаторного агрегата. Озонированная вода направляется в контактную колонку для вторичного контактирования с озоном. Из нее питьевая вода поступает в накопительную цистерну, которая заполняется автоматически. При достижении в накопительной цистерне минимального уровня воды через поплавковое реле включаются насос забортной воды, озонаторный агрегат и Системы общесудовой вентиляции и кондиционирования воздухавентиляционное устройство, и, наоборот, при достижении в ней максимального уровня воды указанные агрегаты и устройство отключаются. Воздух в озонаторный агрегат поступает от судовой системы сжатого воздуха под давлением 2,5-3 МПа. В редукционном клапане давление воздуха снижается до 0,1 МПа.
Питьевая вода распределяется по потребителям через пневмоцистерну. Обработанная вода в пневмоцистерну подается насосом питьевой воды, а из нее под давлением 0,15-0,3 МПа – потребителям. При падении давления в пневмоцистерне до 0,15 МПа с помощью манореле включается насос питьевой воды, а при достижении давления 0,3 МПа он этим же манореле автоматически отключается.
Системы сточная, фановая и шпигатов
На всех судах для удаления сточных вод и нечистот из уборных, общих умывальных, душевых, прачечных, помещений пищевого блока, от умывальников устраивают трубопроводы сточной и фановой систем. Согласно требованиям Санитарных правил сточно-фановая системы должны быть закрытого типа, при которой сточные воды и нечистоты отводятся в фекальные (сточные) цистерны, откуда их перекачивают в береговые сосуды или плавучие станции сбора фекальных и сточных вод.
Взамен общей канализации допускается раздельная для фекальных и хозяйственных стоков. При этом в фекальные цистерны следует включать стоки от:
- индивидуальных и общих уборных;
- прачечных;
- умывальника судовой амбулатории;
- изолятора;
- санитарной каюты.
В цистерну для хозяйственных стоков включают стоки от:
- умывальников,
- моечных,
- ресторанов,
- столовых,
- буфетов,
- камбузов.
Сброс за борт неочищенных и необезвреженных сточных и фекальных вод не разрешается. Система аварийного сброса должна быть опломбирована. Для очистки и обеззараживания сточных и фекальных вод на некоторых судах установлены специальные очистительные станции.
Будет интересно: Системы общесудового назначения
Сборные цистерны сточной и фановой систем выполняют, как правило, с наружной системой набора и закрытыми устройствами для контроля уровня их заполнения. Дно цистерн должно иметь уклон и пробку для полного опорожнения от содержимого. Внутреннюю поверхность цистерн окрашивают кислотоупорной краской. На пассажирских судах необходимо иметь дистанционную сигнализацию предельного уровня заполнения сборных цистерн (80 %).
Цистерны сточных и фекальных вод следует располагать вдали от:
- жилых и служебных помещений;
- постов управления;
- источников теплоты.
Для внутренней обмывки их снабжают перфорированными трубами или другими устройствами, в которые подают воду от трубопровода забортной воды или от противопожарной магистрали.
Сточные и фекальные воды из санитарных помещений поступают в цистерны самотеком, а удаляются из них насосами или эжекторами по трубам, которые заканчиваются на палубе обоих бортов специальными головками унифицированного типа, служащими для присоединения к приемным устройствам береговых или плавучих станций сбора стоков. Приемные трубы необходимо присоединять в самой низкой части цистерн на расстоянии 30-40 мм от их дна.
Трубопроводы от унитазов и писсуаров, как правило, не объединяют с трубами, отводящими воду от ванн, душей или умывальников.
Удаление воды с палуб осуществляется через систему спускных трубопроводов, на приемных концах которых монтируются специальные устройства. Рассматривая принцип работы судовых шпигатов открытых палуб, важно отметить, что они выполняют роль первичных отстойников, предотвращая засорение системы крупным мусором. Шпигаты устанавливаются в самых низких точках непроницаемых палуб для обеспечения эффективного стока. При этом конструктивная схема водоотвода зависит от расположения палубы: если она находится выше палубы надводного борта, вода отводится по трубам напрямую за борт. В случаях, когда помещения расположены ниже уровня надводного борта, стоки направляются в льяла или герметичные сточные цистерны.
Схема удаления воды с верхних палуб и палуб помещений по шпигатным трубам изображена на рис. 13.

С каждой вышележащей палубы вода спускается на нижележащую по шпигатным трубам 1 до тех пор, пока не дойдет до последней открытой палубы над грузовой ватерлинией. Отсюда она через палубный шпигат 2 сливается за борт. Большие массы воды с открытых палуб удаляются через штормовые полупортики 9, устанавливаемые в фальшбортах. С палуб, расположенных ниже грузовой ватерлинии, Методы очистки и обеззараживания сточных вод на морских судахсточные воды спускаются по шпигатным трубам 3 в льяла 4 или цистерны загрязненной воды.
От засорения шпигатные трубы предохраняют шпигаты 6, снабженные решетками 7, козырьками 8 и имеющие полости а. Чтобы предотвратить проникновение запаха из сточных отсеков, на шпигатных трубах, отводящих воду из закрытых помещений, устанавливают сифоны 5. Бортовые отверстия шпигатных труб, отводящих воду из закрытых помещений, оборудуют захлопками, исключающими попадание в них забортной воды при волнении. Системы шпигатов с открытых палуб выполняют из стальных труб, на судах с корпусами из алюминиевых сплавов – из легкого сплава. Для закрытых помещений их можно изготовлять из полиэтиленовых труб.
Системы отопления
Рассматриваемые системы служат для обогревания различных судовых помещений.
Отопление бывает:
- водяное,
- паровое,
- воздушное,
- электрическое.
Паровое отопление как наименее гигиеничное допускается только для машинных, хозяйственных и бытовых помещений судов. На вновь строящихся судах обычно устраивают водяное или воздушное отопление. Последним оборудованы, в частности, суда типов «Ракета» и «Метеор». Для обогревания помещений во время длительных стоянок на этих судах имеется электрическое отопление, осуществляемое за счет электроэнергии, получаемой с берега.
К системам отопления предъявляются следующие основные требования:
- каждый отопительный прибор должен иметь устройство для регулирования температуры помещения;
- конструкция отопительных приборов должна обеспечивать их быструю чистку от пыли и других загрязнений;
- приборы отопления следует устанавливать, как правило, у бортов или наружных стен надстроек. Не разрешается размещать их у изголовья коек, а также под койками и диванами.
Мы ограничимся рассмотрением системы водяного отопления. Теплоносителем системы служит вода с температурой не ниже 70 °С и не выше 95 °С. Только в закрытых системах отопления ее температура может достигать 115-120 °С. Вода нагревается в котлах-утилизаторах или вспомогательных водогрейных котлах.
Нагретая вода прокачивается через систему циркуляционным насосом или циркулирует вследствие разности плотностей горячей и охлажденной в грелках воды (естественная циркуляция). Систему с естественной циркуляцией называют гравитационной (рис. 14).

1 – ручной насос; 2 – водогрейный котел; 3 – термометр; 4 – водоподогреватель; 5 – расширительный бак; 6 – грелка; 7 – кран; 8 – автоматический воздуховыпускной клапан (вантуз);
– – – – – трубопровод горячей воды; – · – · – · – трубопровод отработавшей воды;
– ·· – ·· – ·· – переливная труба
Нагретая в котле вода поднимается по стояку в расширительный бак, от которого отходят воздушная и переливная трубы. Из бака горячая вода по магистральным трубопроводам подводится к грелкам, расположенным в носу и на корме. Отработавшая вода из грелок опускается по трубам вниз и поступает обратно в котел. Для создания циркуляции в системе во время ее прогрева служит ручной насос.
Системы вентиляции
Эта система используется для удаления избытков теплоты, влаги и вредных газов из судовых помещений путем нагнетания в них свежего наружного воздуха и удаления загрязненного.
Воздух в помещениях портится и становится непригодным вследствие загрязнения его пылью и газами или чрезмерного повышения влажности, или, наконец, перегрева. Известно, например, что человек через дыхательные органы и кожные покровы выделяет теплоту, углекислоту (углекислый газ) и влагу. Количество этих выделений зависит от характера работы, выполняемой исполнителями, и температуры в помещении.
В некоторых судовых помещениях (машинном отделении, камбузе и др.) выделяется большое количество теплоты от установленного в них оборудования. Так как теплоемкость воздуха очень мала, то даже незначительное количество избыточной теплоты, сообщаемое помещению, приводит к быстрому повышению в нем температуры.
По принципу действия вентиляция бывает:
- естественной,
- искусственной.
В отдельных помещениях может применяться одновременно естественная и искусственная вентиляция, называемая смешанной. При естественной вентиляции воздух в помещении меняется естественным путем вследствие разности удельных весов теплого и холодного воздуха или в результате кинетической энергии потока воздуха, омывающего судно, а при искусственной – вентиляторами. Так как вентиляторы при работе создают шум, то их не устанавливают в жилых и служебных помещениях. При Судовые вентиляторы – характеристики и расчет параметроврасположении вентиляторов в коридорах устраивают специальные звукоизолирующие выгородки. Вентиляторы обычно устанавливают на амортизаторы и соединяют с каналами манжетами.
Независимо от принципа действия как естественная, так и искусственная вентиляция бывает трех типов:
- приточная (вдувная);
- вытяжная;
- приточно-вытяжная (комбинированная).
С помощью приточной вентиляции в помещение подается свежий воздух и создается некоторый подпор, в результате чего загрязненный воздух выходит из помещения. При вытяжной вентиляции происходит обратный процесс: загрязненный воздух отсасывается системой вентиляции и в помещении создается разрежение, вследствие чего в помещение поступает свежий воздух. Приточно-вытяжная вентиляция представляет собой комбинацию двух первых типов. Ее применяют во многих судовых помещениях для создания усиленного обмена воздуха.
Распространенным средством естественной вентиляции, использующим ветровой напор, являются дефлекторы. Основные типы судовых дефлекторов показаны на рис. 15.

У дефлекторов (рис. 15, а, б) направление омывающего потока воздуха относительно головки определяет положительное или отрицательное давление внутри дефлектора и его работу на приток или вытяжку. Трехгранный дефлектор (рис. 15, в) используется для работы на приток, а круглый типа ЦАГИ (рис. 15, г) – на вытяжку. Чтобы головки дефлекторов свободно обтекались ветром, дефлекторы устанавливают на 0,6-0,8 м выше расположенных с ними рядом надстроек.
В зависимости от назначения помещений, которые обслуживает система вентиляции, она может быть разделена на следующие группы:
- общесудовая вентиляция, обслуживающая жилые и служебные помещения, камбузы, прачечные и т. п.;
- вентиляция машинных отделений;
- вентиляция грузовых трюмов;
- вентиляция помещений холодильных машин;
- вентиляция насосных отделений танкеров;
- вентиляция аккумуляторных.
Систему вентиляции выполняют по групповому и автономному принципам. Групповой принцип применяют для помещений с одинаковыми параметрами воздуха и одинаковым характером вредных выделений. Автономный принцип используют для вентиляции помещений большого объема (грузовых трюмов, машинных отделений, производственных помещений, кинозалов и др.), а также для таких помещений, как:
- аккумуляторные;
- курительные;
- отделения грузовых насосов на танкерах;
- медицинские изоляторы.
